SPRSPA1B March   2025  – November 2025 AM62L

PRODUCTION DATA  

  1.   1
  2. Features
  3. Applications
  4. Description
    1. 3.1 Functional Block Diagram
  5. Device Comparison
    1. 4.1 Related Products
  6. Terminal Configuration and Functions
    1. 5.1 Pin Diagrams
    2. 5.2 Pin Attributes
      1.      11
      2.      12
    3. 5.3 Signal Descriptions
      1.      14
      2. 5.3.1  ADC
        1. 5.3.1.1 MAIN Domain
          1.        17
      3. 5.3.2  CPSW3G
        1. 5.3.2.1 MAIN Domain
          1.        20
          2.        21
          3.        22
          4.        23
      4. 5.3.3  CPTS
        1. 5.3.3.1 MAIN Domain
          1.        26
      5. 5.3.4  DDRSS
        1. 5.3.4.1 MAIN Domain
          1.        29
      6. 5.3.5  DSI
        1. 5.3.5.1 MAIN Domain
          1.        32
      7. 5.3.6  DSS
        1. 5.3.6.1 MAIN Domain
          1.        35
      8. 5.3.7  ECAP
        1. 5.3.7.1 MAIN Domain
          1.        38
          2.        39
          3.        40
      9. 5.3.8  Emulation and Debug
        1. 5.3.8.1 MAIN Domain
          1.        43
        2. 5.3.8.2 WKUP Domain
          1.        45
      10. 5.3.9  EPWM
        1. 5.3.9.1 MAIN Domain
          1.        48
          2.        49
          3.        50
          4.        51
      11. 5.3.10 EQEP
        1. 5.3.10.1 MAIN Domain
          1.        54
          2.        55
          3.        56
      12. 5.3.11 GPIO
        1. 5.3.11.1 MAIN Domain
          1.        59
        2. 5.3.11.2 WKUP Domain
          1.        61
      13. 5.3.12 GPMC
        1. 5.3.12.1 MAIN Domain
          1.        64
      14. 5.3.13 I2C
        1. 5.3.13.1 MAIN Domain
          1.        67
          2.        68
          3.        69
          4.        70
        2. 5.3.13.2 WKUP Domain
          1.        72
      15. 5.3.14 MCAN
        1. 5.3.14.1 MAIN Domain
          1.        75
          2.        76
          3.        77
      16. 5.3.15 MCASP
        1. 5.3.15.1 MAIN Domain
          1.        80
          2.        81
          3.        82
      17. 5.3.16 MCSPI
        1. 5.3.16.1 MAIN Domain
          1.        85
          2.        86
          3.        87
          4.        88
      18. 5.3.17 MDIO
        1. 5.3.17.1 MAIN Domain
          1.        91
      19. 5.3.18 MMC
        1. 5.3.18.1 MAIN Domain
          1.        94
          2.        95
          3.        96
      20. 5.3.19 OSPI
        1. 5.3.19.1 MAIN Domain
          1.        99
      21. 5.3.20 Power Supply
        1.       101
      22. 5.3.21 Reserved
        1.       103
      23. 5.3.22 System and Miscellaneous
        1. 5.3.22.1 Boot Mode Configuration
          1. 5.3.22.1.1 MAIN Domain
            1.         107
        2. 5.3.22.2 Clock
          1. 5.3.22.2.1 RTC Domain
            1.         110
          2. 5.3.22.2.2 WKUP Domain
            1.         112
        3. 5.3.22.3 System
          1. 5.3.22.3.1 MAIN Domain
            1.         115
          2. 5.3.22.3.2 RTC Domain
            1.         117
          3. 5.3.22.3.3 WKUP Domain
            1.         119
      24. 5.3.23 TIMER
        1. 5.3.23.1 MAIN Domain
          1.        122
        2. 5.3.23.2 WKUP Domain
          1.        124
      25. 5.3.24 UART
        1. 5.3.24.1 MAIN Domain
          1.        127
          2.        128
          3.        129
          4.        130
          5.        131
          6.        132
          7.        133
        2. 5.3.24.2 WKUP Domain
          1.        135
      26. 5.3.25 USB
        1. 5.3.25.1 MAIN Domain
          1.        138
          2.        139
    4. 5.4 Pin Connectivity Requirements
  7. Specifications
    1. 6.1  Absolute Maximum Ratings
    2. 6.2  ESD Ratings
    3. 6.3  Power-On Hours (POH)
    4. 6.4  Recommended Operating Conditions
    5. 6.5  Operating Performance Points
    6. 6.6  Power Consumption Summary
    7. 6.7  Electrical Characteristics
      1. 6.7.1  I2C Open-Drain, and Fail-Safe (I2C OD FS) Electrical Characteristics
      2. 6.7.2  Fail-Safe Reset (FS RESET) Electrical Characteristics
      3. 6.7.3  High-Frequency Oscillator (HFOSC) Electrical Characteristics
      4. 6.7.4  Low-Frequency Oscillator (LFXOSC) Electrical Characteristics
      5. 6.7.5  SDIO Electrical Characteristics
      6. 6.7.6  LVCMOS Electrical Characteristics
      7. 6.7.7  1P8-LVCMOS Electrical Characteristics
      8. 6.7.8  RTC-LVCMOS Electrical Characteristics
      9. 6.7.9  ADC Electrical Characteristics
      10. 6.7.10 DSI (D-PHY) Electrical Characteristics
      11. 6.7.11 USB2PHY Electrical Characteristics
      12. 6.7.12 DDR Electrical Characteristics
    8. 6.8  VPP Specifications for One-Time Programmable (OTP) eFuses
      1. 6.8.1 Recommended Operating Conditions for OTP eFuse Programming
      2. 6.8.2 Hardware Requirements
      3. 6.8.3 Programming Sequence
      4. 6.8.4 Impact to Your Hardware Warranty
    9. 6.9  Thermal Resistance Characteristics
      1. 6.9.1 Thermal Resistance Characteristics for ANB Package
    10. 6.10 Temperature Sensor Characteristics
    11. 6.11 Timing and Switching Characteristics
      1. 6.11.1 Timing Parameters and Information
      2. 6.11.2 Power Supply Requirements
        1. 6.11.2.1 Power Supply Slew Rate Requirement
        2. 6.11.2.2 Power Supply Sequencing
          1. 6.11.2.2.1 No Low-Power Mode Sequencing
          2. 6.11.2.2.2 RTC Only Low-Power Mode Sequencing
          3. 6.11.2.2.3 RTC + IO + DDR Low-Power Mode Sequencing
      3. 6.11.3 System Timing
        1. 6.11.3.1 Reset Timing
        2. 6.11.3.2 Clock Timing
      4. 6.11.4 Clock Specifications
        1. 6.11.4.1 Input Clocks / Oscillators
          1. 6.11.4.1.1 WKUP_OSC0 Internal Oscillator Clock Source
            1. 6.11.4.1.1.1 Load Capacitance
            2. 6.11.4.1.1.2 Shunt Capacitance
          2. 6.11.4.1.2 WKUP_OSC0 LVCMOS Digital Clock Source
          3. 6.11.4.1.3 LFOSC0 Internal Oscillator Clock Source
          4. 6.11.4.1.4 LFOSC0 LVCMOS Digital Clock Source
          5. 6.11.4.1.5 LFOSC0 Not Used
        2. 6.11.4.2 Output Clocks
        3. 6.11.4.3 PLLs
        4. 6.11.4.4 Recommended System Precautions for Clock and Control Signal Transitions
      5. 6.11.5 Peripherals
        1. 6.11.5.1  CPSW3G
          1. 6.11.5.1.1 CPSW3G MDIO Timing
          2. 6.11.5.1.2 CPSW3G RMII Timing
          3. 6.11.5.1.3 CPSW3G RGMII Timing
        2. 6.11.5.2  CPTS
        3. 6.11.5.3  DDRSS
        4. 6.11.5.4  DSI
        5. 6.11.5.5  DSS
        6. 6.11.5.6  ECAP
        7. 6.11.5.7  Emulation and Debug
          1. 6.11.5.7.1 Trace
          2. 6.11.5.7.2 JTAG
        8. 6.11.5.8  EPWM
        9. 6.11.5.9  EQEP
        10. 6.11.5.10 GPIO
        11. 6.11.5.11 GPMC
          1. 6.11.5.11.1 GPMC and NOR Flash — Synchronous Mode
          2. 6.11.5.11.2 GPMC and NOR Flash — Asynchronous Mode
          3. 6.11.5.11.3 GPMC and NAND Flash — Asynchronous Mode
        12. 6.11.5.12 I2C
        13. 6.11.5.13 MCAN
        14. 6.11.5.14 MCASP
        15. 6.11.5.15 MCSPI
          1. 6.11.5.15.1 MCSPI — Controller Mode
          2. 6.11.5.15.2 MCSPI — Peripheral Mode
        16. 6.11.5.16 MMCSD
          1. 6.11.5.16.1 MMC0 - eMMC/SD/SDIO Interface
            1. 6.11.5.16.1.1  Legacy SDR Mode
            2. 6.11.5.16.1.2  High Speed SDR Mode
            3. 6.11.5.16.1.3  High Speed DDR Mode
            4. 6.11.5.16.1.4  HS200 Mode
            5. 6.11.5.16.1.5  Default Speed Mode
            6. 6.11.5.16.1.6  High Speed Mode
            7. 6.11.5.16.1.7  UHS–I SDR12 Mode
            8. 6.11.5.16.1.8  UHS–I SDR25 Mode
            9. 6.11.5.16.1.9  UHS–I SDR50 Mode
            10. 6.11.5.16.1.10 UHS–I DDR50 Mode
            11. 6.11.5.16.1.11 UHS–I SDR104 Mode
          2. 6.11.5.16.2 MMC1/MMC2 - SD/SDIO Interface
            1. 6.11.5.16.2.1 Default Speed Mode
            2. 6.11.5.16.2.2 High Speed Mode
            3. 6.11.5.16.2.3 UHS–I SDR12 Mode
            4. 6.11.5.16.2.4 UHS–I SDR25 Mode
            5. 6.11.5.16.2.5 UHS–I SDR50 Mode
            6. 6.11.5.16.2.6 UHS–I DDR50 Mode
            7. 6.11.5.16.2.7 UHS–I SDR104 Mode
        17. 6.11.5.17 OSPI
          1. 6.11.5.17.1 OSPI0 PHY Mode
            1. 6.11.5.17.1.1 OSPI0 With PHY Data Training
            2. 6.11.5.17.1.2 OSPI0 Without Data Training
              1. 6.11.5.17.1.2.1 OSPI0 PHY SDR Timing
          2. 6.11.5.17.2 OSPI0 Tap Mode
            1. 6.11.5.17.2.1 OSPI0 Tap SDR Timing
            2. 6.11.5.17.2.2 OSPI0 Tap DDR Timing
        18. 6.11.5.18 Timers
        19. 6.11.5.19 UART
        20. 6.11.5.20 USB
  8. Detailed Description
    1. 7.1 Overview
    2. 7.2 Processor Subsystem
      1. 7.2.1 Arm Cortex-A53 Subsystem (A53SS)
    3. 7.3 Other Subsystem
      1. 7.3.1 Data Movement Subsystem (DMSS)
      2. 7.3.2 Peripheral DMA Controller (PDMA)
    4. 7.4 Peripherals
      1. 7.4.1  ADC
      2. 7.4.2  Gigabit Ethernet Switch (CPSW3G)
      3. 7.4.3  DDR Subsystem (DDRSS)
      4. 7.4.4  Display Subsystem (DSS)
      5. 7.4.5  Enhanced Capture (ECAP)
      6. 7.4.6  Error Location Module (ELM)
      7. 7.4.7  Enhanced Pulse Width Modulation (EPWM)
      8. 7.4.8  Enhanced Quadrature Encoder Pulse (EQEP)
      9. 7.4.9  General-Purpose Interface (GPIO)
      10. 7.4.10 General-Purpose Memory Controller (GPMC)
      11. 7.4.11 Global Timebase Counter (GTC)
      12. 7.4.12 Inter-Integrated Circuit (I2C)
      13. 7.4.13 Modular Controller Area Network (MCAN)
      14. 7.4.14 Multichannel Audio Serial Port (MCASP)
      15. 7.4.15 Multichannel Serial Peripheral Interface (MCSPI)
      16. 7.4.16 Multi-Media Card Secure Digital (MMCSD)
      17. 7.4.17 Octal Serial Peripheral Interface (OSPI)
      18. 7.4.18 Timers
      19. 7.4.19 Real-Time Clock (RTC)
      20. 7.4.20 Universal Asynchronous Receiver/Transmitter (UART)
      21. 7.4.21 Universal Serial Bus Subsystem (USBSS)
  9. Applications, Implementation, and Layout
    1. 8.1 Device Connection and Layout Fundamentals
      1. 8.1.1 Power Supply
        1. 8.1.1.1 Power Supply Designs
        2. 8.1.1.2 Power Distribution Network Implementation Guidance
      2. 8.1.2 External Oscillator
      3. 8.1.3 JTAG, EMU, and TRACE
      4. 8.1.4 Unused Pins
    2. 8.2 Peripheral- and Interface-Specific Design Information
      1. 8.2.1 DDR Board Design and Layout Guidelines
      2. 8.2.2 OSPI/QSPI/SPI Board Design and Layout Guidelines
        1. 8.2.2.1 No Loopback, Internal PHY Loopback, and Internal Pad Loopback
        2. 8.2.2.2 External Board Loopback
        3. 8.2.2.3 DQS (only available in Octal SPI devices)
      3. 8.2.3 USB VBUS Design Guidelines
      4. 8.2.4 High Speed Differential Signal Routing Guidance
      5. 8.2.5 Thermal Solution Guidance
    3. 8.3 Clock Routing Guidelines
      1. 8.3.1 Oscillator Routing
  10. Device and Documentation Support
    1. 9.1 Device Nomenclature
      1. 9.1.1 Standard Package Symbolization
      2. 9.1.2 Device Naming Convention
    2. 9.2 Tools and Software
    3. 9.3 Documentation Support
    4. 9.4 Support Resources
    5. 9.5 Trademarks
    6. 9.6 Electrostatic Discharge Caution
    7. 9.7 Glossary
  11.   Revision History
  12. 10Mechanical, Packaging, and Orderable Information
    1. 10.1 Packaging Information

Package Options

Refer to the PDF data sheet for device specific package drawings

Mechanical Data (Package|Pins)
  • ANB|373
Thermal pad, mechanical data (Package|Pins)
Orderable Information
GPMC and NOR Flash — Synchronous Mode

Table 6-61 and Table 6-62 present timing requirements and switching characteristics for GPMC and NOR Flash - Synchronous Mode.

Table 6-61 GPMC and NOR Flash Timing Requirements — Synchronous Mode see Figure 6-50, Figure 6-51, and Figure 6-54
NO. PARAMETER DESCRIPTION MIN MAX UNIT
F12 tsu(dV-clkH) Setup time, GPMC_AD[15:0] valid before GPMC_CLK high 0.92 ns
F13 th(clkH-dV) Hold time, GPMC_AD[15:0] valid after GPMC_CLK high 2.09 ns
F21 tsu(waitV-clkH) Setup time, GPMC_WAIT[j](1)(2) valid before GPMC_CLK high 0.92 ns
F22 th(clkH-waitV) Hold time, GPMC_WAIT[j](1)(2) valid after GPMC_CLK high 2.09 ns
In GPMC_WAIT[j], j is equal to 0 or 1.
Wait monitoring support is limited to a WaitMonitoringTime value > 0. For a full description of wait monitoring feature, see General-Purpose Memory Controller (GPMC) section in the device TRM.
Table 6-62 GPMC and NOR Flash Switching Characteristics – Synchronous Mode see Figure 6-50, Figure 6-51, Figure 6-52, Figure 6-53, and Figure 6-54
NO. PARAMETER DESCRIPTION MIN MAX UNIT
F0 tc(clk) Cycle time, GPMC_CLK(16) 7.52 ns
F1 tw(clkH) Typical pulse duration, GPMC_CLK high 0.475P(13) - 0.3 ns
F1 tw(clkL) Typical pulse duration, GPMC_CLK low 0.475P(13) - 0.3 ns
F2 td(clkH-csnV) Delay time, GPMC_CLK rising edge to GPMC_CSn[i] transition(12) F(5) - 2.2 F(5) + 3.75 ns
F3 td(clkH-CSn[i]V) Delay time, GPMC_CLK rising edge to GPMC_CSn[i] invalid(12) D(4) - 2.2 D(4) + 4.5 ns
F4 td(aV-clk) Delay time, GPMC_A[27:1] valid to GPMC_CLK first edge B(2) - 2.3 B(2) + 4.5 ns
F5 td(clkH-aIV) Delay time, GPMC_CLK rising edge to GPMC_A[27:1] invalid -2.3 4.5 ns
F6 td(be[x]nV-clk) Delay time, GPMC_BE0n_CLE, GPMC_BE1n valid to GPMC_CLK first edge B(2) - 2.3 B(2) + 1.9 ns
F7 td(clkH-be[x]nIV) Delay time, GPMC_CLK rising edge to GPMC_BE0n_CLE, GPMC_BE1n invalid D(4) - 2.3 D(4) + 1.9 ns
F8 td(clkH-advn) Delay time, GPMC_CLK rising edge to GPMC_ADVn_ALE transition G(6) - 2.3 G(6) + 4.5 ns
F9 td(clkH-advnIV) Delay time, GPMC_CLK rising edge to GPMC_ADVn_ALE invalid D(4) - 2.3 D(4) + 4.5 ns
F10 td(clkH-oen) Delay time, GPMC_CLK rising edge to GPMC_OEn_REn transition H(7) - 2.3 H(7) + 3.5 ns
F11 td(clkH-oenIV) Delay time, GPMC_CLK rising edge to GPMC_OEn_REn invalid D(4) - 2.3 D(4) + 3.5 ns
F14 td(clkH-wen) Delay time, GPMC_CLK rising edge to GPMC_WEn transition I(8) - 2.3 I(8) + 4.5 ns
F15 td(clkH-do) Delay time, GPMC_CLK rising edge to GPMC_AD[15:0] transition(9) - 2.3 + 2.7 ns
F15 td(clkL-do) Delay time, GPMC_CLK falling edge to GPMC_AD[15:0] data bus transition(10) - 2.3 + 2.7 ns
F15 td(clkL-do). Delay time, GPMC_CLK falling edge to GPMC_AD[15:0] data bus transition(11) - 2.3 + 2.7 ns
F17 td(clkH-be[x]n) Delay time, GPMC_CLK rising edge to GPMC_BE0n_CLE, GPMC_BE1n transition(9) - 2.3 + 1.9 ns
F17 td(clkL-be[x]n) Delay time, GPMC_CLK falling edge to GPMC_BE0n_CLE, GPMC_BE1n transition(10) - 2.3 + 1.9 ns
F17 td(clkL-be[x]n). Delay time, GPMC_CLK falling edge to GPMC_BE0n_CLE, GPMC_BE1n transition(11) - 2.3 + 1.9 ns
F18 tw(csnV) Pulse duration, GPMC_CSn[i](12) low A(1) ns
F19 tw(be[x]nV) Pulse duration, GPMC_BE0n_CLE, GPMC_BE1n low C(3) ns
F20 tw(advnV) Pulse duration, GPMC_ADVn_ALE low K(14) ns
For single read: A = (CSRdOffTime - CSOnTime) × (TimeParaGranularity + 1) × GPMC_FCLK(15)
For single write: A = (CSWrOffTime - CSOnTime) × (TimeParaGranularity + 1) × GPMC_FCLK(15)
For burst read: A = (CSRdOffTime - CSOnTime + (n - 1) × PageBurstAccessTime) × (TimeParaGranularity + 1) × GPMC_FCLK(15)
For burst write: A = (CSWrOffTime - CSOnTime + (n - 1) × PageBurstAccessTime) × (TimeParaGranularity + 1) × GPMC_FCLK(15)
With n being the page burst access number.
Address bus / Byte Enables become valid at start of cycle, GPMC_CLK activation time may be delayed after start of cycle B = ClkActivationTime × GPMC_FCLK(15)
For single read: C = RdCycleTime × (TimeParaGranularity + 1) × GPMC_FCLK(15)
For single write: C = WrCycleTime × (TimeParaGranularity + 1) × GPMC_FCLK(15)
For burst read: C = (RdCycleTime + (n - 1) × PageBurstAccessTime) × (TimeParaGranularity + 1) × GPMC_FCLK(15)
For burst write: C = (WrCycleTime + (n - 1) × PageBurstAccessTime) × (TimeParaGranularity + 1) × GPMC_FCLK(15)
With n being the page burst access number.
For single read: D = (RdCycleTime - RdAccessTime) × (TimeParaGranularity + 1) × GPMC_FCLK(15)
For single write: D = (WrCycleTime - WrAccessTime) × (TimeParaGranularity + 1) × GPMC_FCLK(15)
For burst read: D = (RdCycleTime - RdAccessTime + (n - 1) × PageBurstAccessTime) × (TimeParaGranularity + 1) × GPMC_FCLK(15)
For burst write: D = (WrCycleTime - WrAccessTime + (n - 1) × PageBurstAccessTime) × (TimeParaGranularity + 1) × GPMC_FCLK(15)
With n being the page burst access number.
For CSn falling edge (CS activated):
  • Case GPMCFCLKDIVIDER = 0:
    • F = 0.5 × CSExtraDelay × GPMC_FCLK(15)
  • Case GPMCFCLKDIVIDER = 1:
    • F = 0.5 × CSExtraDelay × GPMC_FCLK(15) if (ClkActivationTime and CSOnTime are odd) or (ClkActivationTime and CSOnTime are even)
    • F = (1 + 0.5 × CSExtraDelay) × GPMC_FCLK(15) otherwise
  • Case GPMCFCLKDIVIDER = 2:
    • F = 0.5 × CSExtraDelay × GPMC_FCLK(15) if ((CSOnTime - ClkActivationTime) is a multiple of 3)
    • F = (1 + 0.5 × CSExtraDelay) × GPMC_FCLK(15) if ((CSOnTime - ClkActivationTime - 1) is a multiple of 3)
    • F = (2 + 0.5 × CSExtraDelay) × GPMC_FCLK(15) if ((CSOnTime - ClkActivationTime - 2) is a multiple of 3)

For CSn rising edge (CS deactivated) in Reading mode:
  • Case GPMCFCLKDIVIDER = 0:
    • F = 0.5 × CSExtraDelay × GPMC_FCLK(15)
  • Case GPMCFCLKDIVIDER = 1:
    • F = 0.5 × CSExtraDelay × GPMC_FCLK(15) if (ClkActivationTime and CSRdOffTime are odd) or (ClkActivationTime and CSRdOffTime are even)
    • F = (1 + 0.5 × CSExtraDelay) × GPMC_FCLK(15) otherwise
  • Case GPMCFCLKDIVIDER = 2:
    • F = 0.5 × CSExtraDelay × GPMC_FCLK(15) if ((CSRdOffTime - ClkActivationTime) is a multiple of 3)
    • F = (1 + 0.5 × CSExtraDelay) × GPMC_FCLK(15) if ((CSRdOffTime - ClkActivationTime - 1) is a multiple of 3)
    • F = (2 + 0.5 × CSExtraDelay) × GPMC_FCLK(15) if ((CSRdOffTime - ClkActivationTime - 2) is a multiple of 3)

For CSn rising edge (CS deactivated) in Writing mode:
  • Case GPMCFCLKDIVIDER = 0:
    • F = 0.5 × CSExtraDelay × GPMC_FCLK(15)
  • Case GPMCFCLKDIVIDER = 1:
    • F = 0.5 × CSExtraDelay × GPMC_FCLK(15) if (ClkActivationTime and CSWrOffTime are odd) or (ClkActivationTime and CSWrOffTime are even)
    • F = (1 + 0.5 × CSExtraDelay) × GPMC_FCLK(15) otherwise
  • Case GPMCFCLKDIVIDER = 2:
    • F = 0.5 × CSExtraDelay × GPMC_FCLK(15) if ((CSWrOffTime - ClkActivationTime) is a multiple of 3)
    • F = (1 + 0.5 × CSExtraDelay) × GPMC_FCLK(15) if ((CSWrOffTime - ClkActivationTime - 1) is a multiple of 3)
    • F = (2 + 0.5 × CSExtraDelay) × GPMC_FCLK(15) if ((CSWrOffTime - ClkActivationTime - 2) is a multiple of 3)
For ADV falling edge (ADV activated):
  • Case GPMCFCLKDIVIDER = 0:
    • G = 0.5 × ADVExtraDelay × GPMC_FCLK(15)
  • Case GPMCFCLKDIVIDER = 1:
    • G = 0.5 × ADVExtraDelay × GPMC_FCLK(15) if (ClkActivationTime and ADVOnTime are odd) or (ClkActivationTime and ADVOnTime are even)
    • G = (1 + 0.5 × ADVExtraDelay) × GPMC_FCLK(15) otherwise
  • Case GPMCFCLKDIVIDER = 2:
    • G = 0.5 × ADVExtraDelay × GPMC_FCLK(15) if ((ADVOnTime - ClkActivationTime) is a multiple of 3)
    • G = (1 + 0.5 × ADVExtraDelay) × GPMC_FCLK(15) if ((ADVOnTime - ClkActivationTime - 1) is a multiple of 3)
    • G = (2 + 0.5 × ADVExtraDelay) × GPMC_FCLK(15) if ((ADVOnTime - ClkActivationTime - 2) is a multiple of 3)

For ADV rising edge (ADV deactivated) in Reading mode:
  • Case GPMCFCLKDIVIDER = 0:
    • G = 0.5 × ADVExtraDelay × GPMC_FCLK(15)
  • Case GPMCFCLKDIVIDER = 1:
    • G = 0.5 × ADVExtraDelay × GPMC_FCLK(15) if (ClkActivationTime and ADVRdOffTime are odd) or (ClkActivationTime and ADVRdOffTime are even)
    • G = (1 + 0.5 × ADVExtraDelay) × GPMC_FCLK(15) otherwise
  • Case GPMCFCLKDIVIDER = 2:
    • G = 0.5 × ADVExtraDelay × GPMC_FCLK(15) if ((ADVRdOffTime - ClkActivationTime) is a multiple of 3)
    • G = (1 + 0.5 × ADVExtraDelay) × GPMC_FCLK(15) if ((ADVRdOffTime - ClkActivationTime - 1) is a multiple of 3)
    • G = (2 + 0.5 × ADVExtraDelay) × GPMC_FCLK(15) if ((ADVRdOffTime - ClkActivationTime - 2) is a multiple of 3)

For ADV rising edge (ADV deactivated) in Writing mode:
  • Case GPMCFCLKDIVIDER = 0:
    • G = 0.5 × ADVExtraDelay × GPMC_FCLK(15)
  • Case GPMCFCLKDIVIDER = 1:
    • G = 0.5 × ADVExtraDelay × GPMC_FCLK(15) if (ClkActivationTime and ADVWrOffTime are odd) or (ClkActivationTime and ADVWrOffTime are even)
    • G = (1 + 0.5 × ADVExtraDelay) × GPMC_FCLK(15) otherwise
  • Case GPMCFCLKDIVIDER = 2:
    • G = 0.5 × ADVExtraDelay × GPMC_FCLK(15) if ((ADVWrOffTime - ClkActivationTime) is a multiple of 3)
    • G = (1 + 0.5 × ADVExtraDelay) × GPMC_FCLK(15) if ((ADVWrOffTime - ClkActivationTime - 1) is a multiple of 3)
    • G = (2 + 0.5 × ADVExtraDelay) × GPMC_FCLK(15) if ((ADVWrOffTime - ClkActivationTime - 2) is a multiple of 3)
For OE falling edge (OE activated) and IO DIR rising edge (Data Bus input direction):
  • Case GPMCFCLKDIVIDER = 0:
    • H = 0.5 × OEExtraDelay × GPMC_FCLK(15)
  • Case GPMCFCLKDIVIDER = 1:
    • H = 0.5 × OEExtraDelay × GPMC_FCLK(15) if (ClkActivationTime and OEOnTime are odd) or (ClkActivationTime and OEOnTime are even)
    • H = (1 + 0.5 × OEExtraDelay) × GPMC_FCLK(15) otherwise
  • Case GPMCFCLKDIVIDER = 2:
    • H = 0.5 × OEExtraDelay × GPMC_FCLK(15) if ((OEOnTime - ClkActivationTime) is a multiple of 3)
    • H = (1 + 0.5 × OEExtraDelay) × GPMC_FCLK(15) if ((OEOnTime - ClkActivationTime - 1) is a multiple of 3)
    • H = (2 + 0.5 × OEExtraDelay) × GPMC_FCLK(15) if ((OEOnTime - ClkActivationTime - 2) is a multiple of 3)

For OE rising edge (OE deactivated):
  • Case GPMCFCLKDIVIDER = 0:
    • H = 0.5 × OEExtraDelay × GPMC_FCLK(15)
  • Case GPMCFCLKDIVIDER = 1:
    • H = 0.5 × OEExtraDelay × GPMC_FCLK(15) if (ClkActivationTime and OEOffTime are odd) or (ClkActivationTime and OEOffTime are even)
    • H = (1 + 0.5 × OEExtraDelay) × GPMC_FCLK(15) otherwise
  • Case GPMCFCLKDIVIDER = 2:
    • H = 0.5 × OEExtraDelay × GPMC_FCLK(15) if ((OEOffTime - ClkActivationTime) is a multiple of 3)
    • H = (1 + 0.5 × OEExtraDelay) × GPMC_FCLK(15) if ((OEOffTime - ClkActivationTime - 1) is a multiple of 3)
    • H = (2 + 0.5 × OEExtraDelay) × GPMC_FCLK(15) if ((OEOffTime - ClkActivationTime - 2) is a multiple of 3)
For WE falling edge (WE activated):
  • Case GPMCFCLKDIVIDER = 0:
    • I = 0.5 × WEExtraDelay × GPMC_FCLK(15)
  • Case GPMCFCLKDIVIDER = 1:
    • I = 0.5 × WEExtraDelay × GPMC_FCLK(15) if (ClkActivationTime and WEOnTime are odd) or (ClkActivationTime and WEOnTime are even)
    • I = (1 + 0.5 × WEExtraDelay) × GPMC_FCLK(15) otherwise
  • Case GPMCFCLKDIVIDER = 2:
    • I = 0.5 × WEExtraDelay × GPMC_FCLK(15) if ((WEOnTime - ClkActivationTime) is a multiple of 3)
    • I = (1 + 0.5 × WEExtraDelay) × GPMC_FCLK(15) if ((WEOnTime - ClkActivationTime - 1) is a multiple of 3)
    • I = (2 + 0.5 × WEExtraDelay) × GPMC_FCLK(15) if ((WEOnTime - ClkActivationTime - 2) is a multiple of 3)

For WE rising edge (WE deactivated):
  • Case GPMCFCLKDIVIDER = 0:
    • I = 0.5 × WEExtraDelay × GPMC_FCLK (13)
  • Case GPMCFCLKDIVIDER = 1:
    • I = 0.5 × WEExtraDelay × GPMC_FCLK(15) if (ClkActivationTime and WEOffTime are odd) or (ClkActivationTime and WEOffTime are even)
    • I = (1 + 0.5 × WEExtraDelay) × GPMC_FCLK(15) otherwise
  • Case GPMCFCLKDIVIDER = 2:
    • I = 0.5 × WEExtraDelay × GPMC_FCLK(15) if ((WEOffTime - ClkActivationTime) is a multiple of 3)
    • I = (1 + 0.5 × WEExtraDelay) × GPMC_FCLK(15) if ((WEOffTime - ClkActivationTime - 1) is a multiple of 3)
    • I = (2 + 0.5 × WEExtraDelay) × GPMC_FCLK(15) if ((WEOffTime - ClkActivationTime - 2) is a multiple of 3)
Case CLK DIV 1 mode, first transfer only: Data and byte enables transition on rise edge of GPMC_CLK
  • Non-multiplexed mode: data transition at start of cycle
  • Multiplexed mode: data transition at WRDATAONADMUXBUS × (TimeParaGranularity + 1) × GPMC_FCLK(15)
Case CLK DIV 1 mode, all data and byte enables after initial transfer: Data and byte enables transition on fall edge of GPMC_CLK (Half cycle of GPMC_CLK)
Case modes other than CLK DIV 1 mode (GPMC_CLK divided down from GPMC_FCLK): All data and byte enables transition on fall edge of GPMC_CLK (Half cycle of GPMC_CLK). ClkActivationTime, GPMCFCLKDIVIDER, RDACCESSTIME/WRACCESSTIME, and PAGEBURSTACCESSTIME configuration must be configured to enforce data and byte enables transition on falling edge of GPMC_CLK (to be latched on rise edge of GPMC_CLK)
In GPMC_CSn[i], i is equal to 0, 1, 2 or 3.
P = GPMC_CLK period in ns
For read: K = (ADVRdOffTime - ADVOnTime) × (TimeParaGranularity + 1) × GPMC_FCLK(15)
For write: K = (ADVWrOffTime - ADVOnTime) × (TimeParaGranularity + 1) × GPMC_FCLK(15)
GPMC_FCLK is general-purpose memory controller internal functional clock period in ns.
Related to the GPMC_CLK output clock maximum and minimum frequencies programmable in the GPMC module by setting the GPMC_CONFIG1_i configuration register bit field GPMCFCLKDIVIDER.
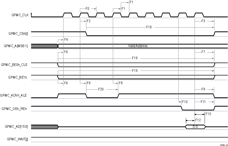
AM62L GPMC and
                    NOR Flash — Synchronous Single Read (GPMCFCLKDIVIDER = 0)
In GPMC_CSn[i], i is equal to 0, 1, 2 or 3.
In GPMC_WAIT[j], j is equal to 0 or 1.
Figure 6-50 GPMC and NOR Flash — Synchronous Single Read (GPMCFCLKDIVIDER = 0)
AM62L GPMC and
                    NOR Flash — Synchronous Burst Read — 4x16–bit (GPMCFCLKDIVIDER = 0)
In GPMC_CSn[i], i is equal to 0, 1, 2 or 3.
In GPMC_WAIT[j], j is equal to 0 or 1.
Figure 6-51 GPMC and NOR Flash — Synchronous Burst Read — 4x16–bit (GPMCFCLKDIVIDER = 0)
AM62L GPMC and
                    NOR Flash—Synchronous Burst Write (GPMCFCLKDIVIDER = 0)
In GPMC_CSn[i], i is equal to 0, 1, 2 or 3.
In GPMC_WAIT[j], j is equal to 0 or 1.
Figure 6-52 GPMC and NOR Flash—Synchronous Burst Write (GPMCFCLKDIVIDER = 0)
AM62L GPMC and
                    Multiplexed NOR Flash — Synchronous Burst Read
In GPMC_CSn[i], i is equal to 0, 1, 2 or 3.
In GPMC_WAIT[j], j is equal to 0 or 1.
Figure 6-53 GPMC and Multiplexed NOR Flash — Synchronous Burst Read
AM62L GPMC and
                    Multiplexed NOR Flash — Synchronous Burst Write
In GPMC_CSn[i], i is equal to 0, 1, 2 or 3.
In GPMC_WAIT[j], j is equal to 0 or 1.
Figure 6-54 GPMC and Multiplexed NOR Flash — Synchronous Burst Write