SBASA73A July 2020 – May 2021 AMC3301-Q1
PRODUCTION DATA
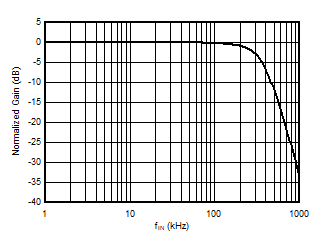
at VDD = 3.3 V, INP = –250 mV to +250 mV, INN = HGND = 0 V, and fIN = 10 kHz (unless otherwise noted)
Figure 6-5 Input
Bias Current vs Common-Mode Input Voltage
Figure 6-7 Input
Bias Current vs Temperature
Figure 6-9 Output Common-Mode Voltage vs Supply Voltage






| VIN = 0.5 Vpp, fIN = 10 kHz |







Figure 6-6 Input
Bias Current vs Supply Voltage
Figure 6-8 Output Voltage vs Input Voltage
Figure 6-10 Output Common-Mode Voltage vs Temperature





| VIN = 0.5 Vpp, fIN = 10 kHz |

| VIN = 0.5 Vpp, fIN = 10 kHz |





