JAJSGS5Q April 2009 – January 2024 TMS320F28030 , TMS320F28030-Q1 , TMS320F28031 , TMS320F28031-Q1 , TMS320F28032 , TMS320F28032-Q1 , TMS320F28033 , TMS320F28033-Q1 , TMS320F28034 , TMS320F28034-Q1 , TMS320F28035 , TMS320F28035-Q1
PRODUCTION DATA
このセクションでは、発振器およびクロック駆動機構、ウォッチドッグ機能、低消費電力モードについて説明します。
| 名称 | アドレス | サイズ (x16) | 説明 (1) |
|---|---|---|---|
| BORCFG | 0x00 0985 | 1 | BOR 構成レジスタ |
| XCLK | 0x00 7010 | 1 | XCLKOUT 制御 |
| PLLSTS | 0x00 7011 | 1 | PLL ステータス レジスタ |
| CLKCTL | 0x00 7012 | 1 | クロック制御レジスタ |
| PLLLOCKPRD | 0x00 7013 | 1 | PLL ロック期間 |
| INTOSC1TRIM | 0x00 7014 | 1 | 内部発振器 1 調整レジスタ |
| INTOSC2TRIM | 0x00 7016 | 1 | 内部発振器 2 調整レジスタ |
| PCLKCR2 | 0x00 7019 | 1 | ペリフェラル クロック制御レジスタ 2 |
| LOSPCP | 0x00 701B | 1 | 低速ペリフェラル クロック プリスケーラ レジスタ |
| PCLKCR0 | 0x00 701C | 1 | ペリフェラル クロック制御レジスタ 0 |
| PCLKCR1 | 0x00 701D | 1 | ペリフェラル クロック制御レジスタ 1 |
| LPMCR0 | 0x00 701E | 1 | 低消費電力モード制御レジスタ 0 |
| PCLKCR3 | 0x00 7020 | 1 | ペリフェラル クロック制御レジスタ 3 |
| PLLCR | 0x00 7021 | 1 | PLL 制御レジスタ |
| SCSR | 0x00 7022 | 1 | システム コントロールおよびステータス レジスタ |
| WDCNTR | 0x00 7023 | 1 | ウォッチドッグ カウンタ レジスタ |
| WDKEY | 0x00 7025 | 1 | ウォッチドッグ リセット キー レジスタ |
| WDCR | 0x00 7029 | 1 | ウォッチドッグ制御レジスタ |
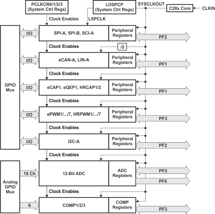
図 7-6 に、説明されている各種クロック ドメインを示します。図 7-7 に、デバイス動作用クロックを供給できる各種クロック ソース (内部と外部の両方) を示します。

