JAJSGF4F November 2012 – September 2021 TMS320F28050 , TMS320F28051 , TMS320F28052 , TMS320F28052-Q1 , TMS320F28052F , TMS320F28052F-Q1 , TMS320F28052M , TMS320F28052M-Q1 , TMS320F28053 , TMS320F28054 , TMS320F28054-Q1 , TMS320F28054F , TMS320F28054F-Q1 , TMS320F28054M , TMS320F28054M-Q1 , TMS320F28055
PRODUCTION DATA
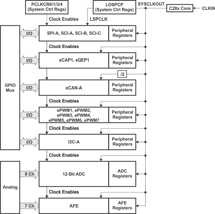
This section describes the oscillator and clocking mechanisms, the watchdog function and the low power modes. Table 8-17 lists the PLL, clocking, watchdog, and low-power mode registers.
| NAME | ADDRESS | SIZE (×16) | DESCRIPTION(1) |
|---|---|---|---|
| BORCFG | 0x00 0985 | 1 | BOR Configuration register |
| XCLK | 0x00 7010 | 1 | XCLKOUT Control |
| PLLSTS | 0x00 7011 | 1 | PLL Status register |
| CLKCTL | 0x00 7012 | 1 | Clock Control register |
| PLLLOCKPRD | 0x00 7013 | 1 | PLL Lock Period |
| INTOSC1TRIM | 0x00 7014 | 1 | Internal Oscillator 1 Trim register |
| INTOSC2TRIM | 0x00 7016 | 1 | Internal Oscillator 2 Trim register |
| LOSPCP | 0x00 701B | 1 | Low-Speed Peripheral Clock Prescaler register |
| PCLKCR0 | 0x00 701C | 1 | Peripheral Clock Control Register 0 |
| PCLKCR1 | 0x00 701D | 1 | Peripheral Clock Control Register 1 |
| LPMCR0 | 0x00 701E | 1 | Low Power Mode Control Register 0 |
| PCLKCR3 | 0x00 7020 | 1 | Peripheral Clock Control Register 3 |
| PLLCR | 0x00 7021 | 1 | PLL Control register |
| SCSR | 0x00 7022 | 1 | System Control and Status register |
| WDCNTR | 0x00 7023 | 1 | Watchdog Counter register |
| PCLKCR4 | 0x00 7024 | 1 | Peripheral Clock Control Register 4 |
| WDKEY | 0x00 7025 | 1 | Watchdog Reset Key register |
| WDCR | 0x00 7029 | 1 | Watchdog Control register |
Figure 8-6 shows the various clock domains that are discussed. Figure 8-7 shows the various clock sources (both internal and external) that can provide a clock for device operation.
