JAJSIZ9E April   2020  – April 2025 AWR6443 , AWR6843

PRODUCTION DATA  

  1.   1
  2. 特長
  3. アプリケーション
  4. 説明
  5. 機能ブロック図
  6. デバイスの比較
    1. 5.1 関連製品
  7. 端子構成および機能
    1. 6.1 ピン配置図
    2. 6.2 信号の説明
      1. 6.2.1 信号の説明 - デジタル
      2. 6.2.2 信号の説明 - アナログ
    3. 6.3 ピン属性
  8. 仕様
    1. 7.1  絶対最大定格
    2. 7.2  ESD 定格
    3. 7.3  電源投入時間 (POH)
    4. 7.4  推奨動作条件
    5. 7.5  ワンタイム プログラマブル (OTP) eFuse の VPP 仕様
      1. 7.5.1 OTP eFuse プログラミングの推奨動作条件
      2. 7.5.2 ハードウェア要件
      3. 7.5.3 ハードウェア保証への影響
    6. 7.6  電源仕様
    7. 7.7  消費電力の概略
    8. 7.8  パワー セーブ モード
    9. 7.9  RF 仕様
    10. 7.10 CPU の仕様
    11. 7.11 FCBGA パッケージの熱抵抗特性 [ABL0161]
    12. 7.12 タイミングおよびスイッチング特性
      1. 7.12.1  電源シーケンスおよびリセット タイミング
      2. 7.12.2  入力クロックおよび発振器
        1. 7.12.2.1 クロック仕様
      3. 7.12.3  マルチバッファ付き / 標準シリアル ペリフェラル インターフェイス (MibSPI)
        1. 7.12.3.1 ペリフェラルの概要
        2. 7.12.3.2 MibSPI 送信および受信 RAM の構成
          1. 7.12.3.2.1 SPI のタイミング条件
          2. 7.12.3.2.2 SPI コントローラ モードのスイッチング パラメータ (クロック位相 = 0、SPICLK = 出力、SPISIMO = 出力、SPISOMI = 入力)
          3. 7.12.3.2.3 SPI コントローラ モードのスイッチング パラメータ (クロック位相 = 1、SPICLK = 出力、SPISIMO = 出力、SPISOMI = 入力)
        3. 7.12.3.3 SPI ペリフェラル モードの I/O タイミング
          1. 7.12.3.3.1 SPI ペリフェラル モードのスイッチング パラメータ (SPICLK = 入力、SPISIMO = 入力、SPISOMI = 出力) #GUID-F179918D-8747-4E9F-AE33-23F33763D52C/T4362547-70 #GUID-F179918D-8747-4E9F-AE33-23F33763D52C/T4362547-71 #GUID-F179918D-8747-4E9F-AE33-23F33763D52C/T4362547-73
        4. 7.12.3.4 代表的なインターフェイス プロトコルの図 (ペリフェラル モード)
      4. 7.12.4  LVDS インターフェイスの構成
        1. 7.12.4.1 LVDS インターフェイスのタイミング
      5. 7.12.5  汎用入出力 (General-Purpose Input/Output)
        1. 7.12.5.1 出力タイミングと負荷容量 (CL) のスイッチング特性
      6. 7.12.6  CAN-FD (Controller Area Network - Flexible Data-rate)
        1. 7.12.6.1 CANx TX および RX ピンの動的特性
      7. 7.12.7  シリアル通信インターフェイス (SCI)
        1. 7.12.7.1 SCI のタイミング要件
      8. 7.12.8  I2C (Inter-Integrated Circuit Interface)
        1. 7.12.8.1 I2C のタイミング要件
      9. 7.12.9  クワッド シリアル ペリフェラル インターフェイス (QSPI)
        1. 7.12.9.1 QSPI のタイミング条件
        2. 7.12.9.2 QSPI 入力 (読み取り) タイミングのタイミング要件
        3. 7.12.9.3 QSPI スイッチング特性
      10. 7.12.10 ETM トレース インターフェイス
        1. 7.12.10.1 ETMTRACE のタイミング条件
        2. 7.12.10.2 ETM TRACE のスイッチング特性
      11. 7.12.11 データ変更モジュール (DMM)
        1. 7.12.11.1 DMM のタイミング要件
      12. 7.12.12 JTAG インターフェイス
        1. 7.12.12.1 JTAG のタイミング条件
        2. 7.12.12.2 IEEE 1149.1 JTAG のタイミング要件
        3. 7.12.12.3 IEEE 1149.1 JTAG の推奨動作条件に対するスイッチング特性
  9. 詳細説明
    1. 8.1 概要
    2. 8.2 機能ブロック図
    3. 8.3 サブシステム
      1. 8.3.1 RF およびアナログ サブシステム
        1. 8.3.1.1 クロック サブシステム
        2. 8.3.1.2 送信サブシステム
        3. 8.3.1.3 受信サブシステム
      2. 8.3.2 プロセッサ サブシステム
      3. 8.3.3 車載用インターフェイス
      4. 8.3.4 ホスト インターフェイス
      5. 8.3.5 メイン サブシステム Cortex-R4F
      6. 8.3.6 DSP サブシステム
      7. 8.3.7 ハードウェア アクセラレータ
    4. 8.4 その他のサブシステム
      1. 8.4.1 ユーザー アプリケーション向け ADC チャネル (サービス)
        1. 8.4.1.1 GP-ADC パラメータ
    5. 8.5 ブート モード
      1. 8.5.1 フラッシュ モード
      2. 8.5.2 機能モード
  10. 監視と診断
    1. 9.1 監視と診断のメカニズム
      1. 9.1.1 エラー通知モジュール
  11. 10アプリケーション、実装、およびレイアウト
    1. 10.1 アプリケーション情報
    2. 10.2 リファレンス回路図
  12. 11デバイスおよびドキュメントのサポート
    1. 11.1 デバイスの命名規則
    2. 11.2 ツールとソフトウェア
    3. 11.3 ドキュメントのサポート
    4. 11.4 サポート・リソース
    5. 11.5 商標
    6. 11.6 静電気放電に関する注意事項
    7. 11.7 用語集
  13.   改訂履歴
  14. 12メカニカル、パッケージ、および注文情報
    1. 12.1 パッケージ情報
    2. 12.2 ABL, 10.4 × 10.4 mm のトレイ情報

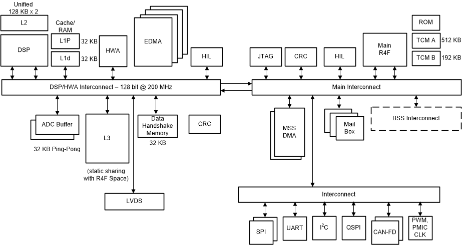
プロセッサ サブシステム

AWR6443 AWR6843 プロセッサ サブシステム 図 8-5 プロセッサ サブシステム

図 8-5に、AWR6843 デバイスのカスタマー プログラマブル プロセッサ サブシステムのブロック図を示します。概念的には、2 つのカスタマー プログラマブル プロセッサ サブシステムが存在し、図に示すように点線で区切られています。左側は DSP サブシステムを示しており、テキサス・インスツルメンツの高性能 C674x DSP、ハードウェア アクセラレータ、高度なパフォーマンスを可能にする高帯域幅インターコネクト (128 ビット、200MHz)、および関連ペリフェラル (データ転送用 DMA 4 つ) が搭載されています。

測定データ出力用の LVDS インターフェイス、L3 レーダー データ キューブ メモリ、ADC バッファ、CRC エンジン、データ ハンドシェイク メモリ (インターコネクト上に搭載された追加メモリ)。

DSP サブシステムの C674x DSP と L1/L2 RAM 部分は AWR6443 デバイスではサポートされていないため、IWR6843 デバイスの 1.75MB に比べて利用可能なメモリは 1.4MB です。各デバイスでサポートされている機能とサポートされていない機能の詳細については、「デバイスの機能の比較」表を参照してください。

図の右側はメイン サブシステムを示しています。メイン サブシステムは、その名の通り、デバイスの中心であり、デバイスのすべてのペリフェラルとハウスキーピング動作を制御します。メイン サブシステムには、Cortex-R4F (メイン R4F) プロセッサと関連ペリフェラルおよびハウスキーピング コンポーネント (例:DMA、CRC、および PCR (ペリフェラル セントラル リソース) インターコネクトを介してメイン インターコネクトに接続されたペリフェラル (I2C、UART、SPI、CAN-FD、PMIC クロック モジュール、PWM など)) が含まれます。

DSP CPU コアの詳細については、http://www.ti.com/product/TMS320C6748 を参照してください。

両方のサブシステムには HIL モジュールが示されており、RF サブシステムを介さずに、外部からデバイスにキャプチャしたデータを供給するレーダー動作を実行するために使用できます。メイン SS 上の HIL は構成の制御用、DSPSS 上の HIL はデバイスへの高速 ADC データ入力用です。どちらの HIL モジュールもデバイス上で同じ IO を使用しており、追加の IO (DMM_MUX_IN) を 1 つ使用することで、2 つのうちのいずれかを選択できます。