SPRUJ79 November 2024 F29H850TU , F29H859TU-Q1
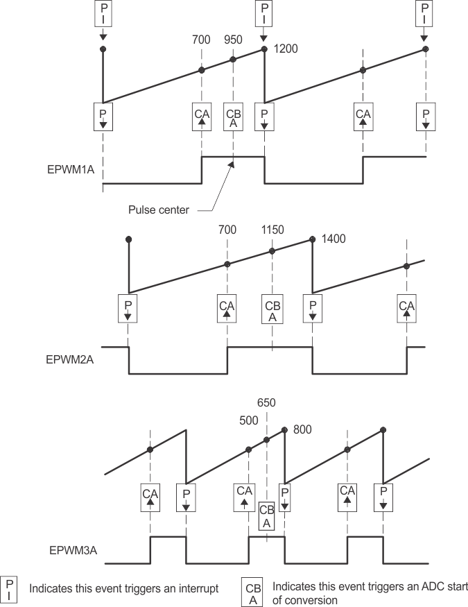
One of the simplest power converter topologies is the buck. A single ePWM module configured as a sync source can control two buck stages with the same PWM frequency. If independent frequency control is required for each buck converter, then one ePWM module must be allocated for each converter stage. Figure 30-90 shows four buck stages, each running at independent frequencies. In this case, all four ePWM modules are configured as Sync Sources and no synchronization is used. Figure 30-91 shows the waveforms generated by the setup shown in Figure 30-90; note that only three waveforms are shown, although there are four stages.
Figure 30-91 Buck Waveforms for Control of Four Buck Stages (Note: Only three bucks shown here)