SLUSBZ1B October   2014  – March 2017

PRODUCTION DATA.  

  1. Features
  2. Applications
  3. Description
  4. Revision History
  5. Pin Configuration and Functions
  6. Specifications
    1. 6.1 Absolute Maximum Ratings
    2. 6.2 ESD Ratings
    3. 6.3 Recommended Operating Conditions
    4. 6.4 Thermal Information
    5. 6.5 Electrical Characteristics
    6. 6.6 Typical Characteristics
  7. Detailed Description
    1. 7.1 Overview
    2. 7.2 Functional Block Diagram
    3. 7.3 Feature Description
      1. 7.3.1  A29 Coil Specification
      2. 7.3.2  Option Select Pins
      3. 7.3.3  LED Modes
      4. 7.3.4  FOD and Parasitic Metal Object Detect (PMOD) Calibration
      5. 7.3.5  FOD Ping Calibration
      6. 7.3.6  Shut Down Through External Thermal Sensor or Trigger
      7. 7.3.7  Fault Handling and Indication
      8. 7.3.8  Power Transfer Start Signal
      9. 7.3.9  Power-On Reset
      10. 7.3.10 External Reset, RESET Pin
      11. 7.3.11 Trickle Charge and CS100
    4. 7.4 Device Functional Modes
      1. 7.4.1 Power Transfer
      2. 7.4.2 Communication
      3. 7.4.3 Power Trains
      4. 7.4.4 Power Train Voltage Control
      5. 7.4.5 Signal Processing Components
  8. Application and Implementation
    1. 8.1 Application Information
    2. 8.2 Typical Application
      1. 8.2.1 Design Requirements
      2. 8.2.2 Detailed Design Procedure
        1. 8.2.2.1 Capacitor Selection
        2. 8.2.2.2 Current Monitoring Requirements
        3. 8.2.2.3 All Unused Pins
        4. 8.2.2.4 Input Regulators
        5. 8.2.2.5 Input Power Requirements
        6. 8.2.2.6 LED Mode
      3. 8.2.3 Application Curves
  9. Power Supply Recommendations
  10. 10Layout
    1. 10.1 Layout Guidelines
    2. 10.2 Layout Example
  11. 11Device and Documentation Support
    1. 11.1 Device Support
    2. 11.2 Receiving Notification of Documentation Updates
    3. 11.3 Community Resources
    4. 11.4 Trademarks
    5. 11.5 Electrostatic Discharge Caution
    6. 11.6 Glossary
  12. 12Mechanical, Packaging, and Orderable Information

Package Options

Mechanical Data (Package|Pins)
Thermal pad, mechanical data (Package|Pins)
Orderable Information

Application and Implementation

NOTE

Information in the following applications sections is not part of the TI component specification, and TI does not warrant its accuracy or completeness. TI’s customers are responsible for determining suitability of components for their purposes. Customers should validate and test their design implementation to confirm system functionality.

Application Information

The bq500215 device is a wireless power transmitter controller designed for 5-W WPC compliant applications as well as up to 10-W applications (in combination with the bq51025 wireless receiver). It integrates all functions required to control wireless power transfer to a WPC v1.2 compliant receiver. Several tools are available for the design of the system. See the product folder on www.ti.com for more details. The following sections highlight some of the system design considerations.

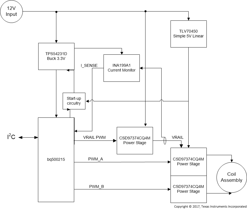
Typical Application

Figure 8 shows the application block diagram for the transmitter.

bq500215 TX_System_Functional_Diagram.gif Figure 8. bq500215 System Diagram

Design Requirements

Table 4. Design Parameters

DESIGN PARAMETER VALUE
WPC coil type A29
Input voltage 12 V

Detailed Design Procedure

Capacitor Selection

Capacitor selection is critical to proper system operation. The total capacitance value of 2 × 100 nF + 47 nF is required in the resonant tank. This is the WPC system compatibility requirement, not a guideline.

NOTE

A total capacitance value of 2 × 100 nF + 47 nF (C0G dielectric type, 100-V rating) is required in the resonant tank to achieve the correct resonance frequency.

The capacitors chosen must be rated for at least 100 V and must be of a high-quality C0G dielectric (sometimes also called NP0). These are typically available in a 5% tolerance, which is adequate. TI does not recommend the use of X7R types or below if WPC compliance is required because critical WPC Certification Testing, such as the minimum modulation or guaranteed power test, might fail.

The designer can combine capacitors to achieve the desired capacitance value. Various combinations can work depending on market availability. All capacitors must be of C0G types (not mixed with any other dielectric types).

Current Monitoring Requirements

The bq500215 is WPC v1.2 ready. To enable the PMOD or FOD features, provide current monitoring in the design.

For proper scaling of the current monitor signal, the current sense resistor should be 20 mΩ and the current shunt amplifier should have a gain of 50, such as the INA199A1. For FOD accuracy, the current sense resistor must be a quality component with 0.5% tolerance, at least 1/4-W rating, and a temperature stability of ±200 PPM. Proper current sensing techniques in the application hardware should also be observed.

All Unused Pins

All unused pins can be left open unless otherwise indicated. Refer to the table in Pin Configuration and Functions. To improve PCB layout, ground unused pins, if it is an option.

Input Regulators

The bq500215 requires 3.3 VDC to operate. A buck converter is used to step down from the supply voltage, such as the TPS54231D used in this design.

Input Power Requirements

The design works with 12-V input voltage. A29 TX type requires 12-V system voltage.

LED Mode

bq500215 can directly drive three LED outputs (pin 12 (LED-A), pin 13 (LED-B), and pin 25 (LED-C)). Select one of the desired LED indication schemes by choosing the selection resistor connected between pin 61 (LED_MODE) and GND.

Application Curves

bq500215 D001_SLUSBX7.gif
Figure 9. System Efficiency With bq51025 10-W RX
bq500215 D002_SLUSBZ1.gif
Figure 11. VRAIL Voltage Level vs WPC RX Load
bq500215 D001_SLUSBZ1.gif
Figure 10. System Efficiency With WPC 5-W RX