SBOS377L October   2006  – January 2020 OPA211

PRODUCTION DATA.  

  1. Features
  2. Applications
  3. Description
    1.     Device Images
      1.      Input Voltage Noise Density vs Frequency
  4. Revision History
  5. Pin Configuration and Functions
    1.     Pin Functions: OPA211
    2.     Pin Functions: OPA2211
  6. Specifications
    1. 6.1 Absolute Maximum Ratings
    2. 6.2 ESD Ratings
    3. 6.3 Recommended Operating Conditions
    4. 6.4 Thermal Information: OPA211 and OPA211A
    5. 6.5 Thermal Information: OPA2211 and OPA2211A
    6. 6.6 Electrical Characteristics: Standard Grade OPAx211A
    7. 6.7 Electrical Characteristics: High-Grade OPAx211
    8. 6.8 Typical Characteristics
  7. Detailed Description
    1. 7.1 Overview
    2. 7.2 Functional Block Diagram
    3. 7.3 Feature Description
      1. 7.3.1 Total Harmonic Distortion Measurements
    4. 7.4 Device Functional Modes
      1. 7.4.1 Shutdown
  8. Application and Implementation
    1. 8.1 Application Information
      1. 8.1.1 Operating Voltage
      2. 8.1.2 Input Protection
      3. 8.1.3 Noise Performance
      4. 8.1.4 Basic Noise Calculations
      5. 8.1.5 EMI Rejection
      6. 8.1.6 EMIRR +IN Test Configuration
      7. 8.1.7 Electrical Overstress
    2. 8.2 Typical Application
      1. 8.2.1 Design Requirements
      2. 8.2.2 Detailed Design Procedure
      3. 8.2.3 Application Curve
  9. Power Supply Recommendations
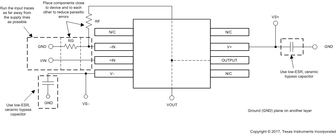
  10. 10Layout
    1. 10.1 Layout Guidelines
      1. 10.1.1 SON Layout Guidelines
    2. 10.2 Layout Example
  11. 11Device and Documentation Support
    1. 11.1 Device Support
      1. 11.1.1 Development Support
        1. 11.1.1.1 TINA-TI™ (Free Software Download)
        2. 11.1.1.2 TI Precision Designs
        3. 11.1.1.3 WEBENCH® Filter Designer
    2. 11.2 Documentation Support
      1. 11.2.1 Related Documentation
    3. 11.3 Related Links
    4. 11.4 Receiving Notification of Documentation Updates
    5. 11.5 Support Resources
    6. 11.6 Trademarks
    7. 11.7 Electrostatic Discharge Caution
    8. 11.8 Glossary
  12. 12Mechanical, Packaging, and Orderable Information

Package Options

Mechanical Data (Package|Pins)
Thermal pad, mechanical data (Package|Pins)
Orderable Information

Layout Example

OPA211 OPA2211 layout_example_bos620.gifFigure 51. Layout Example