SLLS519J March   2002  â€“ July 2017 TUSB3410

PRODUCTION DATA.  

  1. 1Device Overview
    1. 1.1 Features
    2. 1.2 Applications
    3. 1.3 Description
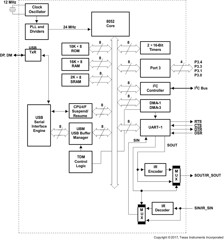
    4. 1.4 Functional Block Diagram
  2. 2Revision History
  3. 3Pin Configuration and Functions
    1. 3.1 Pin Diagrams
  4. 4Specifications
    1. 4.1 Absolute Maximum Ratings
    2. 4.2 ESD Ratings
    3. 4.3 Recommended Operating Conditions
    4. 4.4 Thermal Information
    5. 4.5 Electrical Characteristics
    6. 4.6 Timing and Switching Characteristics Information
      1. 4.6.1 Wakeup Timing (WAKEUP or RI/CP Transitions)
      2. 4.6.2 Reset Timing
    7. 4.7 Typical Characteristics
  5. 5Detailed Description
    1. 5.1 Overview
    2. 5.2 Functional Block Diagram
    3. 5.3 Device Functional Modes
      1. 5.3.1 USB Interface Configuration
        1. 5.3.1.1 External Memory Case
        2. 5.3.1.2 Host Download Case
      2. 5.3.2 USB Data Movement
      3. 5.3.3 Serial Port Setup
      4. 5.3.4 Serial Port Data Modes
        1. 5.3.4.1 RS-232 Data Mode
        2. 5.3.4.2 RS-485 Data Mode
        3. 5.3.4.3 IrDA Data Mode
    4. 5.4 Processor Subsystems
      1. 5.4.1 DMA Controller
        1. 5.4.1.1 Bulk Data I/O Using the EDB
          1. 5.4.1.1.1 IN Transaction (TUSB3410 to Host)
          2. 5.4.1.1.2 OUT Transaction (Host to TUSB3410)
      2. 5.4.2 UART
        1. 5.4.2.1 UART Data Transfer
          1. 5.4.2.1.1 Receiver Data Flow
          2. 5.4.2.1.2 Hardware Flow Control
          3. 5.4.2.1.3 Auto RTS (Receiver Control)
          4. 5.4.2.1.4 Auto CTS (Transmitter Control)
          5. 5.4.2.1.5 Xon/Xoff Receiver Flow Control
          6. 5.4.2.1.6 Xon/Xoff Transmit Flow Control
      3. 5.4.3 I2C Port
        1. 5.4.3.1 Random-Read Operation
          1. 5.4.3.1.1 Device Address + EPROM [High Byte]
          2. 5.4.3.1.2 EPROM [Low Byte]
        2. 5.4.3.2 Current-Address Read Operation
        3. 5.4.3.3 Sequential-Read Operation
          1. 5.4.3.3.1 Device Address
          2. 5.4.3.3.2 N-Byte Read (31 Bytes)
          3. 5.4.3.3.3 Last-Byte Read (Byte 32)
        4. 5.4.3.4 Byte-Write Operation
          1. 5.4.3.4.1 Device Address + EPROM [High Byte]
          2. 5.4.3.4.2 EPROM [Low Byte]
          3. 5.4.3.4.3 EPROM [DATA]
        5. 5.4.3.5 Page-Write Operation
          1. 5.4.3.5.1 Device Address + EPROM [High Byte]
          2. 5.4.3.5.2 EPROM [Low Byte]
          3. 5.4.3.5.3 EPROM [DATA]—31 Bytes
          4. 5.4.3.5.4 EPROM [DATA]—Last Byte
    5. 5.5 Memory
      1. 5.5.1  MCU Memory Map
      2. 5.5.2  Registers
        1. 5.5.2.1 Miscellaneous Registers
          1. 5.5.2.1.1 ROMS: ROM Shadow Configuration Register (Addr:FF90h)
          2. 5.5.2.1.2 Boot Operation (MCU Firmware Loading)
          3. 5.5.2.1.3 WDCSR: Watchdog Timer, Control, and Status Register (Addr:FF93h)
      3. 5.5.3  Buffers + I/O RAM Map
      4. 5.5.4  Endpoint Descriptor Block (EDB−1 to EDB−3)
        1. 5.5.4.1  OEPCNF_n: Output Endpoint Configuration (n = 1 to 3) (Base Addr: FF08h, FF10h, FF18h)
        2. 5.5.4.2  OEPBBAX_n: Output Endpoint X-Buffer Base Address (n = 1 to 3) (Offset 1)
        3. 5.5.4.3  OEPBCTX_n: Output Endpoint X Byte Count (n = 1 to 3) (Offset 2)
        4. 5.5.4.4  OEPBBAY_n: Output Endpoint Y-Buffer Base Address (n = 1 to 3) (Offset 5)
        5. 5.5.4.5  OEPBCTY_n: Output Endpoint Y-Byte Count (n = 1 to 3) (Offset 6)
        6. 5.5.4.6  OEPSIZXY_n: Output Endpoint X-/Y-Buffer Size (n = 1 to 3) (Offset 7)
        7. 5.5.4.7  IEPCNF_n: Input Endpoint Configuration (n = 1 to 3) (Base Addr: FF48h, FF50h, FF58h)
        8. 5.5.4.8  IEPBBAX_n: Input Endpoint X-Buffer Base Address (n = 1 to 3) (Offset 1)
        9. 5.5.4.9  IEPBCTX_n: Input Endpoint X-Byte Count (n = 1 to 3) (Offset 2)
        10. 5.5.4.10 IEPBBAY_n: Input Endpoint Y-Buffer Base Address (n = 1 to 3) (Offset 5)
        11. 5.5.4.11 IEPBCTY_n: Input Endpoint Y-Byte Count (n = 1 to 3) (Offset 6)
        12. 5.5.4.12 IEPSIZXY_n: Input Endpoint X-/Y-Buffer Size (n = 1 to 3) (Offset 7)
        13. 5.5.4.13 Endpoint-0 Descriptor Registers
          1. 5.5.4.13.1 IEPCNFG_0: Input Endpoint-0 Configuration Register (Addr:FF80h)
          2. 5.5.4.13.2 IEPBCNT_0: Input Endpoint-0 Byte Count Register (Addr:FF81h)
          3. 5.5.4.13.3 OEPCNFG_0: Output Endpoint-0 Configuration Register (Addr:FF82h)
          4. 5.5.4.13.4 OEPBCNT_0: Output Endpoint-0 Byte Count Register (Addr:FF83h)
      5. 5.5.5  USB Registers
        1. 5.5.5.1  FUNADR: Function Address Register (Addr:FFFFh)
        2. 5.5.5.2  USBSTA: USB Status Register (Addr:FFFEh)
        3. 5.5.5.3  USBMSK: USB Interrupt Mask Register (Addr:FFFDh)
        4. 5.5.5.4  USBCTL: USB Control Register (Addr:FFFCh)
        5. 5.5.5.5  MODECNFG: Mode Configuration Register (Addr:FFFBh)
        6. 5.5.5.6  Clock Output Control
        7. 5.5.5.7  Vendor ID/Product ID
        8. 5.5.5.8  SERNUM7: Device Serial Number Register (Byte 7) (Addr:FFEFh)
        9. 5.5.5.9  SERNUM6: Device Serial Number Register (Byte 6) (Addr:FFEEh)
        10. 5.5.5.10 SERNUM5: Device Serial Number Register (Byte 5) (Addr:FFEDh)
        11. 5.5.5.11 SERNUM4: Device Serial Number Register (Byte 4) (Addr:FFECh)
        12. 5.5.5.12 SERNUM3: Device Serial Number Register (Byte 3) (Addr:FFEBh)
        13. 5.5.5.13 SERNUM2: Device Serial Number Register (Byte 2) (Addr:FFEAh)
        14. 5.5.5.14 SERNUM1: Device Serial Number Register (Byte 1) (Addr:FFE9h)
        15. 5.5.5.15 SERNUM0: Device Serial Number Register (Byte 0) (Addr:FFE8h)
        16. 5.5.5.16 Function Reset and Power-Up Reset Interconnect
        17. 5.5.5.17 Pullup Resistor Connect and Disconnect
      6. 5.5.6  DMA Controller Registers
        1. 5.5.6.1 DMACDR1: DMA Channel Definition Register (UART Transmit Channel) (Addr:FFE0h)
        2. 5.5.6.2 DMACSR1: DMA Control And Status Register (UART Transmit Channel) (Addr:FFE1h)
        3. 5.5.6.3 DMACDR3: DMA Channel Definition Register (UART Receive Channel) (Addr:FFE4h)
        4. 5.5.6.4 DMACSR3: DMA Control And Status Register (UART Receive Channel) (Addr:FFE5h)
      7. 5.5.7  UART Registers
        1. 5.5.7.1  RDR: Receiver Data Register (Addr:FFA0h)
        2. 5.5.7.2  TDR: Transmitter Data Register (Addr:FFA1h)
        3. 5.5.7.3  LCR: Line Control Register (Addr:FFA2h)
        4. 5.5.7.4  FCRL: UART Flow Control Register (Addr:FFA3h)
        5. 5.5.7.5  Transmitter Flow Control
        6. 5.5.7.6  MCR: Modem-Control Register (Addr:FFA4h)
        7. 5.5.7.7  LSR: Line-Status Register (Addr:FFA5h)
        8. 5.5.7.8  MSR: Modem-Status Register (Addr:FFA6h)
        9. 5.5.7.9  DLL: Divisor Register Low Byte (Addr:FFA7h)
        10. 5.5.7.10 DLH: Divisor Register High Byte (Addr:FFA8h)
        11. 5.5.7.11 Baud-Rate Calculation
        12. 5.5.7.12 XON: Xon Register (Addr:FFA9h)
        13. 5.5.7.13 XOFF: Xoff Register (Addr:FFAAh)
        14. 5.5.7.14 MASK: UART Interrupt-Mask Register (Addr:FFABh)
      8. 5.5.8  Expanded GPIO Port
        1. 5.5.8.1 Input/Output and Control Registers
          1. 5.5.8.1.1 PUR_3: GPIO Pullup Register for Port 3 (Addr:FF9Eh)
      9. 5.5.9  Interrupts
        1. 5.5.9.1 8052 Interrupt and Status Registers
          1. 5.5.9.1.1 8052 Standard Interrupt Enable (SIE) Register
          2. 5.5.9.1.2 Additional Interrupt Sources
          3. 5.5.9.1.3 VECINT: Vector Interrupt Register (Addr:FF92h)
          4. 5.5.9.1.4 Logical Interrupt Connection Diagram (Internal/External)
      10. 5.5.10 I2C Registers
        1. 5.5.10.1 I2CSTA: I2C Status and Control Register (Addr:FFF0h)
        2. 5.5.10.2 I2CADR: I2C Address Register (Addr:FFF3h)
        3. 5.5.10.3 I2CDAI: I2C Data-Input Register (Addr:FFF2h)
        4. 5.5.10.4 I2CDAO: I2C Data-Output Register (Addr:FFF1h)
    6. 5.6 Boot Modes
      1. 5.6.1  Introduction
      2. 5.6.2  Bootcode Programming Flow
      3. 5.6.3  Default Bootcode Settings
        1. 5.6.3.1 Device Descriptor
        2. 5.6.3.2 Configuration Descriptor
        3. 5.6.3.3 Interface Descriptor
        4. 5.6.3.4 Endpoint Descriptor
        5. 5.6.3.5 String Descriptor
      4. 5.6.4  External I2C Device Header Format
        1. 5.6.4.1 Product Signature
        2. 5.6.4.2 Descriptor Block
          1. 5.6.4.2.1 Descriptor Prefix
          2. 5.6.4.2.2 Descriptor Content
      5. 5.6.5  Checksum in Descriptor Block
      6. 5.6.6  Header Examples
        1. 5.6.6.1 TUSB3410 Bootcode Supported Descriptor Block
        2. 5.6.6.2 USB Descriptor Header
        3. 5.6.6.3 Autoexec Binary Firmware
      7. 5.6.7  USB Host Driver Downloading Header Format
      8. 5.6.8  Built-In Vendor Specific USB Requests
        1. 5.6.8.1 Reboot
        2. 5.6.8.2 Force Execute Firmware
        3. 5.6.8.3 External Memory Read
        4. 5.6.8.4 External Memory Write
        5. 5.6.8.5 I2C Memory Read
        6. 5.6.8.6 I2C Memory Write
        7. 5.6.8.7 Internal ROM Memory Read
      9. 5.6.9  Bootcode Programming Consideration
        1. 5.6.9.1 USB Requests
          1. 5.6.9.1.1 USB Request Transfers
          2. 5.6.9.1.2 Interrupt Handling Routine
        2. 5.6.9.2 Hardware Reset Introduced by the Firmware
      10. 5.6.10 File Listings
  6. 6Application, Implementation, and Layout
    1. 6.1 Application Information
    2. 6.2 Typical Application
      1. 6.2.1 Design Requirements
      2. 6.2.2 Detailed Design Procedure
        1. 6.2.2.1 Upstream Port Implementation
        2. 6.2.2.2 Crystal Implementation
        3. 6.2.2.3 RS-232 Implementation
        4. 6.2.2.4 TUSB3410 Power Implementation
      3. 6.2.3 Application Performance Plot
    3. 6.3 Layout
      1. 6.3.1 Layout Guidelines
      2. 6.3.2 Differential Signal Spacing
      3. 6.3.3 Differential Signal Rules
      4. 6.3.4 Layout Example
    4. 6.4 Power Supply Recommendations
      1. 6.4.1 Digital Supplies 3.3 V
      2. 6.4.2 Digital Supplies 1.8 V
    5. 6.5 Crystal Selection
    6. 6.6 External Circuit Required for Reliable Bus Powered Suspend Operation
  7. 7Device and Documentation Support
    1. 7.1 Documentation Support
      1. 7.1.1 Related Documentation
    2. 7.2 Related Links
    3. 7.3 Receiving Notification of Documentation Updates
    4. 7.4 Community Resources
    5. 7.5 Trademarks
    6. 7.6 Electrostatic Discharge Caution
    7. 7.7 Glossary
  8. 8Mechanical Packaging and Orderable Information
    1. 8.1 Packaging Information

Package Options

Mechanical Data (Package|Pins)
Thermal pad, mechanical data (Package|Pins)
Orderable Information

Device Overview

Features

  • Fully Compliant With USB 2.0 Full-Speed Specifications: TID#40340262
  • Supports 12-Mbps USB Data Rate (Full Speed)
  • Supports USB Suspend, Resume, and Remote Wake-Up Operations
  • Configurable to Bus-Powered and Self-Powered Operation
  • Supports a Total of Three Input and Three Output (Interrupt, Bulk) Endpoints
  • Integrated 8052 Microcontroller With:
    • 256 × 8 RAM for Internal Data
    • 10K × 8 ROM (With USB and I2C Bootloader)
    • 16K × 8 RAM for Code Space Loadable From Host or I2C Port
    • 2K × 8 Shared RAM Used for Data Buffers and Endpoint Descriptor Blocks (EDBs)
    • Master I2C Controller for EEPROM Device Access
    • MCU Operates at 24 MHz, Providing 2-MIPS Operation
    • 128-ms Watchdog Timer
  • Enhanced UART Features:
    • Software and Hardware Flow Control
    • Automatic RS-485 Bus Transceiver Control, With and Without Echo
    • Selectable IrDA Mode for Up to 115.2-kbps Transfer
    • Software-Selectable Baud Rate From 50 BPS to 921.6 kbps
    • Programmable Serial-Interface Characteristics
      • 5-, 6-, 7-, or 8-Bit Characters
      • Even, Odd, or No Parity-bit Generation and Detection
      • 1-, 1.5-, or 2-Stop Bit Generation
    • Line Break Generation and Detection
    • Internal Test and Loopback Capabilities
    • Modem Control Functions (CTS, RTS, DSR, RI and DCD)
    • Internal Diagnostic Capability
      • Loopback Control for Communications
        Link-Fault Isolation
      • Break, Parity, Overrun, Framing-Error Simulation

Applications

  • Modems
  • Peripherals:
    Printers, Handheld Devices, and so on
  • Medical Meters
  • DSP and µC Interface

Description

The TUSB3410 device provides bridging between a USB port and an enhanced UART serial port. The device contains an 8052 microcontroller unit (MCU) with 16KB of RAM that can be loaded from the host or from the external onboard memory through an I2C. The device also contains 10KB of ROM that allows the MCU to configure the USB port at boot time. The ROM code also contains an I2C bootloader. All device functions (such as the USB command decoding, UART setup, and error reporting) are managed by the internal MCU firmware in unison with the PC host.

Device Information(1)

PART NUMBER PACKAGE BODY SIZE
TUSB3410 VQFN (32) 5.00 mm × 5.00 mm
LQFP (32) 7.00 mm × 7.00 mm
  1. For all available packages, see the orderable addendum at the end of the data sheet.

Functional Block Diagram

TUSB3410 TUSB3410I fig001_2_lls519.gif