JAJS503C June   2008  – July 2018 ADS7950 , ADS7951 , ADS7952 , ADS7953 , ADS7954 , ADS7955 , ADS7956 , ADS7957 , ADS7958 , ADS7959 , ADS7960 , ADS7961

PRODUCTION DATA.  

  1. 特長
  2. アプリケーション
    1.     詳細ブロック図
  3. 概要
  4. 改訂履歴
  5. デバイス比較表
  6. Pin Configuration and Functions
    1.     Pin Functions: TSSOP Packages
    2.     Pin Functions: VQFN Packages
  7. Specifications
    1. 7.1  Absolute Maximum Ratings
    2. 7.2  ESD Ratings
    3. 7.3  Recommended Operating Conditions
    4. 7.4  Thermal Information: TSSOP
    5. 7.5  Thermal Information: VQFN
    6. 7.6  Electrical Characteristics: ADS7950, ADS7951, ADS7952, ADS7953
    7. 7.7  Electrical Characteristics, ADS7954, ADS7955, ADS7956, ADS7957
    8. 7.8  Electrical Characteristics, ADS7958, ADS7959, ADS7960, ADS7961
    9. 7.9  Timing Requirements
    10. 7.10 Typical Characteristics (All ADS79xx Family Devices)
    11. 7.11 Typical Characteristics (12-Bit Devices Only)
    12. 7.12 Typical Characteristics (12-Bit Devices Only)
  8. Detailed Description
    1. 8.1 Overview
    2. 8.2 Functional Block Diagram
    3. 8.3 Feature Description
      1. 8.3.1 Reference
      2. 8.3.2 Power Saving
    4. 8.4 Device Functional Modes
      1. 8.4.1 Channel Sequencing Modes
      2. 8.4.2 Device Programming and Mode Control
        1. 8.4.2.1 Mode Control Register
        2. 8.4.2.2 Program Registers
      3. 8.4.3 Device Power-Up Sequence
      4. 8.4.4 Operating in Manual Mode
      5. 8.4.5 Operating in Auto-1 Mode
      6. 8.4.6 Operating in Auto-2 Mode
      7. 8.4.7 Continued Operation in a Selected Mode
    5. 8.5 Programming
      1. 8.5.1 Digital Output
      2. 8.5.2 GPIO Registers
      3. 8.5.3 Alarm Thresholds for GPIO Pins
  9. Application and Implementation
    1. 9.1 Application Information
      1. 9.1.1 Analog Input
    2. 9.2 Typical Applications
      1. 9.2.1 Unbuffered Multiplexer Output (MXO)
        1. 9.2.1.1 Design Requirements
        2. 9.2.1.2 Detailed Design Procedure
        3. 9.2.1.3 Application Curves
      2. 9.2.2 OPA192 Buffered Multiplexer Output (MXO)
        1. 9.2.2.1 Design Requirements
        2. 9.2.2.2 Detailed Design Procedure
        3. 9.2.2.3 Application Curves
  10. 10Power Supply Recommendations
  11. 11Layout
    1. 11.1 Layout Guidelines
    2. 11.2 Layout Examples
  12. 12デバイスおよびドキュメントのサポート
    1. 12.1 ドキュメントのサポート
      1. 12.1.1 関連資料
    2. 12.2 関連リンク
    3. 12.3 ドキュメントの更新通知を受け取る方法
    4. 12.4 コミュニティ・リソース
    5. 12.5 商標
    6. 12.6 静電気放電に関する注意事項
    7. 12.7 Glossary
  13. 13メカニカル、パッケージ、および注文情報

パッケージ・オプション

デバイスごとのパッケージ図は、PDF版データシートをご参照ください。

メカニカル・データ(パッケージ|ピン)
  • RHB|32
  • DBT|38
サーマルパッド・メカニカル・データ
発注情報

Analog Input

The ADS79xx device family offers 12/10/8-bit ADCSs with 16/12/8/4 channel multiplexers for analog input. The multiplexer output is available on the MXO pin. AINP is the ADC input pin. The devices offers flexibility for a system designer as both signals are accessible externally.

Typically it is convenient to short MXO to the AINP pin so that signal input to each multiplexer channel can be processed independently. In this condition, TI recommends limiting source impedance to 50 Ω or less. Higher source impedance may affect the signal settling time after a multiplexer channel change. This condition can affect linearity and total harmonic distortion.

ADS7950 ADS7951 ADS7952 ADS7953 ADS7954 ADS7955 ADS7956 ADS7957 ADS7958 ADS7959 ADS7960 ADS7961 apps_no-buf_las605.gif
GPIO 0,1,2 and 3 are available only in TSSOP packaged devices. QFN device offers 'GPIO 0' only. As a result all references related to 'GPIO 0' only are valid in case of QFN package devices.
Figure 60. Typical Application Diagram Showing MXO Shorted to AINP

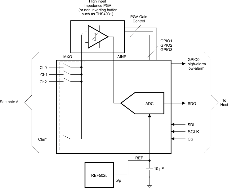
Another option is to add a common ADC driver buffer between the MXO and AINP pins. This relaxes the restriction on source impedance to a large extent. Refer to Typical Characteristics (All ADS79xx Family Devices) for the effect of source impedance on device performance. The typical characteristics show that the device has respectable performance with up to 1kΩ source impedance. This topology (including a common ADC driver) is useful when all channel signals are within the acceptable range of the ADC. In this case the user can save on signal conditioning circuit for each channel.

ADS7950 ADS7951 ADS7952 ADS7953 ADS7954 ADS7955 ADS7956 ADS7957 ADS7958 ADS7959 ADS7960 ADS7961 apps_buf_sbas652.gifFigure 61. Typical Application Diagram Showing Common Buffer/PGA for All Channels

When the converter samples an input, the voltage difference between AINP and AGND is captured on the internal capacitor array. The (peak) input current through the analog inputs depends upon a number of factors: sample rate, input voltage, and source impedance. The current into the ADS79xx charges the internal capacitor array during the sample period. After this capacitance has been fully charged, there is no further input current. When the converter goes into hold mode, the input impedance is greater than 1 GΩ.

Care must be taken regarding the absolute analog input voltage. To maintain linearity of the converter, the Ch0 .. Chn and AINP inputs should be within the limits specified. Outside of these ranges, converter linearity may not meet specifications.

ADS7950 ADS7951 ADS7952 ADS7953 ADS7954 ADS7955 ADS7956 ADS7957 ADS7958 ADS7959 ADS7960 ADS7961 adc_mux_sbas652.gifFigure 62. ADC and MUX Equivalent Circuit