JAJSF06A March   2018  – May 2018 SN65LVDS93B

PRODUCTION DATA.  

  1. 特長
  2. アプリケーション
  3. 概要
    1.     Device Images
      1.      ディスクリートLVDS TXを使用するRGBビデオ・システム
  4. 改訂履歴
  5. 概要(続き)
  6. Pin Configuration and Functions
    1.     Pin Functions
  7. Specifications
    1. 7.1 Absolute Maximum Ratings
    2. 7.2 ESD Ratings
    3. 7.3 Recommended Operating Conditions
    4. 7.4 Thermal Information
    5. 7.5 Electrical Characteristics
    6. 7.6 Timing Requirements
    7. 7.7 Switching Characteristics
    8. 7.8 Typical Characteristics
  8. Parameter Measurement Information
  9. Detailed Description
    1. 9.1 Overview
    2. 9.2 Functional Block Diagram
    3. 9.3 Feature Description
      1. 9.3.1 TTL Input Data
      2. 9.3.2 LVDS Output Data
    4. 9.4 Device Functional Modes
      1. 9.4.1 Input Clock Edge
      2. 9.4.2 Low Power Mode
  10. 10Application and Implementation
    1. 10.1 Application Information
    2. 10.2 Typical Application
      1. 10.2.1 Design Requirements
      2. 10.2.2 Detailed Design Procedure
        1. 10.2.2.1 Power
        2. 10.2.2.2 Signal Connectivity
        3. 10.2.2.3 PCB Routing
      3. 10.2.3 Application Curve
  11. 11Power Supply Recommendations
  12. 12Layout
    1. 12.1 Layout Guidelines
      1. 12.1.1 Board Stackup
      2. 12.1.2 Power and Ground Planes
      3. 12.1.3 Traces, Vias, and Other PCB Components
    2. 12.2 Layout Example
  13. 13デバイスおよびドキュメントのサポート
    1. 13.1 ドキュメントのサポート
      1. 13.1.1 関連資料
    2. 13.2 ドキュメントの更新通知を受け取る方法
    3. 13.3 コミュニティ・リソース
    4. 13.4 商標
    5. 13.5 静電気放電に関する注意事項
    6. 13.6 Glossary
  14. 14メカニカル、パッケージ、および注文情報

パッケージ・オプション

メカニカル・データ(パッケージ|ピン)
サーマルパッド・メカニカル・データ
発注情報

Parameter Measurement Information

SN65LVDS93B sch_diag_lls846.gifFigure 3. Equivalent Input and Output Schematic Diagrams
SN65LVDS93B set_hold_lls846.gif
All input timing is defined at IOVDD / 2 on an input signal with a 10% to 90% rise or fall time of less than 3 ns. CLKSEL = 0V.
Figure 4. Setup and Hold Time Definition
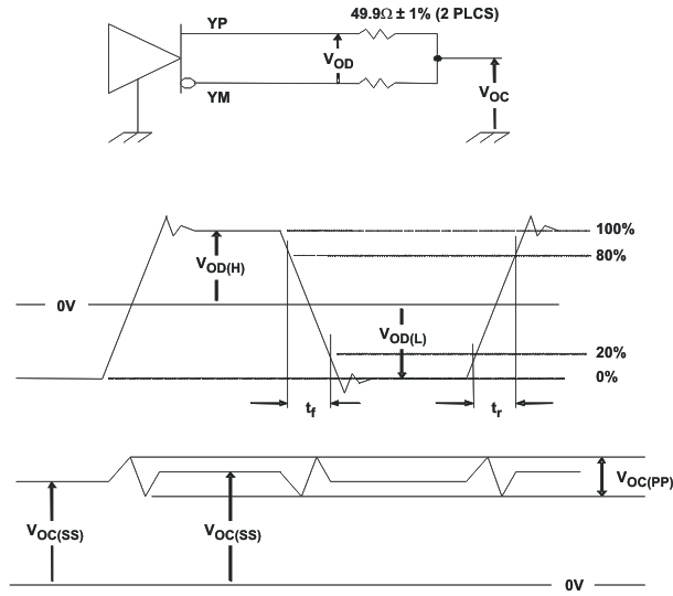
SN65LVDS93B test_load_lls846.gifFigure 5. Test Load and Voltage Definitions for LVDS Outputs
SN65LVDS93B gray_scale_lls846.gif
The 16 grayscale test pattern test device power consumption for a typical display pattern.
Figure 6. 16 Grayscale Test Pattern
SN65LVDS93B worst_case_lls846.gif
The worst-case test pattern produces nearly the maximum switching frequency for all of the LVDS outputs.
Figure 7. Worst-Case Power Test Pattern
SN65LVDS93B timing_lls846.gif
CLKOUT is shown with CLKSEL at high-level.
CLKIN polarity depends on CLKSEL input level.
Figure 8. SN65LVDS93B Timing Definitions
SN65LVDS93B out_clock_lls846.gifFigure 9. Output Clock Jitter Test Set Up
SN65LVDS93B enable_time_lls846.gifFigure 10. Enable Time Waveforms
SN65LVDS93B disable_time_lls846.gifFigure 11. Disable Time Waveforms