SLLSEU8B March   2017  – May 2020 TPD2S703-Q1

PRODUCTION DATA.  

  1. Features
  2. Applications
  3. Description
    1.     Device Images
      1.      USB 2.0 Port With Short-to-Battery and IEC ESD Protection
  4. Revision History
  5. Pin Configuration and Functions
    1.     Pin Functions
  6. Specifications
    1. 6.1  Absolute Maximum Ratings
    2. 6.2  ESD Ratings—AEC Specification
    3. 6.3  ESD Ratings—IEC Specification
    4. 6.4  ESD Ratings—ISO Specification
    5. 6.5  Recommended Operating Conditions
    6. 6.6  Thermal Information
    7. 6.7  Electrical Characteristics
    8. 6.8  Power Supply and Supply Current Consumption Chracteristics
    9. 6.9  Timing Requirements
    10. 6.10 Typical Characteristics
  7. Parameter Measurement Information
  8. Detailed Description
    1. 8.1 Overview
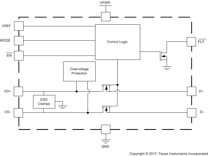
    2. 8.2 Functional Block Diagram
    3. 8.3 Feature Description
      1. 8.3.1 OVP Operation
      2. 8.3.2 OVP Threshold
      3. 8.3.3 D± Clamping Voltage
    4. 8.4 Device Functional Modes
  9. Application and Implementation
    1. 9.1 Application Information
    2. 9.2 Typical Application
      1. 9.2.1 Design Requirements
        1. 9.2.1.1 Device Operation
      2. 9.2.2 Detailed Design Procedure
        1. 9.2.2.1 Common choke and Inductor for VD+ and VD-
        2. 9.2.2.2 VREF Operation
          1. 9.2.2.2.1 Mode 0
          2. 9.2.2.2.2 Mode 1
        3. 9.2.2.3 Mode 1 Enable Timing
      3. 9.2.3 Application Curves
  10. 10Power Supply Recommendations
    1. 10.1 VPWR Path
    2. 10.2 VREF Pin
  11. 11Layout
    1. 11.1 Layout Guidelines
    2. 11.2 Layout Example
  12. 12Device and Documentation Support
    1. 12.1 Documentation Support
      1. 12.1.1 Related Documentation
    2. 12.2 Receiving Notification of Documentation Updates
    3. 12.3 Support Resources
    4. 12.4 Trademarks
    5. 12.5 Electrostatic Discharge Caution
    6. 12.6 Glossary
  13. 13Mechanical, Packaging, and Orderable Information

Functional Block Diagram

TPD2S703-Q1 Function_Block.gif