SLVU300A June   2009  – October 2021 TPS54325

 

  1.   Trademarks
  2. 1Introduction
    1. 1.1 Background
    2. 1.2 Performance Specification Summary
    3. 1.3 Modifications
      1. 1.3.1 Output Voltage Set Point
  3. 2Test Setup and Results
    1. 2.1  Test Setup
    2. 2.2  Test Procedure
    3. 2.3  Efficiency
    4. 2.4  Load Regualtion
    5. 2.5  Line Regulation
    6. 2.6  Load Transient Response
    7. 2.7  Output Voltage Ripple
    8. 2.8  Input Voltage Ripple
    9. 2.9  Start Up
    10. 2.10 Switching Frequency
  4. 3Board Layout
    1. 3.1 Layout
  5. 4Schematic and Bill of Materials
    1. 4.1 Schematic
    2. 4.2 Bill of Materials
  6. 5References
  7. 6Revision History

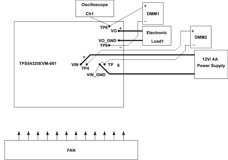
Test Setup

Connect test equipment and TPS54325EVM board as shown in Figure 2-1.

GUID-C8995ACC-4DF6-445C-BA60-B0F6A6EA17A0-low.gifFigure 2-1 Equipment Setup for TPS54325EVM Board