SBAS674A July   2014  â€“ September 2016 ADS1148-Q1

PRODUCTION DATA.  

  1. Features
  2. Applications
  3. Description
  4. Revision History
  5. Pin Configuration and Functions
  6. Specifications
    1. 6.1 Absolute Maximum Ratings
    2. 6.2 ESD Ratings
    3. 6.3 Recommended Operating Conditions
    4. 6.4 Thermal Information
    5. 6.5 Electrical Characteristics
    6. 6.6 Timing Requirements
    7. 6.7 Switching Characteristics
    8. 6.8 Typical Characteristics
  7. Parameter Measurement Information
    1. 7.1 Noise Performance
  8. Detailed Description
    1. 8.1 Overview
    2. 8.2 Functional Block Diagram
    3. 8.3 Feature Description
      1. 8.3.1  ADC Input and Multiplexer
      2. 8.3.2  Low-Noise PGA
        1. 8.3.2.1 PGA Common-Mode Voltage Requirements
        2. 8.3.2.2 PGA Common-Mode Voltage Calculation Example
        3. 8.3.2.3 Analog Input Impedance
      3. 8.3.3  Clock Source
      4. 8.3.4  Modulator
      5. 8.3.5  Digital Filter
      6. 8.3.6  Voltage Reference Input
      7. 8.3.7  Internal Voltage Reference
      8. 8.3.8  Excitation Current Sources
      9. 8.3.9  Sensor Detection
      10. 8.3.10 Bias Voltage Generation
      11. 8.3.11 General-Purpose Digital I/O
      12. 8.3.12 System Monitor
        1. 8.3.12.1 Power-Supply Monitor
        2. 8.3.12.2 External Voltage Reference Monitor
        3. 8.3.12.3 Ambient Temperature Monitor
    4. 8.4 Device Functional Modes
      1. 8.4.1 Power Up
      2. 8.4.2 Reset
      3. 8.4.3 Power-Down Mode
      4. 8.4.4 Conversion Control
        1. 8.4.4.1 Settling Time for Channel Multiplexing
        2. 8.4.4.2 Channel Cycling and Overload Recovery
        3. 8.4.4.3 Single-Cycle Settling
        4. 8.4.4.4 Digital Filter Reset Operation
      5. 8.4.5 Calibration
        1. 8.4.5.1 Offset Calibration Register: OFC[2:0]
        2. 8.4.5.2 Full-Scale Calibration Register: FSC[2:0]
        3. 8.4.5.3 Calibration Commands
          1. 8.4.5.3.1 System Offset and Self Offset Calibration
          2. 8.4.5.3.2 System Gain Calibration
        4. 8.4.5.4 Calibration Timing
    5. 8.5 Programming
      1. 8.5.1 Digital Interface
        1. 8.5.1.1 Chip Select (CS)
        2. 8.5.1.2 Serial Clock (SCLK)
        3. 8.5.1.3 Data Input (DIN)
        4. 8.5.1.4 Data Ready (DRDY)
        5. 8.5.1.5 Data Output and Data Ready (DOUT/DRDY)
        6. 8.5.1.6 SPI Reset
        7. 8.5.1.7 SPI Communication During Power-Down Mode
      2. 8.5.2 Data Format
      3. 8.5.3 Commands
        1. 8.5.3.1  WAKEUP (0000 000x)
        2. 8.5.3.2  SLEEP (0000 001x)
        3. 8.5.3.3  SYNC (0000 010x)
        4. 8.5.3.4  RESET (0000 011x)
        5. 8.5.3.5  RDATA (0001 001x)
        6. 8.5.3.6  RDATAC (0001 010x)
        7. 8.5.3.7  SDATAC (0001 011x)
        8. 8.5.3.8  RREG (0010 rrrr, 0000 nnnn)
        9. 8.5.3.9  WREG (0100 rrrr, 0000 nnnn)
        10. 8.5.3.10 SYSOCAL (0110 0000)
        11. 8.5.3.11 SYSGCAL (0110 0001)
        12. 8.5.3.12 SELFOCAL (0110 0010)
        13. 8.5.3.13 NOP (1111 1111)
        14. 8.5.3.14 Restricted Command (1111 0001)
    6. 8.6 Register Maps
      1. 8.6.1 Register Map
      2. 8.6.2 Detailed Register Definitions
        1. 8.6.2.1  MUX0—Multiplexer Control Register 0 (address = 00h) [reset = 01h]
        2. 8.6.2.2  VBIAS—Bias Voltage Register (address = 01h) [reset = 00h]
        3. 8.6.2.3  MUX1—Multiplexer Control Register 1 (address = 02h) [reset = x0h]
        4. 8.6.2.4  SYS0—System Control Register 0 (address = 03h) [reset = 00h]
        5. 8.6.2.5  OFC—Offset Calibration Coefficient Register (address = 04h, 05h, 06h) [reset = 00h, 00h, 00h]
        6. 8.6.2.6  FSC—Full-Scale Calibration Coefficient Register (address = 07h, 08h, 09h) [reset = 00h, 00h, 40h]
        7. 8.6.2.7  IDAC0—IDAC Control Register 0 (address = 0Ah) [reset = x0h]
        8. 8.6.2.8  IDAC1—IDAC Control Register 1 (address = 0Bh) [reset = FFh]
        9. 8.6.2.9  GPIOCFG—GPIO Configuration Register (address = 0Ch) [reset = 00h]
        10. 8.6.2.10 GPIODIR—GPIO Direction Register (address = 0Dh) [reset = 00h]
        11. 8.6.2.11 GPIODAT—GPIO Data Register (address = 0Eh) [reset = 00h]
  9. Application and Implementation
    1. 9.1 Application Information
      1. 9.1.1 Serial Interface Connections
      2. 9.1.2 Analog Input Filtering
      3. 9.1.3 External Reference and Ratiometric Measurements
      4. 9.1.4 Establishing a Proper Common-Mode Input Voltage
      5. 9.1.5 Isolated (or Floating) Sensor Inputs
      6. 9.1.6 Unused Inputs and Outputs
      7. 9.1.7 Pseudo Code Example
      8. 9.1.8 Channel Multiplexing Example
      9. 9.1.9 Power-Down Mode Example
    2. 9.2 Typical Applications
      1. 9.2.1 Ratiometric 3-Wire RTD Measurement System
        1. 9.2.1.1 Design Requirements
        2. 9.2.1.2 Detailed Design Procedure
          1. 9.2.1.2.1 Topology
          2. 9.2.1.2.2 RTD Selection
          3. 9.2.1.2.3 Excitation Current
          4. 9.2.1.2.4 Reference Resistor (RREF)
          5. 9.2.1.2.5 PGA Setting
          6. 9.2.1.2.6 Common-Mode Input Range
          7. 9.2.1.2.7 Input and Reference Low-Pass Filters
          8. 9.2.1.2.8 Register Settings
        3. 9.2.1.3 Application Curves
      2. 9.2.2 K-Type Thermocouple Measurement (-200°C to +1250°C) With Cold-Junction Compensation
        1. 9.2.2.1 Design Requirements
        2. 9.2.2.2 Detailed Design Procedure
          1. 9.2.2.2.1 Biasing Resistors
          2. 9.2.2.2.2 Input Filtering
          3. 9.2.2.2.3 PGA Setting
          4. 9.2.2.2.4 Cold-Junction Measurement
          5. 9.2.2.2.5 Calculated Resolution
          6. 9.2.2.2.6 Register Settings
    3. 9.3 Do's and Don'ts
  10. 10Power Supply Recommendations
    1. 10.1 Power Supply Sequencing
    2. 10.2 Power Supply Decoupling
  11. 11Layout
    1. 11.1 Layout Guidelines
    2. 11.2 Layout Example
  12. 12Device and Documentation Support
    1. 12.1 Documentation Support
      1. 12.1.1 Related Documentation
    2. 12.2 Receiving Notification of Documentation Updates
    3. 12.3 Community Resources
    4. 12.4 Trademarks
    5. 12.5 Electrostatic Discharge Caution
    6. 12.6 Glossary
  13. 13Mechanical, Packaging, and Orderable Information

Package Options

Mechanical Data (Package|Pins)
Thermal pad, mechanical data (Package|Pins)
Orderable Information

11 Layout

11.1 Layout Guidelines

Use best design practices when laying out a printed-circuit board (PCB) for both analog and digital components. This recommendation generally means that the layout separates analog components [such as ADCs, amplifiers, references, digital-to-analog converters (DACs), and analog multiplexers (MUXs)] from digital components [such as microcontrollers, complex programmable logic devices (CPLDs), field-programmable gate arrays (FPGAs), radio frequency (RF) transceivers, universal serial bus (USB) transceivers, and switching regulators]. An example of good component placement is shown in Figure 78. Although Figure 78 provides a good example of component placement, the best placement for each application is unique to the geometries, components, and PCB fabrication capabilities employed. That is, there is no single layout that is perfect for every design and careful consideration must always be used when designing with any analog component.

ADS1148-Q1 ai_comp_plcmt_bas501.gif Figure 78. System Component Placement

The following list outlines some basic recommendations for the layout of the ADS1148-Q1 to get the best possible performance of the ADC. A good design can be ruined with a bad circuit layout.

  • Separate analog and digital signals. To start, partition the board into analog and digital sections where the layout permits. Route digital lines away from analog lines. This routing prevents digital noise from coupling back into analog signals.
  • The ground plane can be split into an analog plane (AGND) and digital plane (DGND), but is not necessary. Place digital signals over the digital plane, and analog signals over the analog plane. As a final step in the layout, the split between the analog and digital grounds must be connected to together at the ADC.
  • Fill void areas on signal layers with ground fill.
  • Provide good ground return paths. Signal return currents flow on the path of least impedance. If the ground plane is cut or has other traces that block the current from flowing right next to the signal trace, another path must be found to return to the source and complete the circuit. If is forced into a larger path, the signal can increasingly possibly radiate. Sensitive signals are more susceptible to EMI interference.
  • Use bypass capacitors on supplies to reduce high frequency noise. Do not place vias between bypass capacitors and the active device. Placing the bypass capacitors on the same layer as close to the active device yields the best results.
  • Consider the resistance and inductance of the routing. Often, traces for the inputs have resistances that react with the input bias current and cause an added error voltage. Reducing the loop area enclosed by the source signal and the return current reduces the inductance in the path. Reducing the inductance reduces the EMI pickup and reduce the high frequency impedance detected by the device.
  • Watch for parasitic thermocouples in the layout. Dissimilar metals going from each analog input to the sensor can create a parasitic themocouple that can add an offset to the measurement. Differential inputs must be matched for both the inputs going to the measurement source.
  • Analog inputs with differential connections must have a capacitor placed differentially across the inputs. Best input combinations for differential measurements use adjacent analog input lines such as AIN0, AIN1 and AIN2, AIN3. The differential capacitors must be of high quality. The best ceramic chip capacitors are C0G (NPO), which have stable properties and low noise characteristics.

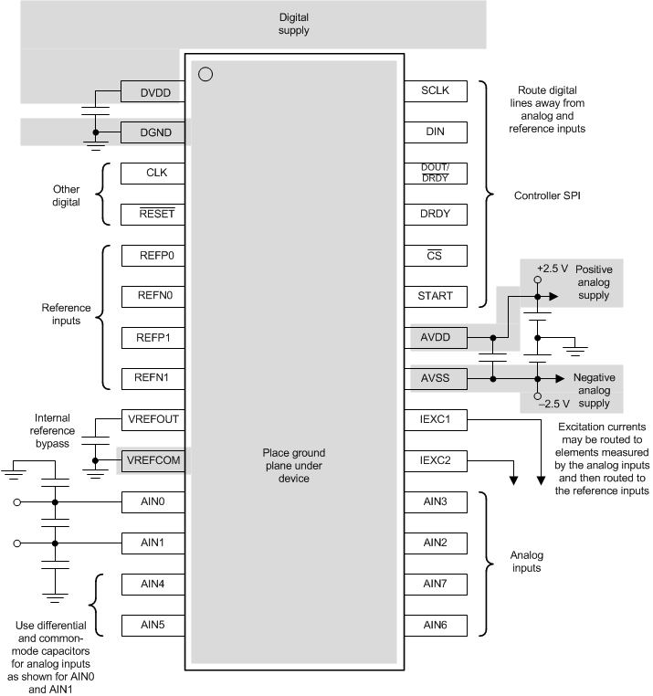
11.2 Layout Example

ADS1148-Q1 ai_layout_example_sbas426.gif Figure 79. Layout Example