SBAS769 March 2017 ADS7056
PRODUCTION DATA.
Refer to the PDF data sheet for device specific package drawings
NOTE
Information in the following applications sections is not part of the TI component specification, and TI does not warrant its accuracy or completeness. TI’s customers are responsible for determining suitability of components for their purposes. Customers should validate and test their design implementation to confirm system functionality.
The two primary circuits required to maximize the performance of a high-precision, successive approximation register (SAR) analog-to-digital converter (ADC) are the input driver and the reference driver circuits. This section details some general principles for designing the input driver circuit, reference driver circuit, and provides typical application circuits designed for the device.
Figure 43. DAQ Circuit: Single-Supply DAQ
The goal of the circuit shown in Figure 43 is to design a single-supply data acquisition (DAQ) circuit based on the ADS7056 with SNR greater than 74 dB and THD less than –85 dB for input frequencies of 2 kHz to 100 kHz at a throughput of 2.5 MSPS for applications such as sonar receivers and ultrasonic flow meters.
The input driver circuit for a high-precision ADC mainly consists of two parts: a driving amplifier and charge kickback filter. Careful design of the front-end circuit is critical to meet the linearity and noise performance of a high-precision ADC.
Figure 44 shows the input circuit of a typical SAR ADC. During the acquisition phase, the SW switch closes and connects the sampling capacitor (CSH) to the input driver circuit. This action introduces a transient on the input pins of the SAR ADC. An ideal amplifier with 0 Ω of output impedance and infinite current drive can settle this transient in zero time. For a real amplifier with non-zero output impedance and finite drive strength, this switched capacitor load can create stability issues.
Figure 44. Input Sample-and-Hold Circuit for a Typical SAR ADC
For ac signals, the filter bandwidth must be kept low to band-limit the noise fed into the ADC input, thereby increasing the signal-to-noise ratio (SNR) of the system. Besides filtering the noise from the front-end drive circuitry, the RC filter also helps attenuate the sampling charge injection from the switched-capacitor input stage of the ADC. A filter capacitor, CFLT, is connected across the ADC inputs. This capacitor helps reduce the sampling charge injection and provides a charge bucket to quickly charge the internal sample-and-hold capacitors during the acquisition process. As a rule of thumb, the value of this capacitor is at least 20 times the specified value of the ADC sampling capacitance. For this device, the input sampling capacitance is equal to 16 pF. Thus, the value of CFLT is greater than 320 pF. Select a COG- or NPO-type capacitor because these capacitor types have a high-Q, low-temperature coefficient, and stable electrical characteristics under varying voltages, frequency, and time.
Driving capacitive loads can degrade the phase margin of the input amplifiers, thus making the amplifier marginally unstable. To avoid amplifier stability issues, series isolation resistors (RFLT) are used at the output of the amplifiers. A higher value of RFLT is helpful from the amplifier stability perspective, but adds distortion as a result of interactions with the nonlinear input impedance of the ADC. Distortion increases with source impedance, input signal frequency, and input signal amplitude. Therefore, the selection of RFLT requires balancing the stability and distortion of the design.
Selection criteria for the input amplifiers is highly dependent on the input signal type as well as the performance goals of the data acquisition system. Some key amplifier specifications to consider when selecting an appropriate amplifier to drive the inputs of the ADC are:

where

where
For the application circuit of Figure 43, the OPA836 is selected for its high bandwidth (205 MHz), low noise (4.6 nV/√Hz), high output drive capacity (45 mA), and fast settling response (22 ns for 0.1% settling).
The analog supply voltage of the device is also used as a voltage reference for conversion. Decouple the AVDD pin with a 3.3-µF, low-ESR ceramic capacitor.
Figure 45 and Figure 46 provide the measurement results for the circuit described in Figure 43.
| SNR = 75.8 dB, THD = –90.1 dB, SINAD = 75 dB |
| SNR = 75 dB, THD = –88.7 dB, SINAD = 74.3 dB |
Figure 47. High Bandwidth DAQ Circuit
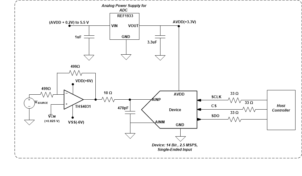
Applications such as ultrasonic flow meters, global positioning systems (GPS), handheld radios, and motor controls need analog-to-digital converters that are interfaced to high-frequency sensors (200 kHz to 1 MHz). The goal of the circuit described in Figure 47 is to design a single-supply digital acquisition (DAQ) circuit based on the ADS7056 with SNR greater than 73 dB and THD less than –85 dB for input frequencies of 200 kHz to 1 MHz at a throughput of 2.5 MSPS.
To achieve a SINAD greater than 73 dB, the operational amplifier must have high bandwidth in order to settle the input signal within the acquisition time of the ADC. The operational amplifier must have low noise to keep the total system noise below 20% of the input-referred noise of the ADC. For the application circuit shown in Figure 47, the THS4031 is selected for its high bandwidth (275 MHz), low total harmonic distortion of –90 dB at 1 MHz, and ultra-low noise of 1.6 nV/√Hz. The THS4031 is powered up from dual power supply (VDD = 6 V and VSS = –6 V).
For chip-select signals, high-frequency system SNR performance is highly dependent on jitter. Thus, selecting a clock source with very low jitter (< 20-ps RMS) is recommended.
Figure 48 shows the FFT plot for the ADS7056 with a 500-kHz input frequency used for the circuit in Figure 47. Figure 49 shows the FFT plot for the ADS7056 with a 1000-kHz input frequency used for the circuit in Figure 47.
| SNR = 74.2 dB, THD = –90.4 dB, SINAD = 73.5 dB |
| SNR = 73.5 dB, THD = –87.8 dB, SINAD = 73 dB |
Figure 50. Interfacing the Device Directly With Sensors
In applications such as environmental sensors, gas detectors, and smoke or fire detectors where the input is very slow moving and the sensor can be connected directly to the device operating at a lower throughput rate, a DAQ circuit can be designed without the input driver for the ADC. This type of a use case is of particular interest for applications in which the primary goal is to achieve the absolute lowest power, size, and cost. Typical applications that fall into this category are low-power sensor applications (such as temperature, pressure, humidity, gas, and chemical).
For this design example, use the parameters listed in Table 4 as the input parameters.
| DESIGN PARAMETER | GOAL VALUE |
|---|---|
| Throughput | 10 kSPS |
| SNR at 100 Hz | 74 dB |
| THD at 100 Hz | –85 dB |
| SINAD at 100 Hz | 73 dB |
| ENOB | 12 bits |
| Power | 20 µW |
The ADS7056 can be directly interfaced with sensors at lower throughput without the need of an amplifier buffer. The analog input source drive must be capable of driving the switched capacitor load of a SAR ADC and settling the analog input signal within the acquisition time of the SAR ADC. However, the output impedance of the sensor must be taken into account when interfacing a SAR ADC directly with sensors. Drive the analog input of the SAR ADC with a low impedance source. The input signal requires more acquisition time to settle to the desired accuracy because of the higher output impedance of the sensor. Figure 50 shows the simplified circuit for a sensor as a voltage source with output impedance (Rsource).
The acquisition time of a SAR ADC (such as the ADS7056 ) can be increased by reducing throughput in the following ways:
Table 5 lists the acquisition time for the above two cases for a throughput of 10 kSPS. Clearly, case 2 provides more acquisition time for the input signal to settle.
| CASE | SCLK | tcycle | CONVERSION TIME (= 18 × tSCLK) |
ACQUISITION TIME (= tcycle – tconv) |
|---|---|---|---|---|
| 1 | 0.24 MHz | 100 µs | 75 µs | 25 µs |
| 2 | 60 MHz | 100 µs | 0.3 µs | 99.7 µs |
When the output impedance of the sensor increases, the time required for the input signal to settle increases and the performance of the SAR ADC starts degrading if the input signal does not settle within the acquisition time of the ADC. The performance of the SAR ADC can be improved by reducing the throughput to provide enough time for the input signal to settle. Figure 51 provides the results for ENOB achieved from the ADS7056 for case 2 at different throughputs with different input impedances at the device input.
Figure 51. Effective Number of Bits (ENOB) Achieved From the ADS7056 at Different Throughputs
Table 6 shows the results and performance summary for this 14-bit, 10-kSPS DAQ circuit application.
| DESIGN PARAMETER | GOAL VALUE | ACHIEVED RESULT |
|---|---|---|
| Throughput | 10 kSPS | 10 kSPS |
| SNR at 100 Hz | 74 dB | 75 dB |
| THD at 100 Hz | –85 dB | –89 dB |
| SINAD at 100 Hz | 73 dB | 74.3 dB |
| ENOB | 12 | 12.05 |
| Power | 20 µW | 17 µW |