SBOS935B April   2020  – July 2020 TLV197-Q1 , TLV2197-Q1 , TLV4197-Q1

PRODUCTION DATA.  

  1. Features
  2. Applications
  3. Description
    1.     Device Images
      1.      TLVx197-Q1 Detect Voltages in Automotive Applications
  4. Revision History
  5. Pin Configuration and Functions
    1.     Pin Functions: TLV197-Q1
    2.     Pin Functions: TLV2197-Q1
    3.     Pin Functions: TLV4197-Q1
  6. Specifications
    1. 6.1 Absolute Maximum Ratings
    2. 6.2 ESD Ratings
    3. 6.3 Recommended Operating Conditions
    4. 6.4 Thermal Information: TLV197-Q1
    5. 6.5 Thermal Information: TLV2197-Q1
    6. 6.6 Thermal Information: TLV4197-Q1
    7. 6.7 Electrical Characteristics: VS = ±4 V to ±18 V (VS = 8 V to 36 V)
    8. 6.8 Electrical Characteristics: VS = ±2.25 V to ±4 V (VS = 4.5 V to 8 V)
    9. 6.9 Typical Characteristics
  7. Detailed Description
    1. 7.1 Overview
    2. 7.2 Functional Block Diagram
    3. 7.3 Feature Description
      1. 7.3.1 Input Protection Circuitry
      2. 7.3.2 EMI Rejection
      3. 7.3.3 Phase Reversal Protection
      4. 7.3.4 Thermal Protection
      5. 7.3.5 Capacitive Load and Stability
      6. 7.3.6 Common-Mode Voltage Range
      7. 7.3.7 Electrical Overstress
      8. 7.3.8 Overload Recovery
    4. 7.4 Device Functional Modes
  8. Application and Implementation
    1. 8.1 Application Information
    2. 8.2 Typical Applications
      1. 8.2.1 16-Bit Precision Multiplexed Data-Acquisition System
        1. 8.2.1.1 Design Requirements
        2. 8.2.1.2 Detailed Design Procedure
        3. 8.2.1.3 Application Curve
      2. 8.2.2 Slew-Rate Limit for Input Protection
      3. 8.2.3 Precision Reference Buffer
  9. Power Supply Recommendations
  10. 10Layout
    1. 10.1 Layout Guidelines
    2. 10.2 Layout Examples
  11. 11Device and Documentation Support
    1. 11.1 Device Support
      1. 11.1.1 Development Support
        1. 11.1.1.1 TINA-TI (Free Software Download)
    2. 11.2 Documentation Support
      1. 11.2.1 Related Documentation
    3. 11.3 Related Links
    4. 11.4 Receiving Notification of Documentation Updates
    5. 11.5 Support Resources
    6. 11.6 Trademarks
    7. 11.7 Electrostatic Discharge Caution
    8. 11.8 Glossary
  12. 12Mechanical, Packaging, and Orderable Information

Package Options

Mechanical Data (Package|Pins)
Thermal pad, mechanical data (Package|Pins)
Orderable Information

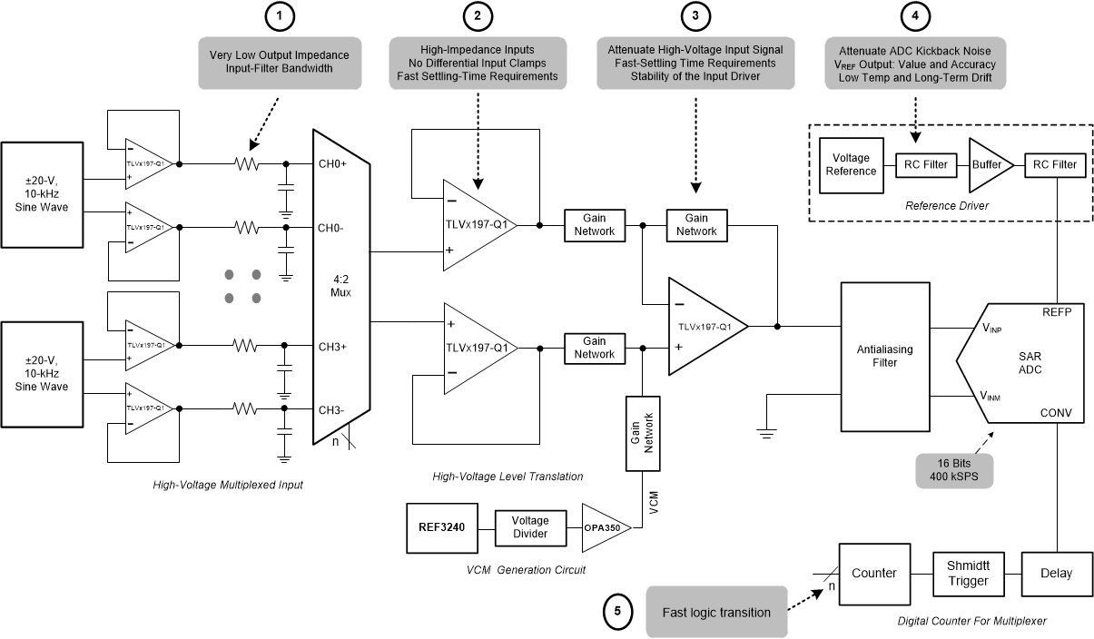
16-Bit Precision Multiplexed Data-Acquisition System

Figure 41 shows a 16-bit, differential, 4-channel, multiplexed data-acquisition system. This example is typical in sensor based applications that require low distortion and a high-voltage differential input. The circuit uses the ADS8864, a 16-bit, 400-kSPS successive-approximation-resistor (SAR) analog-to-digital converter (ADC), along with a precision, high-voltage, signal-conditioning front end, and a 4-channel differential multiplexer (mux). This TI Precision Design details the process for optimizing the precision, high-voltage, front-end drive circuit using the TLVx197-Q1 and TLV140 to achieve excellent dynamic performance and linearity with the ADS8864.

TLV197-Q1 TLV2197-Q1 TLV4197-Q1 tlv4197-q1-in-16-bit-400-ksps-4-channel-multiplexed-data-acquisition-system-for-high-voltage-inputs-with-lowest-distortion.gifFigure 41. TLVx197-Q1 in 16-Bit, 400-kSPS, 4-Channel, Multiplexed Data Acquisition System for High-Voltage Inputs With Lowest Distortion