SPRS698J November 2010 – September 2021 TMS320F28062 , TMS320F28062F , TMS320F28063 , TMS320F28064 , TMS320F28065 , TMS320F28066 , TMS320F28067 , TMS320F28068F , TMS320F28068M , TMS320F28069 , TMS320F28069F , TMS320F28069M
PRODUCTION DATA
The McBSP module has the following features:

where CLKSRG source could be LSPCLK, CLKX, or CLKR. Serial port performance is limited by I/O buffer switching speed. Internal prescalers must be adjusted such that the peripheral speed is less than the I/O buffer speed limit.
See Section 8.9 for maximum I/O pin toggling speed.
On the 80-pin package, only the clock-stop mode (SPI) of the McBSP is supported.
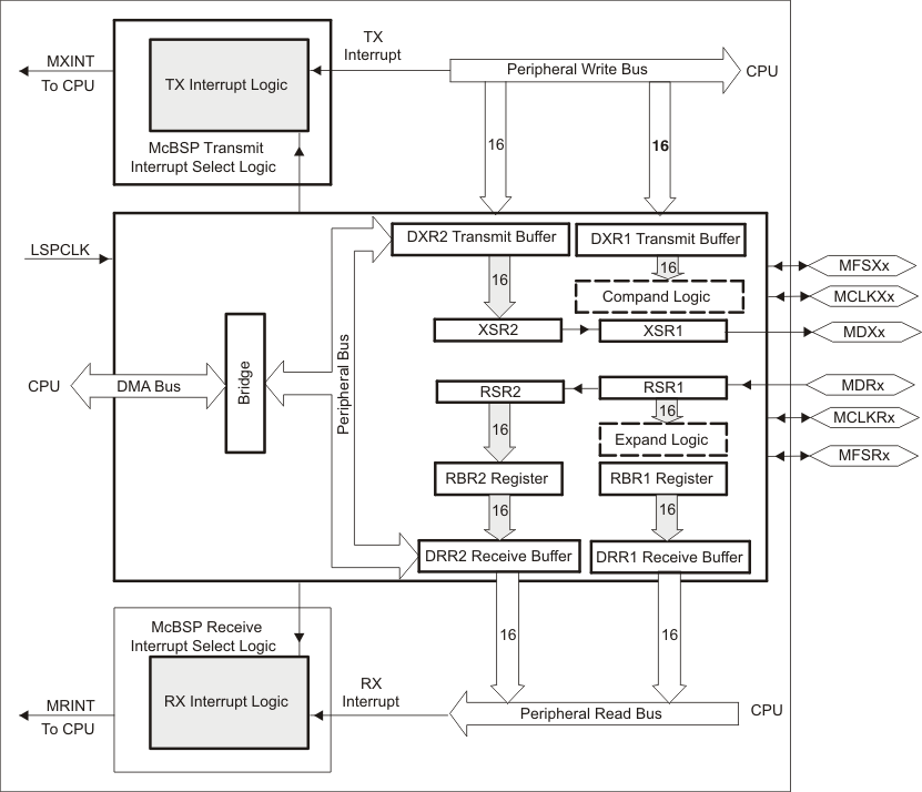
Figure 8-38 shows the block diagram of the McBSP module.
Figure 8-38 McBSP ModuleTable 8-29 provides a summary of the McBSP registers.
| NAME | McBSP-A ADDRESS | TYPE | RESET VALUE | DESCRIPTION |
|---|---|---|---|---|
| Data Registers, Receive, Transmit | ||||
| DRR2 | 0x5000 | R | 0x0000 | McBSP Data Receive Register 2 |
| DRR1 | 0x5001 | R | 0x0000 | McBSP Data Receive Register 1 |
| DXR2 | 0x5002 | W | 0x0000 | McBSP Data Transmit Register 2 |
| DXR1 | 0x5003 | W | 0x0000 | McBSP Data Transmit Register 1 |
| McBSP Control Registers | ||||
| SPCR2 | 0x5004 | R/W | 0x0000 | McBSP Serial Port Control Register 2 |
| SPCR1 | 0x5005 | R/W | 0x0000 | McBSP Serial Port Control Register 1 |
| RCR2 | 0x5006 | R/W | 0x0000 | McBSP Receive Control Register 2 |
| RCR1 | 0x5007 | R/W | 0x0000 | McBSP Receive Control Register 1 |
| XCR2 | 0x5008 | R/W | 0x0000 | McBSP Transmit Control Register 2 |
| XCR1 | 0x5009 | R/W | 0x0000 | McBSP Transmit Control Register 1 |
| SRGR2 | 0x500A | R/W | 0x0000 | McBSP Sample Rate Generator Register 2 |
| SRGR1 | 0x500B | R/W | 0x0000 | McBSP Sample Rate Generator Register 1 |
| Multichannel Control Registers | ||||
| MCR2 | 0x500C | R/W | 0x0000 | McBSP Multichannel Register 2 |
| MCR1 | 0x500D | R/W | 0x0000 | McBSP Multichannel Register 1 |
| RCERA | 0x500E | R/W | 0x0000 | McBSP Receive Channel Enable Register Partition A |
| RCERB | 0x500F | R/W | 0x0000 | McBSP Receive Channel Enable Register Partition B |
| XCERA | 0x5010 | R/W | 0x0000 | McBSP Transmit Channel Enable Register Partition A |
| XCERB | 0x5011 | R/W | 0x0000 | McBSP Transmit Channel Enable Register Partition B |
| PCR | 0x5012 | R/W | 0x0000 | McBSP Pin Control Register |
| RCERC | 0x5013 | R/W | 0x0000 | McBSP Receive Channel Enable Register Partition C |
| RCERD | 0x5014 | R/W | 0x0000 | McBSP Receive Channel Enable Register Partition D |
| XCERC | 0x5015 | R/W | 0x0000 | McBSP Transmit Channel Enable Register Partition C |
| XCERD | 0x5016 | R/W | 0x0000 | McBSP Transmit Channel Enable Register Partition D |
| RCERE | 0x5017 | R/W | 0x0000 | McBSP Receive Channel Enable Register Partition E |
| RCERF | 0x5018 | R/W | 0x0000 | McBSP Receive Channel Enable Register Partition F |
| XCERE | 0x5019 | R/W | 0x0000 | McBSP Transmit Channel Enable Register Partition E |
| XCERF | 0x501A | R/W | 0x0000 | McBSP Transmit Channel Enable Register Partition F |
| RCERG | 0x501B | R/W | 0x0000 | McBSP Receive Channel Enable Register Partition G |
| RCERH | 0x501C | R/W | 0x0000 | McBSP Receive Channel Enable Register Partition H |
| XCERG | 0x501D | R/W | 0x0000 | McBSP Transmit Channel Enable Register Partition G |
| XCERH | 0x501E | R/W | 0x0000 | McBSP Transmit Channel Enable Register Partition H |
| MFFINT | 0x5023 | R/W | 0x0000 | McBSP Interrupt Enable Register |