SCBS881F january   2010  – june 2023 TMS3705

PRODUCTION DATA  

  1.   1
  2. Features
  3. Applications
  4. Description
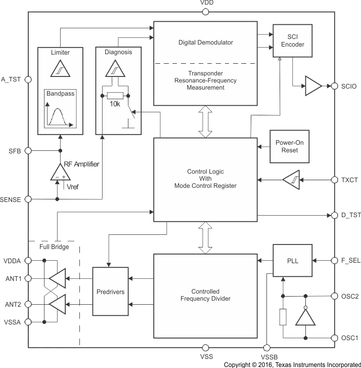
  5. Functional Block Diagram
  6. Revision History
  7. Device Characteristics
    1. 6.1 Related Products
  8. Terminal Configuration and Functions
    1. 7.1 Pin Diagram
    2. 7.2 Signal Descriptions
  9. Specifications
    1. 8.1 Absolute Maximum Ratings #GUID-D01738F0-6DD5-4A5A-BE33-2BC076228CBE/AMR001
    2. 8.2 ESD Ratings
    3. 8.3 Recommended Operating Conditions
    4. 8.4 Electrical Characteristics
    5. 8.5 Thermal Resistance Characteristics for D (SOIC) Package
    6. 8.6 Switching Characteristics
    7. 8.7 Timing Diagrams
  10. Detailed Description
    1. 9.1  Power Supply
    2. 9.2  Oscillator
    3. 9.3  Predrivers
    4. 9.4  Full Bridge
    5. 9.5  RF Amplifier
    6. 9.6  Band-Pass Filter and Limiter
    7. 9.7  Diagnosis
    8. 9.8  Power-on Reset
    9. 9.9  Frequency Divider
    10. 9.10 Digital Demodulator
    11. 9.11 Transponder Resonance-Frequency Measurement
    12. 9.12 SCI Encoder
    13. 9.13 Control Logic
    14. 9.14 Test Pins
  11. 10Applications, Implementation, and Layout
    1. 10.1 Application Diagram
  12. 11Device and Documentation Support
    1. 11.1 Getting Started and Next Steps
    2. 11.2 Device Nomenclature
    3. 11.3 Tools and Software
    4. 11.4 Documentation Support
    5. 11.5 Support Resources
    6. 11.6 Trademarks
    7. 11.7 Electrostatic Discharge Caution
    8. 11.8 Glossary
  13. 12Mechanical, Packaging, and Orderable Information

Package Options

Mechanical Data (Package|Pins)
Thermal pad, mechanical data (Package|Pins)
Orderable Information

Functional Block Diagram

Figure 4-1 shows the functional block diagram.

GUID-AFFD9D23-A12A-4567-A172-E0141EE4AA23-low.gifFigure 4-1 Functional Block Diagram