JAJS261B July   2007  – January 2018 DAC8881

PRODUCTION DATA.  

  1. 特長
  2. アプリケーション
  3. 概要
    1.     Device Images
      1.      ブロック図
  4. 改訂履歴
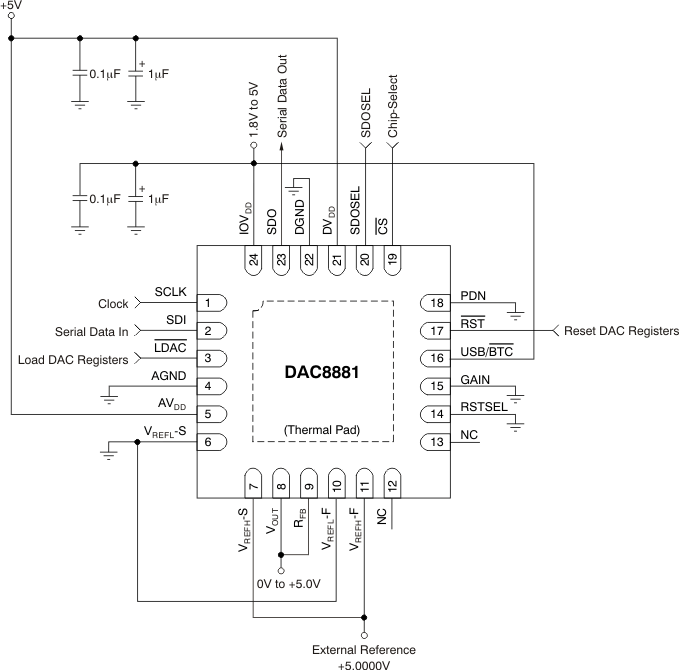
  5. Pin Configuration and Functions
    1.     Pin Functions
  6. Specifications
    1. 6.1 Absolute Maximum Ratings
    2. 6.2 ESD Ratings
    3. 6.3 Recommended Operating Conditions
    4. 6.4 Thermal Information
    5. 6.5 Electrical Characteristics
    6. 6.6 Timing Characteristics for
    7. 6.7 Timing Characteristics for and
    8. 6.8 Typical Characteristics: VDD = +5 V
    9. 6.9 TYpical Characteristics: VDD = +2.7 V
  7. Detailed Description
    1. 7.1 Overview
    2. 7.2 Functional Block Diagram
    3. 7.3 Feature Description
      1. 7.3.1  Analog Output
      2. 7.3.2  Reference Inputs
      3. 7.3.3  Output Range
      4. 7.3.4  Input Data Format
      5. 7.3.5  Hardware Reset
      6. 7.3.6  Power-On Reset
      7. 7.3.7  Program Reset Value
      8. 7.3.8  Power Down
      9. 7.3.9  Double-Buffered Interface
      10. 7.3.10 Load DAC Pin (LDAC)
        1. 7.3.10.1 Synchronous Mode
        2. 7.3.10.2 Asynchronous Mode
      11. 7.3.11 1.8 V to 5.5 V Logic Interface
    4. 7.4 Device Functional Modes
      1. 7.4.1 Serial Interface
        1. 7.4.1.1 Input Shift Register
          1. 7.4.1.1.1 Stand-Alone Mode
          2. 7.4.1.1.2 Daisy-Chain Mode
  8. Application and Implementation
    1. 8.1 Application Information
      1. 8.1.1 Bipolar Operation Using The DAC8881
    2. 8.2 Typical Application
      1. 8.2.1 DAC8881 Sample Hold Circuit
        1. 8.2.1.1 Design Requirements
        2. 8.2.1.2 Detailed Design Procedure
        3. 8.2.1.3 Application Curves
    3. 8.3 System Example
  9. Power Supply Recommendations
  10. 10Layout
    1. 10.1 Layout Guidelines
    2. 10.2 Layout Example
  11. 11デバイスおよびドキュメントのサポート
    1. 11.1 ドキュメントのサポート
      1. 11.1.1 関連資料
    2. 11.2 ドキュメントの更新通知を受け取る方法
    3. 11.3 コミュニティ・リソース
    4. 11.4 商標
    5. 11.5 静電気放電に関する注意事項
    6. 11.6 Glossary

パッケージ・オプション

メカニカル・データ(パッケージ|ピン)
サーマルパッド・メカニカル・データ
発注情報

Overview

The DAC8881 is a single-channel, 16-bit, serial-input, voltage-output digital-to-analog converter (DAC). The architecture is an R-2R ladder configuration with the four MSBs segmented, followed by an operational amplifier that serves as a buffer, as shown in Figure 66. The on-chip output buffer allows rail-to-rail output swings while providing a low output impedance to drive loads. The DAC8881 operates from a single analog power supply that ranges from 2.7 V to 5.5 V, and typically consumes 850 μA when operating with a 3-V supply. Data are written to the device in a 16-bit word format, via an SPI serial interface. To enable compatibility with 1.8 V, 3 V, or 5 V logic families, an IOVDD supply pin is provided. This pin allows the DAC8881 input and output logic to be powered from the same logic supply used to interface signals to and from the device. Internal voltage translators are included in the DAC8881 to interface digital signals to the device core. Separate AVDD and DVDD supply pins are provided, but should be connected together. See Figure 67 for the basic configuration of the DAC8881.

To ensure a known power-up state, the DAC8881 is designed with a power-on reset function. Upon power-up, the DAC8881 is reset to either zero-scale or midscale depending on the state of the RSTSEL pin. The device can also be hardware reset by using the RST and RSTSEL pins.

DAC8881 ai_arch_bas422.gifFigure 66. DAC8881 Architecture
DAC8881 ai_basic_config_bas422.gifFigure 67. Basic Configuration