JAJSG00A August   2018  – December 2018 TLV6001-Q1 , TLV6002-Q1

PRODUCTION DATA.  

  1. 特長
  2. アプリケーション
  3. 概要
    1.     CMRRおよびPSRRと温度との関係
  4. 改訂履歴
  5. Pin Configuration and Functions
    1.     Pin Functions: TLV6001-Q1
    2.     Pin Functions: TLV6002-Q1
  6. Specifications
    1. 6.1 Absolute Maximum Ratings
    2. 6.2 ESD Ratings
    3. 6.3 Recommended Operating Conditions
    4. 6.4 Thermal Information: TLV6001-Q1
    5. 6.5 Thermal Information: TLV6002-Q1
    6. 6.6 Electrical Characteristics: VS = 1.8 V to 5 V (±0.9 V to ±2.75 V)
    7. 6.7 Typical Characteristics: Table of Graphs
    8. 6.8 Typical Characteristics
  7. Detailed Description
    1. 7.1 Overview
    2. 7.2 Functional Block Diagram
    3. 7.3 Feature Description
      1. 7.3.1 Operating Voltage
      2. 7.3.2 Rail-to-Rail Input
      3. 7.3.3 Rail-to-Rail Output
      4. 7.3.4 Common-Mode Rejection Ratio (CMRR)
      5. 7.3.5 Capacitive Load and Stability
      6. 7.3.6 EMI Susceptibility and Input Filtering
    4. 7.4 Device Functional Modes
    5. 7.5 Input and ESD Protection
  8. Application and Implementation
    1. 8.1 Application Information
    2. 8.2 Typical Application
      1. 8.2.1 Design Requirements
      2. 8.2.2 Detailed Design Procedure
      3. 8.2.3 Application Curve
    3. 8.3 System Examples
  9. Power Supply Recommendations
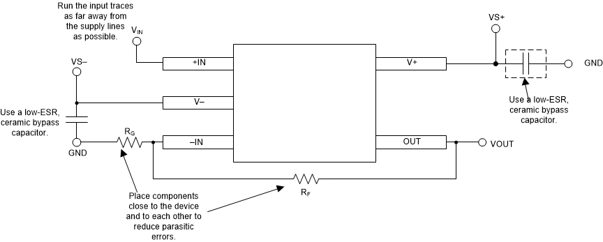
  10. 10Layout
    1. 10.1 Layout Guidelines
    2. 10.2 Layout Example: Single Channel
    3. 10.3 Layout Example: Dual Channel
  11. 11デバイスおよびドキュメントのサポート
    1. 11.1 ドキュメントのサポート
      1. 11.1.1 関連資料
    2. 11.2 関連リンク
    3. 11.3 ドキュメントの更新通知を受け取る方法
    4. 11.4 コミュニティ・リソース
    5. 11.5 商標
    6. 11.6 静電気放電に関する注意事項
    7. 11.7 Glossary
  12. 12メカニカル、パッケージ、および注文情報

パッケージ・オプション

デバイスごとのパッケージ図は、PDF版データシートをご参照ください。

メカニカル・データ(パッケージ|ピン)
  • DCK|5
サーマルパッド・メカニカル・データ
発注情報

Layout Example: Single Channel

TLV6001-Q1 TLV6002-Q1 SC70_layout_example_SBOS779.gifFigure 25. Operational Amplifier Board Layout for Noninverting Configuration
TLV6001-Q1 TLV6002-Q1 sch_rep_sbos785.gifFigure 26. Schematic Representation of Figure 25