JAJSCF6G July   2016  – December  2019 TPS2660

PRODUCTION DATA.  

  1. 特長
  2. アプリケーション
    1.     概略回路図
  3. 概要
    1.     -60V電源における入力逆極性保護
  4. 改訂履歴
  5. 概要(続き)
  6. Device Comparison Table
  7. Pin Configuration and Functions
    1.     Pin Functions
  8. Specifications
    1. 8.1 Absolute Maximum Ratings
    2. 8.2 ESD Ratings
    3. 8.3 Recommended Operating Conditions
    4. 8.4 Thermal Information
    5. 8.5 Electrical Characteristics
    6. 8.6 Timing Requirements
    7. 8.7 Typical Characteristics
  9. Parameter Measurement Information
  10. 10Detailed Description
    1. 10.1 Overview
    2. 10.2 Functional Block Diagram
    3. 10.3 Feature Description
      1. 10.3.1 Undervoltage Lockout (UVLO)
      2. 10.3.2 Overvoltage Protection (OVP)
      3. 10.3.3 Reverse Input Supply Protection
      4. 10.3.4 Hot Plug-In and In-Rush Current Control
      5. 10.3.5 Overload and Short Circuit Protection
        1. 10.3.5.1 Overload Protection
          1. 10.3.5.1.1 Active Current Limiting
          2. 10.3.5.1.2 Electronic Circuit Breaker with Overload Timeout, MODE = OPEN
        2. 10.3.5.2 Short Circuit Protection
          1. 10.3.5.2.1 Start-Up With Short-Circuit On Output
        3. 10.3.5.3 FAULT Response
          1. 10.3.5.3.1 Look Ahead Overload Current Fault Indicator
        4. 10.3.5.4 Current Monitoring
        5. 10.3.5.5 IN, OUT, RTN, and GND Pins
        6. 10.3.5.6 Thermal Shutdown
        7. 10.3.5.7 Low Current Shutdown Control (SHDN)
    4. 10.4 Device Functional Modes
  11. 11Application and Implementation
    1. 11.1 Application Information
    2. 11.2 Typical Application
      1. 11.2.1 Design Requirements
      2. 11.2.2 Detailed Design Procedure
        1. 11.2.2.1 Step by Step Design Procedure
        2. 11.2.2.2 Programming the Current-Limit Threshold—R(ILIM) Selection
        3. 11.2.2.3 Undervoltage Lockout and Overvoltage Set Point
        4. 11.2.2.4 Programming Current Monitoring Resistor—RIMON
        5. 11.2.2.5 Setting Output Voltage Ramp Time—(tdVdT)
          1. 11.2.2.5.1 Case 1: Start-Up Without Load—Only Output Capacitance C(OUT) Draws Current During Start-Up
          2. 11.2.2.5.2 Case 2: Start-Up With Load—Output Capacitance C(OUT) and Load Draws Current During Start-Up
          3. 11.2.2.5.3 Support Component Selections—RFLTb and C(IN)
      3. 11.2.3 Application Curves
    3. 11.3 System Examples
      1. 11.3.1 Acive ORing Operation
      2. 11.3.2 Field Supply Protection in PLC, DCS I/O Modules
      3. 11.3.3 Simple 24-V Power Supply Path Protection
    4. 11.4 Do's and Don'ts
  12. 12Power Supply Recommendations
    1. 12.1 Transient Protection
  13. 13Layout
    1. 13.1 Layout Guidelines
    2. 13.2 Layout Example
  14. 14デバイスおよびドキュメントのサポート
    1. 14.1 デバイス・サポート
    2. 14.2 ドキュメントのサポート
      1. 14.2.1 関連資料
    3. 14.3 ドキュメントの更新通知を受け取る方法
    4. 14.4 コミュニティ・リソース
    5. 14.5 商標
    6. 14.6 静電気放電に関する注意事項
    7. 14.7 Glossary
  15. 15メカニカル、パッケージ、および注文情報

パッケージ・オプション

デバイスごとのパッケージ図は、PDF版データシートをご参照ください。

メカニカル・データ(パッケージ|ピン)
  • RHF|24
  • PWP|16
サーマルパッド・メカニカル・データ
発注情報

Field Supply Protection in PLC, DCS I/O Modules

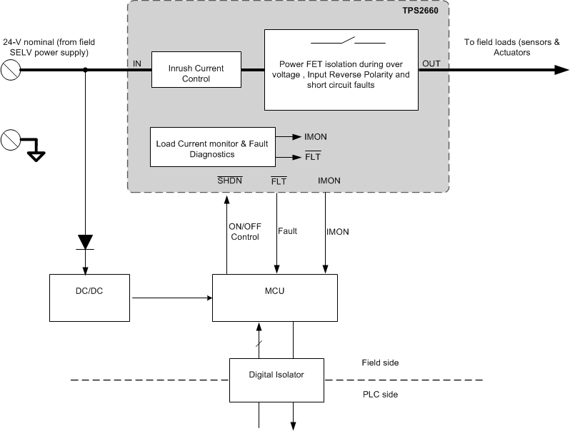
TPS2660 System_Example_3_SLVSDG2.gifFigure 68. Power Delivery Circuit Block Diagram in I/O Modules

The PLC or Distributed Control System (DCS) I/O modules are often connected to an external field power supply to support higher power requirements of the field loads like sensors and actuators. Power-supply faults or miswiring can damage the loads or cause the loads not to operate correctly. The TPS2660x can be used as a front end protection circuit to protect and provide stable supply to the field loads. Under voltage, Over voltage and reverse polarity protection features of the TPS2660x prevent the loads to experience voltages outside the operating range, which can permanently damage the loads.

Field power supply is often connected to multiple I/O modules and is capable of delivering more current than a single I/O module can handle. Overcurrent protection scheme of the TPS2660x limits the current from the power supply to the module so that the maximum current does not rise above what the board is designed for. Fast short circuit protection scheme isolates the faulty load from the field supply quickly and prevents the field supply to dip and cause interrupts in the other I/O modules connected to the same field supply. High accurate (±5% at 1 A) current limit facilitates more I/O modules to be connected to field supply. Load current monitor (IMON) and fault indication (FLT) features facilitate continuous load monitoring.

The TPS2660x also acts as a smart diode with protection against reverse current during output side miswiring. Reverse current can potentially damage the field power supply and cause the I/O modules to run hot or may cause permanent damage.

If the field power supply is connected in reverse polarity (which is not unlikely as field power supplies are usually connected with screw terminals), field loads can permanently get damaged due to the reverse voltage. The reverse polarity protection feature of the TPS2660x prevents the reverse voltage to appear at the load side.