JAJS456G July   2009  – August 2016 ADS1146 , ADS1147 , ADS1148

PRODUCTION DATA.  

  1. 特長
  2. アプリケーション
  3. 概要
  4. 改訂履歴
  5. Device Comparison Table
  6. Pin Configuration and Functions
  7. Specifications
    1. 7.1 Absolute Maximum Ratings
    2. 7.2 ESD Ratings
    3. 7.3 Recommended Operating Conditions
    4. 7.4 Thermal Information
    5. 7.5 Electrical Characteristics
    6. 7.6 Timing Requirements
    7. 7.7 Switching Characteristics
    8. 7.8 Typical Characteristics
  8. Parameter Measurement Information
    1. 8.1 Noise Performance
  9. Detailed Description
    1. 9.1 Overview
    2. 9.2 Functional Block Diagrams
    3. 9.3 Feature Description
      1. 9.3.1  ADC Input and Multiplexer
      2. 9.3.2  Low-Noise PGA
        1. 9.3.2.1 PGA Common-Mode Voltage Requirements
        2. 9.3.2.2 PGA Common-Mode Voltage Calculation Example
        3. 9.3.2.3 Analog Input Impedance
      3. 9.3.3  Clock Source
      4. 9.3.4  Modulator
      5. 9.3.5  Digital Filter
      6. 9.3.6  Voltage Reference Input
      7. 9.3.7  Internal Voltage Reference
      8. 9.3.8  Excitation Current Sources
      9. 9.3.9  Sensor Detection
      10. 9.3.10 Bias Voltage Generation
      11. 9.3.11 General-Purpose Digital I/O
      12. 9.3.12 System Monitor
        1. 9.3.12.1 Power-Supply Monitor
        2. 9.3.12.2 External Voltage Reference Monitor
        3. 9.3.12.3 Ambient Temperature Monitor
    4. 9.4 Device Functional Modes
      1. 9.4.1 Power Up
      2. 9.4.2 Reset
      3. 9.4.3 Power-Down Mode
      4. 9.4.4 Conversion Control
        1. 9.4.4.1 Settling Time for Channel Multiplexing
        2. 9.4.4.2 Channel Cycling and Overload Recovery
        3. 9.4.4.3 Single-Cycle Settling
        4. 9.4.4.4 Digital Filter Reset Operation
      5. 9.4.5 Calibration
        1. 9.4.5.1 Offset Calibration Register: OFC[2:0]
        2. 9.4.5.2 Full-Scale Calibration Register: FSC[2:0]
        3. 9.4.5.3 Calibration Commands
          1. 9.4.5.3.1 System Offset and Self Offset Calibration
          2. 9.4.5.3.2 System Gain Calibration
        4. 9.4.5.4 Calibration Timing
    5. 9.5 Programming
      1. 9.5.1 Digital Interface
        1. 9.5.1.1 Chip Select (CS)
        2. 9.5.1.2 Serial Clock (SCLK)
        3. 9.5.1.3 Data Input (DIN)
        4. 9.5.1.4 Data Ready (DRDY)
        5. 9.5.1.5 Data Output and Data Ready (DOUT/DRDY)
        6. 9.5.1.6 SPI Reset
        7. 9.5.1.7 SPI Communication During Power-Down Mode
      2. 9.5.2 Data Format
      3. 9.5.3 Commands
        1. 9.5.3.1  WAKEUP (0000 000x)
        2. 9.5.3.2  SLEEP (0000 001x)
        3. 9.5.3.3  SYNC (0000 010x)
        4. 9.5.3.4  RESET (0000 011x)
        5. 9.5.3.5  RDATA (0001 001x)
        6. 9.5.3.6  RDATAC (0001 010x)
        7. 9.5.3.7  SDATAC (0001 011x)
        8. 9.5.3.8  RREG (0010 rrrr, 0000 nnnn)
        9. 9.5.3.9  WREG (0100 rrrr, 0000 nnnn)
        10. 9.5.3.10 SYSOCAL (0110 0000)
        11. 9.5.3.11 SYSGCAL (0110 0001)
        12. 9.5.3.12 SELFOCAL (0110 0010)
        13. 9.5.3.13 NOP (1111 1111)
        14. 9.5.3.14 Restricted Command (1111 0001)
    6. 9.6 Register Maps
      1. 9.6.1 ADS1146 Register Map
      2. 9.6.2 ADS1146 Detailed Register Definitions
        1. 9.6.2.1 BCS—Burn-out Current Source Register (offset = 00h) [reset = 01h]
        2. 9.6.2.2 VBIAS—Bias Voltage Register (offset = 01h) [reset = 00h]
        3. 9.6.2.3 MUX—Multiplexer Control Register (offset = 02h) [reset = x0h]
        4. 9.6.2.4 SYS0—System Control Register 0 (offset = 03h) [reset = 00h]
        5. 9.6.2.5 OFC—Offset Calibration Coefficient Registers (offset = 04h, 05h, 06h) [reset = 00h, 00h, 00h]
        6. 9.6.2.6 FSC—Full-Scale Calibration Coefficient Registers (offset = 07h, 08h, 09h) [reset = 00h, 00h, 40h]
        7. 9.6.2.7 ID—ID Register (offset = 0Ah) [reset = x0h]
      3. 9.6.3 ADS1147 and ADS1148 Register Map
      4. 9.6.4 ADS1147 and ADS1148 Detailed Register Definitions
        1. 9.6.4.1  MUX0—Multiplexer Control Register 0 (offset = 00h) [reset = 01h]
        2. 9.6.4.2  VBIAS—Bias Voltage Register (offset = 01h) [reset = 00h]
        3. 9.6.4.3  MUX1—Multiplexer Control Register 1 (offset = 02h) [reset = x0h]
        4. 9.6.4.4  SYS0—System Control Register 0 (offset = 03h) [reset = 00h]
        5. 9.6.4.5  OFC—Offset Calibration Coefficient Register (offset = 04h, 05h, 06h) [reset = 00h, 00h, 00h]
        6. 9.6.4.6  FSC—Full-Scale Calibration Coefficient Register (offset = 07h, 08h, 09h) [reset = 00h, 00h, 40h]
        7. 9.6.4.7  IDAC0—IDAC Control Register 0 (offset = 0Ah) [reset = x0h]
        8. 9.6.4.8  IDAC1—IDAC Control Register 1 (offset = 0Bh) [reset = FFh]
        9. 9.6.4.9  GPIOCFG—GPIO Configuration Register (offset = 0Ch) [reset = 00h]
        10. 9.6.4.10 GPIODIR—GPIO Direction Register (offset = 0Dh) [reset = 00h]
        11. 9.6.4.11 GPIODAT—GPIO Data Register (offset = 0Eh) [reset = 00h]
  10. 10Application and Implementation
    1. 10.1 Application Information
      1. 10.1.1 Serial Interface Connections
      2. 10.1.2 Analog Input Filtering
      3. 10.1.3 External Reference and Ratiometric Measurements
      4. 10.1.4 Establishing a Proper Common-Mode Input Voltage
      5. 10.1.5 Isolated (or Floating) Sensor Inputs
      6. 10.1.6 Unused Inputs and Outputs
      7. 10.1.7 Pseudo Code Example
      8. 10.1.8 Channel Multiplexing Example
      9. 10.1.9 Power-Down Mode Example
    2. 10.2 Typical Applications
      1. 10.2.1 Ratiometric 3-Wire RTD Measurement System
        1. 10.2.1.1 Design Requirements
        2. 10.2.1.2 Detailed Design Procedure
          1. 10.2.1.2.1 Topology
          2. 10.2.1.2.2 RTD Selection
          3. 10.2.1.2.3 Excitation Current
          4. 10.2.1.2.4 Reference Resistor, RREF
          5. 10.2.1.2.5 PGA Setting
          6. 10.2.1.2.6 Common-Mode Input Range
          7. 10.2.1.2.7 Input and Reference Low-Pass Filters
          8. 10.2.1.2.8 Register Settings
        3. 10.2.1.3 Application Curves
      2. 10.2.2 K-Type Thermocouple Measurement (-200°C to 1250°C) With Cold-Junction Compensation
        1. 10.2.2.1 Design Requirements
        2. 10.2.2.2 Detailed Design Procedure
          1. 10.2.2.2.1 Biasing Resistors
          2. 10.2.2.2.2 Input Filtering
          3. 10.2.2.2.3 PGA Setting
          4. 10.2.2.2.4 Cold-Junction Measurement
          5. 10.2.2.2.5 Calculated Resolution
          6. 10.2.2.2.6 Register Settings
    3. 10.3 Do's and Don'ts
  11. 11Power Supply Recommendations
    1. 11.1 Power Supply Sequencing
    2. 11.2 Power Supply Decoupling
  12. 12Layout
    1. 12.1 Layout Guidelines
    2. 12.2 Layout Example
  13. 13デバイスおよびドキュメントのサポート
    1. 13.1 ドキュメントのサポート
      1. 13.1.1 関連資料
    2. 13.2 関連リンク
    3. 13.3 ドキュメントの更新通知を受け取る方法
    4. 13.4 コミュニティ・リソース
    5. 13.5 商標
    6. 13.6 静電気放電に関する注意事項
    7. 13.7 Glossary
  14. 14メカニカル、パッケージ、および注文情報

12 Layout

12.1 Layout Guidelines

TI recommends employing best design practices when laying out a printed-circuit board (PCB) for both analog and digital components. This recommendation generally means that the layout separates analog components [such as ADCs, amplifiers, references, digital-to-analog converters (DACs), and analog MUXs] from digital components [such as microcontrollers, complex programmable logic devices (CPLDs), field-programmable gate arrays (FPGAs), radio frequency (RF) transceivers, universal serial bus (USB) transceivers, and switching regulators]. An example of good component placement is shown in Figure 91. Although Figure 91 provides a good example of component placement, the best placement for each application is unique to the geometries, components, and PCB fabrication capabilities employed. That is, there is no single layout that is perfect for every design and careful consideration must always be used when designing with any analog component.

ADS1146 ADS1147 ADS1148 ai_comp_plcmt_bas501.gif Figure 91. System Component Placement

The following outlines some basic recommendations for the layout of the ADS1148 to get the best possible performance of the ADC. A good design can be ruined with a bad circuit layout.

  • Separate analog and digital signals. To start, partition the board into analog and digital sections where the layout permits. Route digital lines away from analog lines. This prevents digital noise from coupling back into analog signals.
  • The ground plane can be split into an analog plane (AGND) and digital plane (DGND), but this is not necessary. Place digital signals over the digital plane, and analog signals over the analog plane. As a final step in the layout, the split between the analog and digital grounds must be connected to together at the ADC.
  • Fill void areas on signal layers with ground fill.
  • Provide good ground return paths. Signal return currents flow on the path of least impedance. If the ground plane is cut or has other traces that block the current from flowing right next to the signal trace, it has to find another path to return to the source and complete the circuit. If it is forced into a larger path, it increases the chance that the signal radiates. Sensitive signals are more susceptible to EMI interference.
  • Use bypass capacitors on supplies to reduce high frequency noise. Do not place vias between bypass capacitors and the active device. Placing the bypass capacitors on the same layer as close to the active device yields the best results.
  • Consider the resistance and inductance of the routing. Often, traces for the inputs have resistances that react with the input bias current and cause an added error voltage. Reducing the loop area enclosed by the source signal and the return current reduces the inductance in the path. Reducing the inductance reduces the EMI pickup and reduce the high frequency impedance seen by the device.
  • Watch for parasitic thermocouples in the layout. Dissimilar metals going from each analog input to the sensor may create a parasitic themocouple which can add an offset to the measurement. Differential inputs must be matched for both the inputs going to the measurement source.
  • Analog inputs with differential connections must have a capacitor placed differentially across the inputs. Best input combinations for differential measurements use adjacent analog input lines such as AIN0, AIN1 and AIN2, AIN3. The differential capacitors must be of high quality. The best ceramic chip capacitors are C0G (NPO), which have stable properties and low noise characteristics.

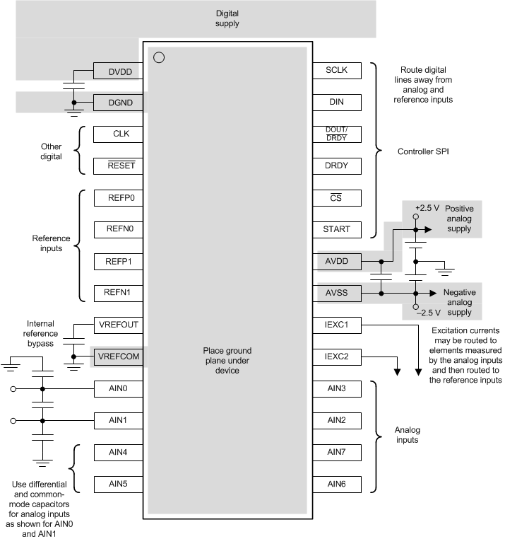
12.2 Layout Example

ADS1146 ADS1147 ADS1148 ai_layout_example_sbas426.gif Figure 92. ADS114x Layout Example