JAJSLO2C March   2021  – January 2024 AWR1843AOP

PRODUCTION DATA  

  1.   1
  2. 特長
  3. アプリケーション
  4. 概要
    1. 3.1 機能ブロック図
  5. Device Comparison
    1. 4.1 Related Products
  6. Terminal Configuration and Functions
    1. 5.1 Pin Diagram
    2. 5.2 Pin Attributes
    3. 5.3 Signal Descriptions
      1. 5.3.1 Pin Functions - Digital and Analog [ALP Package]
  7. Specifications
    1. 6.1  Absolute Maximum Ratings
    2. 6.2  ESD Ratings
    3. 6.3  Power-On Hours (POH)
    4. 6.4  Recommended Operating Conditions
    5. 6.5  Power Supply Specifications
    6. 6.6  Power Consumption Summary
    7. 6.7  RF Specification
    8. 6.8  CPU Specifications
    9. 6.9  Thermal Resistance Characteristics for FCBGA Package [ALP0180A]
    10. 6.10 Timing and Switching Characteristics
      1. 6.10.1  Antenna Radiation Patterns
        1. 6.10.1.1 Antenna Radiation Patterns for Receiver
        2. 6.10.1.2 Antenna Radiation Patterns for Transmitter
      2. 6.10.2  Antenna Positions
      3. 6.10.3  Power Supply Sequencing and Reset Timing
      4. 6.10.4  Input Clocks and Oscillators
        1. 6.10.4.1 Clock Specifications
      5. 6.10.5  Multibuffered / Standard Serial Peripheral Interface (MibSPI)
        1. 6.10.5.1 Peripheral Description
        2. 6.10.5.2 MibSPI Transmit and Receive RAM Organization
          1. 6.10.5.2.1 SPI Timing Conditions
          2. 6.10.5.2.2 SPI Controller Mode Switching Parameters (CLOCK PHASE = 0, SPICLK = output, SPISIMO = output, and SPISOMI = input)
          3. 6.10.5.2.3 SPI Controller Mode Switching Parameters (CLOCK PHASE = 1, SPICLK = output, SPISIMO = output, and SPISOMI = input)
        3. 6.10.5.3 SPI Peripheral Mode I/O Timings
          1. 6.10.5.3.1 SPI Peripheral Mode Switching Parameters (SPICLK = input, SPISIMO = input, and SPISOMI = output)
        4. 6.10.5.4 Typical Interface Protocol Diagram (Slave Mode)
      6. 6.10.6  LVDS Interface Configuration
        1. 6.10.6.1 LVDS Interface Timings
      7. 6.10.7  General-Purpose Input/Output
        1. 6.10.7.1 Switching Characteristics for Output Timing versus Load Capacitance (CL) #GUID-4685AB93-A014-47EA-9F05-952FFC28DBFA/T4362547-45 #GUID-4685AB93-A014-47EA-9F05-952FFC28DBFA/T4362547-50
      8. 6.10.8  Controller Area Network Interface (DCAN)
        1. 6.10.8.1 Dynamic Characteristics for the DCANx TX and RX Pins
      9. 6.10.9  Controller Area Network - Flexible Data-rate (CAN-FD)
        1. 6.10.9.1 Dynamic Characteristics for the CANx TX and RX Pins
      10. 6.10.10 Serial Communication Interface (SCI)
        1. 6.10.10.1 SCI Timing Requirements
      11. 6.10.11 Inter-Integrated Circuit Interface (I2C)
        1. 6.10.11.1 I2C Timing Requirements #GUID-64613E7E-5DDF-4B01-8FA0-13739060F368/T4362547-185
      12. 6.10.12 Quad Serial Peripheral Interface (QSPI)
        1. 6.10.12.1 QSPI Timing Conditions
        2. 6.10.12.2 Timing Requirements for QSPI Input (Read) Timings #GUID-6A95C194-2C40-46FE-9793-4574200DA2C4/T4362547-210 #GUID-6A95C194-2C40-46FE-9793-4574200DA2C4/T4362547-209
        3. 6.10.12.3 QSPI Switching Characteristics
      13. 6.10.13 ETM Trace Interface
        1. 6.10.13.1 ETMTRACE Timing Conditions
        2. 6.10.13.2 ETM TRACE Switching Characteristics
      14. 6.10.14 Data Modification Module (DMM)
        1. 6.10.14.1 DMM Timing Requirements
      15. 6.10.15 JTAG Interface
        1. 6.10.15.1 JTAG Timing Conditions
        2. 6.10.15.2 Timing Requirements for IEEE 1149.1 JTAG
        3. 6.10.15.3 Switching Characteristics Over Recommended Operating Conditions for IEEE 1149.1 JTAG
  8. Detailed Description
    1. 7.1 Overview
    2. 7.2 Functional Block Diagram
    3. 7.3 Subsystems
      1. 7.3.1 RF and Analog Subsystem
        1. 7.3.1.1 Clock Subsystem
        2. 7.3.1.2 Transmit Subsystem
        3. 7.3.1.3 Receive Subsystem
      2. 7.3.2 Processor Subsystem
      3. 7.3.3 Automotive Interface
      4. 7.3.4 Main Subsystem Cortex-R4F Memory Map
      5. 7.3.5 DSP Subsystem Memory Map
    4. 7.4 Other Subsystems
      1. 7.4.1 ADC Channels (Service) for User Application
        1. 7.4.1.1 GP-ADC Parameter
  9. Monitoring and Diagnostics
    1. 8.1 Monitoring and Diagnostic Mechanisms
      1. 8.1.1 Error Signaling Module
  10. Applications, Implementation, and Layout
    1. 9.1 Application Information
    2. 9.2 Reference Schematic
  11. 10Device and Documentation Support
    1. 10.1 Device Nomenclature
    2. 10.2 Tools and Software
    3. 10.3 Documentation Support
    4. 10.4 サポート・リソース
    5. 10.5 Trademarks
    6. 10.6 静電気放電に関する注意事項
    7. 10.7 用語集
  12. 11Revision History
  13. 12Mechanical, Packaging, and Orderable Information
    1. 12.1 Packaging Information

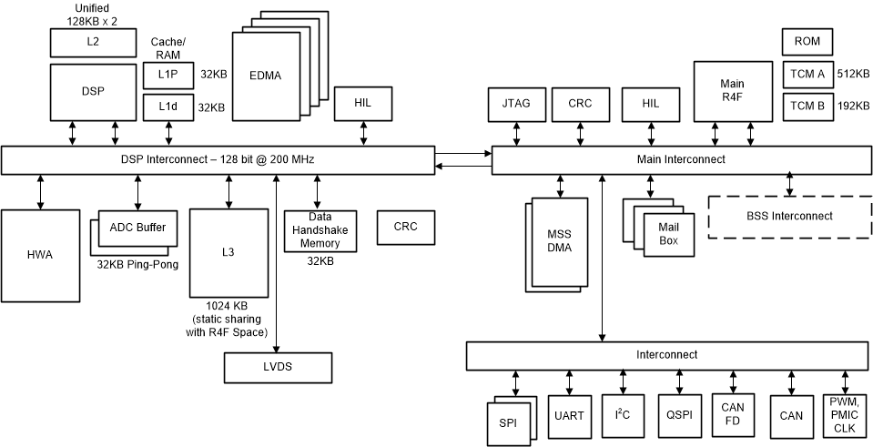
Processor Subsystem

GUID-3EBCFC11-0CEF-4F35-9EC8-C329B48323FF-low.gif Figure 7-4 Processor Subsystem

Figure 7-4 shows the block diagram for customer programmable processor subsystems in the AWR1843AOP device. At a high level there are two customer programmable subsystems. Left hand side shows the DSP Subsystem which contains TI's high-performance C674x DSP, a high-bandwidth interconnect for high performance (128-bit, 200MHz) and associated peripherals – four DMAs for data transfer,

LVDS interface for Measurement data output, L3 Radar data cube memory, ADC buffers, CRC engine, and data handshake memory (additional memory provided on interconnect).

The right side of the diagram shows the Main subsystem. Main subsystem as name suggests is the main device and controls all the device peripherals and house-keeping activities of the device. Main subsystem contains Cortex-R4F (MSS R4F) processor and associated peripherals and house-keeping components such as DMAs, CRC and Peripherals (I2C, UART, SPIs, CAN, PMIC clocking module, PWM, and others) connected to Main Interconnect through Peripheral Central Resource (PCR interconnect).

Details of the DSP CPU core can be found at http://www.ti.com/product/TMS320C6748.

HIL module is shown in both the subsystems and can be used to perform the radar operations feeding the captured data from outside into the device without involving the RF subsystem. HIL on MSS is for controlling the configuration and HIL on DSPSS for high speed ADC data input to the device. Both HIL modules uses the same IOs on the device, one additional IO (DMM_MUX_IN) allows selecting either of the two.