SNVAA25A January 2022 – July 2022 DP83TD510E , ESDS302 , LM5155 , LM66100 , MSP430FR2476 , TL431LI , TLV3012
It is important to understand the functions of both the PD and PSE before designing the PoDL system. The PSE has 4 main functions according to the IEEE standards. From the IEEE 802.3bu standard, the main functions of the PSE include:
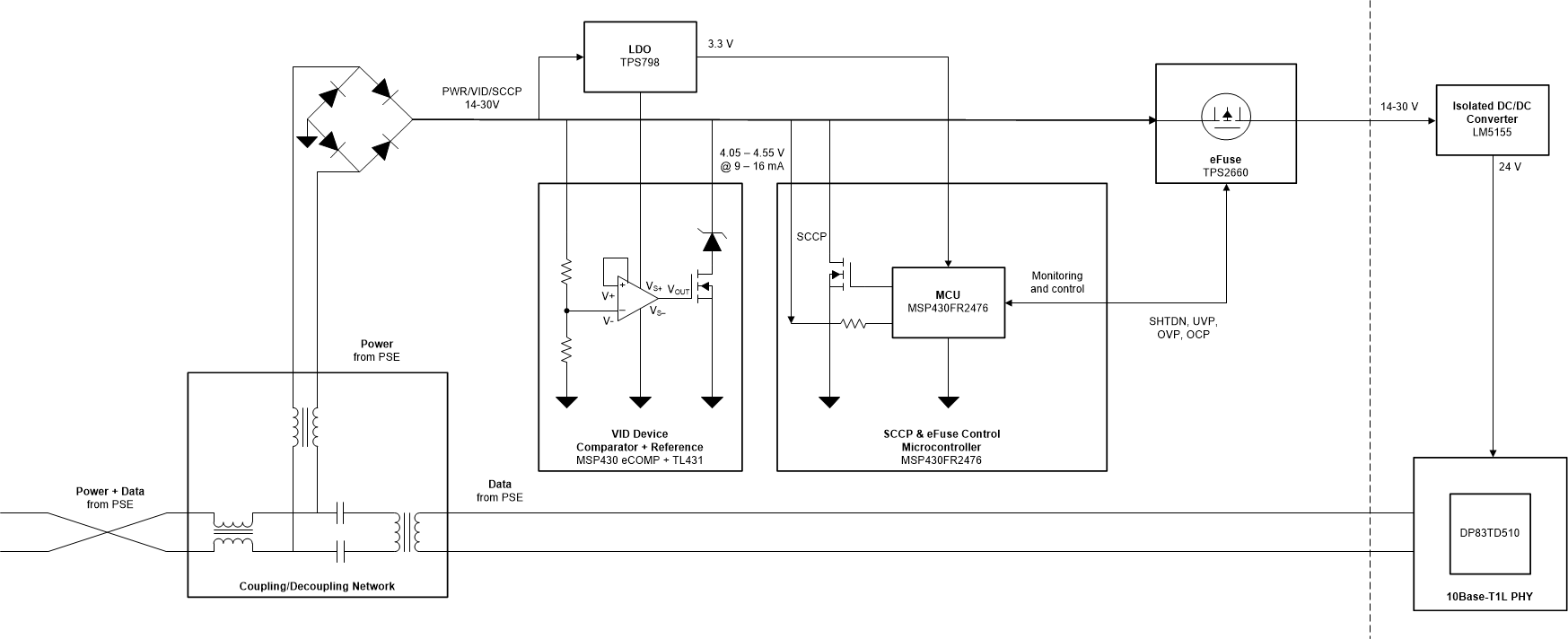
Conversely, the PD, is simply the portion of a device that draws power from the link or the portion that participates in the detection or classification algorithms. The PD system presented in this document includes:
Figure 3-1 shows these system blocks.
