SPRS698J November 2010 – September 2021 TMS320F28062 , TMS320F28062F , TMS320F28063 , TMS320F28064 , TMS320F28065 , TMS320F28066 , TMS320F28067 , TMS320F28068F , TMS320F28068M , TMS320F28069 , TMS320F28069F , TMS320F28069M
PRODUCTION DATA
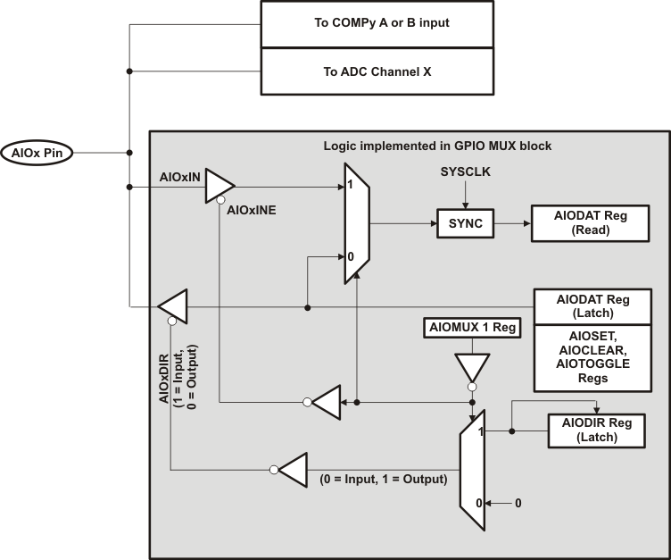
Figure 8-29 AIOx Pin MultiplexingThe ADC channel and Comparator functions are always available. The digital I/O function is available only when the respective bit in the AIOMUX1 register is 0. In this mode, reading the AIODAT register reflects the actual pin state.
The digital I/O function is disabled when the respective bit in the AIOMUX1 register is 1. In this mode, reading the AIODAT register reflects the output latch of the AIODAT register and the input digital I/O buffer is disabled to prevent analog signals from generating noise.
On reset, the digital function is disabled. If the pin is used as an analog input, users should keep the AIO function disabled for that pin.