SPRS657F February   2010  ā€“ January 2017 AM1705

PRODUCTION DATA.  

  1. 1Device Overview
    1. 1.1 Features
    2. 1.2 Applications
    3. 1.3 Description
    4. 1.4 Functional Block Diagram
  2. 2Revision History
  3. 3Device Comparison
    1. 3.1 Device Characteristics
    2. 3.2 Device Compatibility
    3. 3.3 ARM Subsystem
      1. 3.3.1 ARM926EJ-S RISC CPU
      2. 3.3.2 CP15
      3. 3.3.3 MMU
      4. 3.3.4 Caches and Write Buffer
      5. 3.3.5 Advanced High-Performance Bus (AHB)
      6. 3.3.6 Embedded Trace Macrocell (ETM) and Embedded Trace Buffer (ETB)
      7. 3.3.7 ARM Memory Mapping
    4. 3.4 Memory Map Summary
    5. 3.5 Pin Assignments
      1. 3.5.1 Pin Map (Bottom View)
    6. 3.6 Terminal Functions
      1. 3.6.1  Device Reset and JTAG
      2. 3.6.2  High-Frequency Oscillator and PLL
      3. 3.6.3  External Memory Interface A (ASYNC)
      4. 3.6.4  External Memory Interface B (SDRAM only)
      5. 3.6.5  Serial Peripheral Interface Modules (SPI0, SPI1)
      6. 3.6.6  Enhanced Capture/Auxiliary PWM Modules (eCAP0, eCAP1, eCAP2)
      7. 3.6.7  Enhanced Pulse Width Modulators (eHRPWM0, eHRPWM1, eHRPWM2)
      8. 3.6.8  Enhanced Quadrature Encoder Pulse Module (eQEP)
      9. 3.6.9  Boot
      10. 3.6.10 Universal Asynchronous Receiver/Transmitters (UART0, UART1, UART2)
      11. 3.6.11 Inter-Integrated Circuit Modules(I2C0, I2C1)
      12. 3.6.12 Timers
      13. 3.6.13 Multichannel Audio Serial Ports (McASP0, McASP1)
      14. 3.6.14 Universal Serial Bus Modules (USB0)
      15. 3.6.15 Ethernet Media Access Controller (EMAC)
      16. 3.6.16 Multimedia Card/Secure Digital (MMC/SD)
      17. 3.6.17 Reserved and No Connect
      18. 3.6.18 Supply and Ground
      19. 3.6.19 Unused USB0 (USB2.0) Pin Configurations
  4. 4Device Configuration
    1. 4.1 Boot Modes
    2. 4.2 SYSCFG Module
    3. 4.3 Pullup/Pulldown Resistors
  5. 5Device Operating Conditions
    1. 5.1 Absolute Maximum Ratings Over Operating Junction Temperature Range (Unless Otherwise Noted)
    2. 5.2 Handling Ratings
    3. 5.3 Recommended Operating Conditions
    4. 5.4 Notes on Recommended Power-On Hours (POH)
    5. 5.5 Electrical Characteristics Over Recommended Ranges of Supply Voltage and Operating Junction Temperature (Unless Otherwise Noted)
  6. 6Peripheral Information and Electrical Specifications
    1. 6.1  Parameter Information
      1. 6.1.1 Parameter Information Device-Specific Information
        1. 6.1.1.1 Signal Transition Levels
    2. 6.2  Recommended Clock and Control Signal Transition Behavior
    3. 6.3  Power Supplies
      1. 6.3.1 Power-on Sequence
      2. 6.3.2 Power-off Sequence
    4. 6.4  Reset
      1. 6.4.1 Power-On Reset (POR)
      2. 6.4.2 Warm Reset
      3. 6.4.3 Reset Electrical Data Timings
    5. 6.5  Crystal Oscillator or External Clock Input
    6. 6.6  Clock PLLs
      1. 6.6.1 PLL Device-Specific Information
      2. 6.6.2 Device Clock Generation
      3. 6.6.3 PLL Controller 0 Registers
    7. 6.7  Interrupts
      1. 6.7.1 ARM CPU Interrupts
        1. 6.7.1.1 ARM Interrupt Controller (AINTC) Interrupt Signal Hierarchy
        2. 6.7.1.2 AINTC Hardware Vector Generation
        3. 6.7.1.3 AINTC Hardware Interrupt Nesting Support
        4. 6.7.1.4 AINTC System Interrupt Assignments on the device
        5. 6.7.1.5 AINTC Memory Map
    8. 6.8  General-Purpose Input/Output (GPIO)
      1. 6.8.1 GPIO Register Description(s)
      2. 6.8.2 GPIO Peripheral Input/Output Electrical Data/Timing
      3. 6.8.3 GPIO Peripheral External Interrupts Electrical Data/Timing
    9. 6.9  EDMA
    10. 6.10 External Memory Interface A (EMIFA)
      1. 6.10.1 EMIFA Asynchronous Memory Support
      2. 6.10.2 EMIFA Connection Examples
      3. 6.10.3 External Memory Interface A (EMIFA) Registers
      4. 6.10.4 EMIFA Electrical Data/Timing
    11. 6.11 External Memory Interface B (EMIFB)
      1. 6.11.1 EMIFB SDRAM Loading Limitations
      2. 6.11.2 Interfacing to SDRAM
      3. 6.11.3 EMIFB Registers
      4. 6.11.4 EMIFB Electrical Data/Timing
    12. 6.12 Memory Protection Units
    13. 6.13 MMC / SD / SDIO (MMCSD)
      1. 6.13.1 MMCSD Peripheral Description
      2. 6.13.2 MMCSD Peripheral Register Description(s)
      3. 6.13.3 MMC/SD Electrical Data/Timing
    14. 6.14 Ethernet Media Access Controller (EMAC)
      1. 6.14.1 EMAC Peripheral Register Description(s)
    15. 6.15 Management Data Input/Output (MDIO)
      1. 6.15.1 MDIO Registers
      2. 6.15.2 Management Data Input/Output (MDIO) Electrical Data/Timing
    16. 6.16 Multichannel Audio Serial Ports (McASP0, McASP1)
      1. 6.16.1 McASP Peripheral Registers Description(s)
      2. 6.16.2 McASP Electrical Data/Timing
        1. 6.16.2.1 Multichannel Audio Serial Port 0 (McASP0) Timing
        2. 6.16.2.2 Multichannel Audio Serial Port 1 (McASP1) Timing
    17. 6.17 Serial Peripheral Interface Ports (SPI0, SPI1)
      1. 6.17.1 SPI Peripheral Registers Description(s)
      2. 6.17.2 SPI Electrical Data/Timing
        1. 6.17.2.1 Serial Peripheral Interface (SPI) Timing
    18. 6.18 Enhanced Capture (eCAP) Peripheral
    19. 6.19 Enhanced Quadrature Encoder (eQEP) Peripheral
    20. 6.20 Enhanced High-Resolution Pulse-Width Modulator (eHRPWM)
      1. 6.20.1 Enhanced Pulse Width Modulator (eHRPWM) Timing
      2. 6.20.2 Trip-Zone Input Timing
    21. 6.21 Timers
      1. 6.21.1 Timer Electrical Data/Timing
    22. 6.22 Inter-Integrated Circuit Serial Ports (I2C0, I2C1)
      1. 6.22.1 I2C Device-Specific Information
      2. 6.22.2 I2C Peripheral Registers Description(s)
      3. 6.22.3 I2C Electrical Data/Timing
        1. 6.22.3.1 Inter-Integrated Circuit (I2C) Timing
    23. 6.23 Universal Asynchronous Receiver/Transmitter (UART)
      1. 6.23.1 UART Peripheral Registers Description(s)
      2. 6.23.2 UART Electrical Data/Timing
    24. 6.24 USB0 OTG (USB2.0 OTG)
      1. 6.24.1 USB2.0 (USB0) Electrical Data/Timing
      2. 6.24.2 USB0 Unused Signal Configuration
    25. 6.25 Power and Sleep Controller (PSC)
      1. 6.25.1 Power Domain and Module Topology
        1. 6.25.1.1 Power Domain States
        2. 6.25.1.2 Module States
    26. 6.26 Programmable Real-Time Unit Subsystem (PRUSS)
      1. 6.26.1 PRUSS Register Descriptions
    27. 6.27 Emulation Logic
      1. 6.27.1 JTAG Port Description
      2. 6.27.2 Scan Chain Configuration Parameters
      3. 6.27.3 Initial Scan Chain Configuration
        1. 6.27.3.1 Adding TAPS to the Scan Chain
      4. 6.27.4 JTAG 1149.1 Boundary Scan Considerations
    28. 6.28 IEEE 1149.1 JTAG
      1. 6.28.1 JTAG Peripheral Register Description(s) - JTAG ID Register (DEVIDR0)
      2. 6.28.2 JTAG Test-Port Electrical Data/Timing
  7. 7Device and Documentation Support
    1. 7.1 Device Nomenclature
    2. 7.2 Tools and Software
    3. 7.3 Documentation Support
    4. 7.4 Community Resources
    5. 7.5 Trademarks
    6. 7.6 Electrostatic Discharge Caution
    7. 7.7 Export Control Notice
    8. 7.8 Glossary
  8. 8Mechanical Packaging and Orderable Information
    1. 8.1 Thermal Data for PTP
    2. 8.2 Supplementary Information About the 176-pin PTP PowerPAD™ Package
      1. 8.2.1 Standoff Height
      2. 8.2.2 PowerPAD™ PCB Footprint
    3. 8.3 Packaging Information

Package Options

Refer to the PDF data sheet for device specific package drawings

Mechanical Data (Package|Pins)
  • PTP|176
Thermal pad, mechanical data (Package|Pins)
Orderable Information

Peripheral Information and Electrical Specifications

Parameter Information

Parameter Information Device-Specific Information

AM1705 pm_tstcirc_prs348.gif
The data sheet provides timing at the device pin. For output timing analysis, the tester pin electronics and its transmission line effects must be taken into account. A transmission line with a delay of 2 ns or longer can be used to produce the desired transmission line effect. The transmission line is intended as a load only. It is not necessary to add or subtract the transmission line delay (2 ns or longer) from the data sheet timings.
Input requirements in this data sheet are tested with an input slew rate of < 4 Volts per nanosecond (4 V/ns) at the device pin and the input signals are driven between 0V and the appropriate IO supply rail for the signal.
Figure 6-1 Test Load Circuit for AC Timing Measurements

The load capacitance value stated is only for characterization and measurement of AC timing signals. This load capacitance value does not indicate the maximum load the device is capable of driving.

Signal Transition Levels

All input and output timing parameters are referenced to Vref for both "0" and "1" logic levels. For 3.3 V I/O, Vref = 1.65 V. For 1.8 V I/O, Vref = 0.9 V. For 1.2 V I/O, Vref = 0.6 V.

AM1705 pm_io_volt_prs348.gif Figure 6-2 Input and Output Voltage Reference Levels for AC Timing Measurements

All rise and fall transition timing parameters are referenced to VIL MAX and VIH MIN for input clocks, VOLMAX and VOH MIN for output clocks.

AM1705 pm_transvolt_prs348.gif Figure 6-3 Rise and Fall Transition Time Voltage Reference Levels

Recommended Clock and Control Signal Transition Behavior

All clocks and control signals must transition between VIH and VIL (or between VIL and VIH) in a monotonic manner.

Power Supplies

Power-on Sequence

The device should be powered-on in the following order:

  1. Core logic supplies:
    1. CVDD core logic supply
    2. Other 1.2V logic supplies (PLL0_VDDA). Groups 1a) and 1b) may be powered up together or 1a) first followed by 1b).
  2. All 1.8V IO supplies (USB0_VDDA18).
  3. All digital IO and analog 3.3V PHY supplies (DVDD, USB0_VDDA33 ).

Group 2) and group 3) may be powered on in either order [2 then 3, or 3 then 2] but group 3) must be powered-on after the core logic supplies.

There is no specific required voltage ramp rate for any of the supplies.

RESET must be maintained active until all power supplies have reached their nominal values.

Power-off Sequence

The power supplies can be powered-off in any order as long as the 3.3V supplies do not remain powered with the other supplies unpowered.

Reset

Power-On Reset (POR)

A power-on reset (POR) is required to place the device in a known good state after power-up. Power-On Reset is initiated by bringing RESET and TRST low at the same time. POR sets all of the device internal logic to its default state. All pins are tri-stated with the exception of RTCK/GP7[14]. If an emulator is driving TCK into the device during reset, then RTCK/GP7[14] will drive out RTCK. If TCK is not being driven into the device during reset, then RTCK/GP7[14] will drive low.

While both TRST and RESET need to be asserted upon power up, only RESET needs to be released for the device to boot properly. TRST may be asserted indefinitely for normal operation, keeping the JTAG port interface and device's emulation logic in the reset state.

. TRST only needs to be released when it is necessary to use a JTAG controller to debug the device or exercise the device's boundary scan functionality. Note: TRST is synchronous and must be clocked by TCK; otherwise, the boundary scan logic may not respond as expected after TRST is asserted.

.RESET must be released only in order for boundary-scan JTAG to read the variant field of IDCODE correctly. Other boundary-scan instructions work correctly independent of current state of RESET. For maximum reliability, the device includes an internal pulldown on the TRST pin to ensure that TRST will always be asserted upon power up and the device's internal emulation logic will always be properly initialized.

JTAG controllers from Texas Instruments actively drive TRST high. However, some third-party JTAG controllers may not drive TRST high but expect the use of a pullup resistor on TRST. When using this type of JTAG controller, assert TRST to intialize the device after powerup and externally drive TRST high before attempting any emulation or boundary scan operations.

RTCK/GP7[14] is maintained active through a POR.

A summary of the effects of Power-On Reset is given below:

  • All internal logic (including emulation logic and the PLL logic) is reset to its default state
  • Internal memory is not maintained through a POR
  • All device pins go to a high-impedance state

CAUTION: A watchdog reset triggers a POR.

Warm Reset

A warm reset provides a limited reset to the device. Warm Reset is initiated by bringing only RESET low (TRST is maintained high through a warm reset). Warm reset sets certain portions of the device to their default state while leaving others unaltered. All pins are 3-stated with the exception of RTCK/GP7[14]. If an emulator is driving TCK into the device during reset, then RTCK/GP7[14] will drive out RTCK. If TCK is not being driven into the device during reset, then RTCK/GP7[14] will drive low.

During emulation, the emulator will maintain TRST high and hence only warm reset (not POR) is available during emulation debug and development.

RTCK/GP7[14] is maintained active through a warm reset.

A summary of the effects of Warm Reset is given below:

  • All internal logic (except for the emulation logic and the PLL logic) is reset to its default state
  • Internal memory is maintained through a warm reset
  • All device pins go to a high-impedance state

Reset Electrical Data Timings

Table 6-1 assumes testing over the recommended operating conditions.

Table 6-1 Reset Timing Requirements(1)

No. MIN MAX UNIT
1 tw(RSTL) Pulse width, RESET/TRST low 100 ns
2 tsu(BPV-RSTH) Setup time, boot pins valid before RESET/TRST high 20 ns
3 th(RSTH-BPV) Hold time, boot pins valid after RESET/TRST high 20 ns
For power-on reset (POR), the reset timings in this table refer to RESET and TRST together. For warm reset, the reset timings in this table refer to RESET only (TRST is held high).
AM1705 power_reset_prs563.gif Figure 6-4 Power-On Reset (RESET and TRST active) Timing
AM1705 warm_Reset_am1705.gif Figure 6-5 Warm Reset (RESET active, TRST high) Timing

Crystal Oscillator or External Clock Input

The device includes two choices to provide an external clock input, which is fed to the on-chip PLL to generate high-frequency system clocks. These options are illustrated in Figure 6-6 and Figure 6-7. For input clock frequencies between 12 and 20 MHz, a crystal with 80 ohm max ESR is recommended. For input clock frequencies between 20 and 30 MHz, a crystal with 60 ohm max ESR is recommended. Typical load capacitance values are 10-20 pF, where the load capacitance is the series combination of C1 and C2.

The CLKMODE bit in the PLLCTL register must be 0 to use the on-chip oscillator. If CLKMODE is set to 1, the internal oscillator is disabled.

  • Figure 6-6 illustrates the option that uses on-chip 1.2V oscillator with external crystal circuit.
  • Figure 6-7 illustrates the option that uses an external 1.2V clock input.
AM1705 onchip_1-2v_osc_prs483.gif Figure 6-6 On-Chip 1.2V Oscillator

Table 6-2 Oscillator Timing Requirements

PARAMETER MIN MAX UNIT
fosc Oscillator frequency range (OSCIN/OSCOUT) 12 30 MHz
AM1705 extended_1-2v_clock_prs483.gif Figure 6-7 External 1.2V Clock Source

Table 6-3 OSCIN Timing Requirements

PARAMETER MIN MAX UNIT
fOSCIN OSCIN frequency range (OSCIN) 12 50 MHz
tc(OSCIN) Cycle time, external clock driven on OSCIN 20 ns
tw(OSCINH) Pulse width high, external clock on OSCIN 0.4 tc(OSCIN) ns
tw(OSCINL) Pulse width low, external clock on OSCIN 0.4 tc(OSCIN) ns
tt(OSCIN) Transition time, OSCIN 0.25P or 10 (1) ns
tj(OSCIN) Period jitter, OSCIN 0.02P ns
Whichever is smaller. P = the period of the applied signal. Maintaining transition times as fast as possible is recommended to improve noise immunity on input signals.

Clock PLLs

The device has one PLL controller that provides clock to different parts of the system. PLL0 provides clocks (though various dividers) to most of the components of the device.

The PLL controller provides the following:

  • Glitch-Free Transitions (on changing clock settings)
  • Domain Clocks Alignment
  • Clock Gating
  • PLL power down

The various clock outputs given by the controller are as follows:

  • Domain Clocks: SYSCLK [1:n]
  • Auxiliary Clock from reference clock source: AUXCLK

Various dividers that can be used are as follows:

  • Post-PLL Divider: POSTDIV
  • SYSCLK Divider: D1, ¼, Dn

Various other controls supported are as follows:

  • PLL Multiplier Control: PLLM
  • Software programmable PLL Bypass: PLLEN

PLL Device-Specific Information

The PLL requires some external filtering components to reduce power supply noise as shown in Figure 6-8.

AM1705 pll0_filt_prs483.gif Figure 6-8 PLL External Filtering Components

The input to the PLL is either from the on-chip oscillator (OSCIN pin) or from an external clock on the OSCIN pin. The PLL outputs seven clocks that have programmable divider options. Figure 6-9 illustrates the PLL Topology.

The PLL is disabled by default after a device reset. It must be configured by software according to the allowable operating conditions listed in Table 6-4 before enabling the processor to run from the PLL by setting PLLEN = 1.

AM1705 pll_bd_prugj0.gif Figure 6-9 PLL Topology

Table 6-4 Allowed PLL Operating Conditions

No. PARAMETER Default Value MIN MAX UNIT
1 PLLRST: Assertion time during initialization N/A 1000 N/A ns
2 Lock time: The time that the application has to wait for the PLL to acquire locks before setting PLLEN, after changing PREDIV, PLLM, or OSCIN N/A N/A AM1705 eq1_prs483.gif OSCIN
cycles
3 PREDIV /1 /1 /32
4 PLL input frequency
( PLLREF)
12 30 (if internal oscillator is used)
50 (if external clock source is used)
MHz
5 PLL multiplier values (PLLM) (1) x20 x4 x32
6 PLL output frequency. ( PLLOUT ) N/A 300 600 MHz
7 POSTDIV /1 /1 /32
The multiplier values must be chosen such that the PLL output frequency (at PLLOUT) is between 300 and 600 MHz, but the frequency going into the SYSCLK dividers (after the post divider) cannot exceed the maximum clock frequency defined for the device at a given voltage operating point.

Device Clock Generation

PLL0 is controlled by PLL Controller 0. The PLLC0 manages the clock ratios, alignment, and gating for the system clocks to the chip. The PLLC is responsible for controlling all modes of the PLL through software, in terms of pre-division of the clock inputs, multiply factor within the PLL, and post-division for each of the chip-level clocks from the PLL output. The PLLC also controls reset propagation through the chip, clock alignment, and test points.

PLL Controller 0 Registers

Table 6-5 PLL Controller 0 Registers

BYTE
ADDRESS
ACRONYM REGISTER DESCRIPTION
0x01C1 1000 REVID Revision Identification Register
0x01C1 10E4 RSTYPE Reset Type Status Register
0x01C1 1100 PLLCTL PLL Control Register
0x01C1 1104 - Reserved
0x01C1 1110 PLLM PLL Multiplier Control Register
0x01C1 1114 PREDIV PLL Pre-Divider Control Register
0x01C1 1118 PLLDIV1 PLL Controller Divider 1 Register
0x01C1 111C PLLDIV2 PLL Controller Divider 2 Register
0x01C1 1120 PLLDIV3 PLL Controller Divider 3 Register
0x01C1 1124 - Reserved
0x01C1 1128 POSTDIV PLL Post-Divider Control Register
0x01C1 1138 PLLCMD PLL Controller Command Register
0x01C1 113C PLLSTAT PLL Controller Status Register
0x01C1 1140 ALNCTL PLL Controller Clock Align Control Register
0x01C1 1144 DCHANGE PLLDIV Ratio Change Status Register
0x01C1 1148 CKEN Clock Enable Control Register
0x01C1 114C CKSTAT Clock Status Register
0x01C1 1150 SYSTAT SYSCLK Status Register
0x01C1 1160 PLLDIV4 PLL Controller Divider 4 Register
0x01C1 1164 PLLDIV5 PLL Controller Divider 5 Register
0x01C1 1168 PLLDIV6 PLL Controller Divider 6 Register
0x01C1 116C PLLDIV7 PLL Controller Divider 7 Register

Interrupts

ARM CPU Interrupts

The ARM9 CPU core supports 2 direct interrupts: FIQ and IRQ. The ARM Interrupt Controller extends the number of interrupts to 100, and provides features like programmable masking, priority, hardware nesting support, and interrupt vector generation.

ARM Interrupt Controller (AINTC) Interrupt Signal Hierarchy

The ARM Interrupt controller organizes interrupts into the following hierarchy:

  • Peripheral Interrupt Requests
    • Individual Interrupt Sources from Peripherals
  • 100 System Interrupts
    • One or more Peripheral Interrupt Requests are combined (fixed configuration) to generate a System Interrupt.
    • After prioritization, the AINTC will provide an interrupt vector based unique to each System Interrupt
  • 32 Interrupt Channels
    • Each System Interrupt is mapped to one of the 32 Interrupt Channels
    • Channel Number determines the first level of prioritization, Channel 0 is highest priority and 31 lowest.
    • If more than one system interrupt is mapped to a channel, priority within the channel is determined by system interrupt number (0 highest priority)
  • Host Interrupts (FIQ and IRQ)
    • Interrupt Channels 0 and 1 generate the ARM FIQ interrupt
    • Interrupt Channels 2 through 31 Generate the ARM IRQ interrupt
  • Debug Interrupts
    • Two Debug Interrupts are supported and can be used to trigger events in the debug subsystem
    • Sources can be selected from any of the System Interrupts or Host Interrupts

AINTC Hardware Vector Generation

The AINTC also generates an interrupt vector in hardware for both IRQ and FIQ host interrupts. This may be used to accelerate interrupt dispatch. A unique vector is generated for each of the 100 system interrupts. The vector is computed in hardware as:

VECTOR = BASE + (SYSTEM INTERRUPT NUMBER × SIZE)

Where BASE and SIZE are programmable. The computed vector is a 32-bit address which may dispatched to using a single instruction of type LDR PC, [PC, #-<offset_12>] at the FIQ and IRQ vector locations (0xFFFF0018 and 0xFFFF001C respectively).

AINTC Hardware Interrupt Nesting Support

Interrupt nesting occurs when an interrupt service routine re-enables interrupts, to allow the CPU to interrupt the ISR if a higher priority event occurs. The AINTC provides hardware support to facilitate interrupt nesting. It supports both global and per host interrupt (FIQ and IRQ in this case) automatic nesting. If enabled, the AINTC will automatically update an internal nesting register that temporarily masks interrupts at and below the priority of the current interrupt channel. Then if the ISR re-enables interrupts; only higher priority channels will be able to interrupt it. The nesting level is restored by the ISR by writing to the nesting level register on completion. Support for nesting can be enabled/disabled by software, with the option of automatic nesting on a global or per host interrupt basis; or manual nesting.

AINTC System Interrupt Assignments on the device

System Interrupt assignments for the device are listed in Table 6-6

Table 6-6 AINTC System Interrupt Assignments

System Interrupt Interrupt Name Source
0 COMMTX ARM
1 COMMRX ARM
2 NINT ARM
3 PRU_EVTOUT0 PRUSS Interrupt
4 PRU_EVTOUT1 PRUSS Interrupt
5 PRU_EVTOUT2 PRUSS Interrupt
6 PRU_EVTOUT3 PRUSS Interrupt
7 PRU_EVTOUT4 PRUSS Interrupt
8 PRU_EVTOUT5 PRUSS Interrupt
9 PRU_EVTOUT6 PRUSS Interrupt
10 PRU_EVTOUT7 PRUSS Interrupt
11 EDMA3_CC0_CCINT EDMA CC Region 0
12 EDMA3_CC0_CCERRINT EDMA Channel Controller
13 EDMA3_TC0_TCERRINT EDMA Transfer Controller 0
14 EMIFA_INT EMIFA
15 IIC0_INT I2C0
16 MMCSD_INT0 MMCSD
17 MMCSD_INT1 MMCSD
18 PSC0_ALLINT PSC0
19 - Reserved
20 SPI0_INT SPI0
21 T64P0_TINT12 Timer64P0 Interrupt 12
22 T64P0_TINT34 Timer64P0 Interrupt 34
23 T64P1_TINT12 Timer64P1 Interrupt 12
24 T64P1_TINT34 Timer64P1 Interrupt 34
25 UART0_INT UART0
26 - Reserved
27 MPU_BOOTCFG_ERR Shared MPU and SYSCFG Address/Protection Error Interrupt
28 - 31 - Reserved
32 EDMA3_TC1_TCERRINT EDMA Transfer Controller 1
33 EMAC_C0RXTHRESH EMAC - Core 0 Receive Threshold Interrupt
34 EMAC_C0RX EMAC - Core 0 Receive Interrupt
35 EMAC_C0TX EMAC - Core 0 Transmit Interrupt
36 EMAC_C0MISC EMAC - Core 0 Miscellaneous Interrupt
37 EMAC_C1RXTHRESH EMAC - Core 1 Receive Threshold Interrupt
38 EMAC_C1RX EMAC - Core 1 Receive Interrupt
39 EMAC_C1TX EMAC - Core 1 Transmit Interrupt
40 EMAC_C1MISC EMAC - Core 1 Miscellaneous Interrupt
41 EMIF_MEMERR EMIFB
42 GPIO_B0INT GPIO Bank 0 Interrupt
43 GPIO_B1INT GPIO Bank 1 Interrupt
44 GPIO_B2INT GPIO Bank 2 Interrupt
45 GPIO_B3INT GPIO Bank 3 Interrupt
46 GPIO_B4INT GPIO Bank 4 Interrupt
47 GPIO_B5INT GPIO Bank 5 Interrupt
48 GPIO_B6INT GPIO Bank 6 Interrupt
49 GPIO_B7INT GPIO Bank 7 Interrupt
50 - Reserved
51 IIC1_INT I2C1
52 - Reserved
53 UART_INT1 UART1
54 MCASP_INT McASP0, 1, 2 Combined RX / TX Interrupts
55 PSC1_ALLINT PSC1
56 SPI1_INT SPI1
57 - Reserved
58 USB0_INT USB0 Interrupt
59 - 60 - Reserved
61 UART2_INT UART2
62 - Reserved
63 EHRPWM0 HiResTimer / PWM0 Interrupt
64 EHRPWM0TZ HiResTimer / PWM0 Trip Zone Interrupt
65 EHRPWM1 HiResTimer / PWM1 Interrupt
66 EHRPWM1TZ HiResTimer / PWM1 Trip Zone Interrupt
67 EHRPWM2 HiResTimer / PWM2 Interrupt
68 EHRPWM2TZ HiResTimer / PWM2 Trip Zone Interrupt
69 ECAP0 ECAP0
70 ECAP1 ECAP1
71 ECAP2 ECAP2
72 EQEP0 EQEP0
73 EQEP1 EQEP1
74 T64P0_CMPINT0 Timer64P0 - Compare 0
75 T64P0_CMPINT1 Timer64P0 - Compare 1
76 T64P0_CMPINT2 Timer64P0 - Compare 2
77 T64P0_CMPINT3 Timer64P0 - Compare 3
78 T64P0_CMPINT4 Timer64P0 - Compare 4
79 T64P0_CMPINT5 Timer64P0 - Compare 5
80 T64P0_CMPINT6 Timer64P0 - Compare 6
81 T64P0_CMPINT7 Timer64P0 - Compare 7
82 T64P1_CMPINT0 Timer64P1 - Compare 0
83 T64P1_CMPINT1 Timer64P1 - Compare 1
84 T64P1_CMPINT2 Timer64P1 - Compare 2
85 T64P1_CMPINT3 Timer64P1 - Compare 3
86 T64P1_CMPINT4 Timer64P1 - Compare 4
87 T64P1_CMPINT5 Timer64P1 - Compare 5
88 T64P1_CMPINT6 Timer64P1 - Compare 6
89 T64P1_CMPINT7 Timer64P1 - Compare 7
90 ARMCLKSTOPREQ PSC0
91 - 100 - Reserved

AINTC Memory Map

Table 6-7 AINTC Memory Map

BYTE ADDRESS ACRONYM REGISTER DESCRIPTION
0xFFFE E000 REV Revision Register
0xFFFE E004 CR Control Register
0xFFFE E008 - 0xFFFE E00F - Reserved
0xFFFE E010 GER Global Enable Register
0xFFFE E014 - 0xFFFE E01B - Reserved
0xFFFE E01C GNLR Global Nesting Level Register
0xFFFE E020 SISR System Interrupt Status Indexed Set Register
0xFFFE E024 SICR System Interrupt Status Indexed Clear Register
0xFFFE E028 EISR System Interrupt Enable Indexed Set Register
0xFFFE E02C EICR System Interrupt Enable Indexed Clear Register
0xFFFE E030 - Reserved
0xFFFE E034 HIEISR Host Interrupt Enable Indexed Set Register
0xFFFE E038 HIEICR Host Interrupt Enable Indexed Clear Register
0xFFFE E03C - 0xFFFE E04F - Reserved
0xFFFE E050 VBR Vector Base Register
0xFFFE E054 VSR Vector Size Register
0xFFFE E058 VNR Vector Null Register
0xFFFE E05C - 0xFFFE E07F - Reserved
0xFFFE E080 GPIR Global Prioritized Index Register
0xFFFE E084 GPVR Global Prioritized Vector Register
0xFFFE E088 - 0xFFFE E1FF - Reserved
0xFFFE E200 - 0xFFFE E20B SRSR[1] - SRSR[3] System Interrupt Status Raw / Set Registers
0xFFFE E20C- 0xFFFE E27F - Reserved
0xFFFE E280 - 0xFFFE E28B SECR[1] - SECR[3] System Interrupt Status Enabled / Clear Registers
0xFFFE E28C - 0xFFFE E2FF - Reserved
0xFFFE E300 - 0xFFFE E30B ESR[1] - ESR[3] System Interrupt Enable Set Registers
0xFFFE E30C - 0xFFFE E37F - Reserved
0xFFFE E380 - 0xFFFE E38B ECR[1] - ECR[3] System Interrupt Enable Clear Registers
0xFFFE E38C - 0xFFFE E3FF - Reserved
0xFFFE E400 - 0xFFFE E458 CMR[0] - CMR[22] Channel Map Registers (Byte Wide Registers)
0xFFFE E459 - 0xFFFE E7FF - Reserved
0xFFFE E800 - 0xFFFE E81F - Reserved
0xFFFE E820 - 0xFFFE E8FF - Reserved
0xFFFE E900 - 0xFFFE E904 HIPIR[1] - HIPIR[2] Host Interrupt Prioritized Index Registers
0xFFFE E908 - 0xFFFE EEFF - Reserved
0xFFFE EF00 - 0xFFFE EF04 - Reserved
0xFFFE EF08 - 0xFFFE F0FF - Reserved
0xFFFE F100 - 0xFFFE F104 HINLR[1] - HINLR[2] Host Interrupt Nesting Level Registers
0xFFFE F108 - 0xFFFE F4FF - Reserved
0xFFFE F500 HIER Host Interrupt Enable Register
0xFFFE F504 - 0xFFFE F5FF - Reserved
0xFFFE F600 HIPVR[1] - HIPVR[2] Host Interrupt Prioritized Vector Registers
0xFFFE F608 - 0xFFFE FFFF - Reserved

General-Purpose Input/Output (GPIO)

The GPIO peripheral provides general-purpose pins that can be configured as either inputs or outputs. When configured as an output, a write to an internal register can control the state driven on the output pin. When configured as an input, the state of the input is detectable by reading the state of an internal register. In addition, the GPIO peripheral can produce CPU interrupts and EDMA events in different interrupt/event generation modes. The GPIO peripheral provides generic connections to external devices. The GPIO pins are grouped into banks of 16 pins per bank (i.e., bank 0 consists of GPIO [0:15]).

The device GPIO peripheral supports the following:

  • External Interrupt and DMA request Capability
    • Every GPIO pin may be configured to generate an interrupt request on detection of rising and/or falling edges on the pin.
    • The interrupt requests within each bank are combined (logical or) to create eight unique bank level interrupt requests.
    • The bank level interrupt service routine may poll the INTSTATx register for its bank to determine which pin(s) have triggered the interrupt.
    • GPIO Banks 0, 1, 2, 3, 4, 5, 6, and 7 Interrupts assigned to ARM INTC Interrupt Requests 42, 43, 44, 45, 46, 47, 48, and 49 respectively
    • Additionally, GPIO Banks 0, 1, 2, 3, 4, and 5 Interrupts assigned to EDMA events 6, 7, 22, 23, 28, and 29 respectively.
  • Set/clear functionality: Firmware writes 1 to corresponding bit position(s) to set or to clear GPIO signal(s). This allows multiple firmware processes to toggle GPIO output signals without critical section protection (disable interrupts, program GPIO, re-enable interrupts, to prevent context switching to anther process during GPIO programming).
  • Separate Input/Output registers
  • Output register in addition to set/clear so that, if preferred by firmware, some GPIO output signals can be toggled by direct write to the output register(s).
  • Output register, when read, reflects output drive status. This, in addition to the input register reflecting pin status and open-drain I/O cell, allows wired logic be implemented.

The memory map for the GPIO registers is shown in Table 6-8.

GPIO Register Description(s)

Table 6-8 GPIO Registers

BYTE ADDRESS ACRONYM REGISTER DESCRIPTION
0x01E2 6000 REV Peripheral Revision Register
0x01E2 6004 - Reserved
0x01E2 6008 BINTEN GPIO Interrupt Per-Bank Enable Register
GPIO BANKS 0 AND 1
0x01E2 6010 DIR01 GPIO Banks 0 and 1 Direction Register
0x01E2 6014 OUT_DATA01 GPIO Banks 0 and 1 Output Data Register
0x01E2 6018 SET_DATA01 GPIO Banks 0 and 1 Set Data Register
0x01E2 601C CLR_DATA01 GPIO Banks 0 and 1 Clear Data Register
0x01E2 6020 IN_DATA01 GPIO Banks 0 and 1 Input Data Register
0x01E2 6024 SET_RIS_TRIG01 GPIO Banks 0 and 1 Set Rising Edge Interrupt Register
0x01E2 6028 CLR_RIS_TRIG01 GPIO Banks 0 and 1 Clear Rising Edge Interrupt Register
0x01E2 602C SET_FAL_TRIG01 GPIO Banks 0 and 1 Set Falling Edge Interrupt Register
0x01E2 6030 CLR_FAL_TRIG01 GPIO Banks 0 and 1 Clear Falling Edge Interrupt Register
0x01E2 6034 INTSTAT01 GPIO Banks 0 and 1 Interrupt Status Register
GPIO BANKS 2 AND 3
0x01E2 6038 DIR23 GPIO Banks 2 and 3 Direction Register
0x01E2 603C OUT_DATA23 GPIO Banks 2 and 3 Output Data Register
0x01E2 6040 SET_DATA23 GPIO Banks 2 and 3 Set Data Register
0x01E2 6044 CLR_DATA23 GPIO Banks 2 and 3 Clear Data Register
0x01E2 6048 IN_DATA23 GPIO Banks 2 and 3 Input Data Register
0x01E2 604C SET_RIS_TRIG23 GPIO Banks 2 and 3 Set Rising Edge Interrupt Register
0x01E2 6050 CLR_RIS_TRIG23 GPIO Banks 2 and 3 Clear Rising Edge Interrupt Register
0x01E2 6054 SET_FAL_TRIG23 GPIO Banks 2 and 3 Set Falling Edge Interrupt Register
0x01E2 6058 CLR_FAL_TRIG23 GPIO Banks 2 and 3 Clear Falling Edge Interrupt Register
0x01E2 605C INTSTAT23 GPIO Banks 2 and 3 Interrupt Status Register
GPIO BANKS 4 AND 5
0x01E2 6060 DIR45 GPIO Banks 4 and 5 Direction Register
0x01E2 6064 OUT_DATA45 GPIO Banks 4 and 5 Output Data Register
0x01E2 6068 SET_DATA45 GPIO Banks 4 and 5 Set Data Register
0x01E2 606C CLR_DATA45 GPIO Banks 4 and 5 Clear Data Register
0x01E2 6070 IN_DATA45 GPIO Banks 4 and 5 Input Data Register
0x01E2 6074 SET_RIS_TRIG45 GPIO Banks 4 and 5 Set Rising Edge Interrupt Register
0x01E2 6078 CLR_RIS_TRIG45 GPIO Banks 4 and 5 Clear Rising Edge Interrupt Register
0x01E2 607C SET_FAL_TRIG45 GPIO Banks 4 and 5 Set Falling Edge Interrupt Register
0x01E2 6080 CLR_FAL_TRIG45 GPIO Banks 4 and 5 Clear Falling Edge Interrupt Register
0x01E2 6084 INTSTAT45 GPIO Banks 4 and 5 Interrupt Status Register
GPIO BANKS 6 AND 7
0x01E2 6088 DIR67 GPIO Banks 6 and 7 Direction Register
0x01E2 608C OUT_DATA67 GPIO Banks 6 and 7 Output Data Register
0x01E2 6090 SET_DATA67 GPIO Banks 6 and 7 Set Data Register
0x01E2 6094 CLR_DATA67 GPIO Banks 6 and 7 Clear Data Register
0x01E2 6098 IN_DATA67 GPIO Banks 6 and 7 Input Data Register
0x01E2 609C SET_RIS_TRIG67 GPIO Banks 6 and 7 Set Rising Edge Interrupt Register
0x01E2 60A0 CLR_RIS_TRIG67 GPIO Banks 6 and 7 Clear Rising Edge Interrupt Register
0x01E2 60A4 SET_FAL_TRIG67 GPIO Banks 6 and 7 Set Falling Edge Interrupt Register
0x01E2 60A8 CLR_FAL_TRIG67 GPIO Banks 6 and 7 Clear Falling Edge Interrupt Register
0x01E2 60AC INTSTAT67 GPIO Banks 6 and 7 Interrupt Status Register

GPIO Peripheral Input/Output Electrical Data/Timing

Table 6-9 Timing Requirements for GPIO Inputs(1) (see Figure 6-10)

No. PARAMETER MIN MAX UNIT
1 tw(GPIH) Pulse duration, GPn[m] as input high 2C(1) (2) ns
2 tw(GPIL) Pulse duration, GPn[m] as input low 2C(1) (2) ns
The pulse width given is sufficient to generate a CPU interrupt or an EDMA event. However, if a user wants to have the device recognize the GPIx changes through software polling of the GPIO register, the GPIx duration must be extended to allow the device enough time to access the GPIO register through the internal bus.
C=SYSCLK4 period in ns.

Table 6-10 Switching Characteristics Over Recommended Operating Conditions for GPIO Outputs
(see Figure 6-10)

No. PARAMETER MIN MAX UNIT
3 tw(GPOH) Pulse duration, GPn[m] as output high 2C(1) (2) ns
4 tw(GPOL) Pulse duration, GPn[m] as output low 2C(1) (2) ns
This parameter value should not be used as a maximum performance specification. Actual performance of back-to-back accesses of the GPIO is dependent upon internal bus activity.
C=SYSCLK4 period in ns.
AM1705 td_gpio_prs271.gif Figure 6-10 GPIO Port Timing

GPIO Peripheral External Interrupts Electrical Data/Timing

Table 6-11 Timing Requirements for External Interrupts(1) (see Figure 6-11)

No. PARAMETER MIN MAX UNIT
1 tw(ILOW) Width of the external interrupt pulse low 2C(1) (2) ns
2 tw(IHIGH) Width of the external interrupt pulse high 2C (1) (2) ns
The pulse width given is sufficient to generate an interrupt or an EDMA event. However, if a user wants to have device recognize the GPIO changes through software polling of the GPIO register, the GPIO duration must be extended to allow the device enough time to access the GPIO register through the internal bus.
C=SYSCLK4 period in ns.
AM1705 td_extint_prs271.gif Figure 6-11 GPIO External Interrupt Timing

EDMA

Table 6-12 is the list of EDMA3 Channel Contoller Registers and Table 6-13 is the list of EDMA3 Transfer Controller registers.

Table 6-12 EDMA3 Channel Controller (EDMA3CC) Registers

BYTE ADDRESS ACRONYM REGISTER DESCRIPTION
0x01C0 0000 PID Peripheral Identification Register
0x01C0 0004 CCCFG EDMA3CC Configuration Register
GLOBAL REGISTERS
0x01C0 0200 QCHMAP0 QDMA Channel 0 Mapping Register
0x01C0 0204 QCHMAP1 QDMA Channel 1 Mapping Register
0x01C0 0208 QCHMAP2 QDMA Channel 2 Mapping Register
0x01C0 020C QCHMAP3 QDMA Channel 3 Mapping Register
0x01C0 0210 QCHMAP4 QDMA Channel 4 Mapping Register
0x01C0 0214 QCHMAP5 QDMA Channel 5 Mapping Register
0x01C0 0218 QCHMAP6 QDMA Channel 6 Mapping Register
0x01C0 021C QCHMAP7 QDMA Channel 7 Mapping Register
0x01C0 0240 DMAQNUM0 DMA Channel Queue Number Register 0
0x01C0 0244 DMAQNUM1 DMA Channel Queue Number Register 1
0x01C0 0248 DMAQNUM2 DMA Channel Queue Number Register 2
0x01C0 024C DMAQNUM3 DMA Channel Queue Number Register 3
0x01C0 0260 QDMAQNUM QDMA Channel Queue Number Register
0x01C0 0284 QUEPRI Queue Priority Register(1)
0x01C0 0300 EMR Event Missed Register
0x01C0 0308 EMCR Event Missed Clear Register
0x01C0 0310 QEMR QDMA Event Missed Register
0x01C0 0314 QEMCR QDMA Event Missed Clear Register
0x01C0 0318 CCERR EDMA3CC Error Register
0x01C0 031C CCERRCLR EDMA3CC Error Clear Register
0x01C0 0320 EEVAL Error Evaluate Register
0x01C0 0340 DRAE0 DMA Region Access Enable Register for Region 0
0x01C0 0348 DRAE1 DMA Region Access Enable Register for Region 1
0x01C0 0350 DRAE2 DMA Region Access Enable Register for Region 2
0x01C0 0358 DRAE3 DMA Region Access Enable Register for Region 3
0x01C0 0380 QRAE0 QDMA Region Access Enable Register for Region 0
0x01C0 0384 QRAE1 QDMA Region Access Enable Register for Region 1
0x01C0 0388 QRAE2 QDMA Region Access Enable Register for Region 2
0x01C0 038C QRAE3 QDMA Region Access Enable Register for Region 3
0x01C0 0400 - 0x01C0 043C Q0E0-Q0E15 Event Queue Entry Registers Q0E0-Q0E15
0x01C0 0440 - 0x01C0 047C Q1E0-Q1E15 Event Queue Entry Registers Q1E0-Q1E15
0x01C0 0600 QSTAT0 Queue 0 Status Register
0x01C0 0604 QSTAT1 Queue 1 Status Register
0x01C0 0620 QWMTHRA Queue Watermark Threshold A Register
0x01C0 0640 CCSTAT EDMA3CC Status Register
GLOBAL CHANNEL REGISTERS
0x01C0 1000 ER Event Register
0x01C0 1008 ECR Event Clear Register
0x01C0 1010 ESR Event Set Register
0x01C0 1018 CER Chained Event Register
0x01C0 1020 EER Event Enable Register
0x01C0 1028 EECR Event Enable Clear Register
0x01C0 1030 EESR Event Enable Set Register
0x01C0 1038 SER Secondary Event Register
0x01C0 1040 SECR Secondary Event Clear Register
0x01C0 1050 IER Interrupt Enable Register
0x01C0 1058 IECR Interrupt Enable Clear Register
0x01C0 1060 IESR Interrupt Enable Set Register
0x01C0 1068 IPR Interrupt Pending Register
0x01C0 1070 ICR Interrupt Clear Register
0x01C0 1078 IEVAL Interrupt Evaluate Register
0x01C0 1080 QER QDMA Event Register
0x01C0 1084 QEER QDMA Event Enable Register
0x01C0 1088 QEECR QDMA Event Enable Clear Register
0x01C0 108C QEESR QDMA Event Enable Set Register
0x01C0 1090 QSER QDMA Secondary Event Register
0x01C0 1094 QSECR QDMA Secondary Event Clear Register
SHADOW REGION 0 CHANNEL REGISTERS
0x01C0 2000 ER Event Register
0x01C0 2008 ECR Event Clear Register
0x01C0 2010 ESR Event Set Register
0x01C0 2018 CER Chained Event Register
0x01C0 2020 EER Event Enable Register
0x01C0 2028 EECR Event Enable Clear Register
0x01C0 2030 EESR Event Enable Set Register
0x01C0 2038 SER Secondary Event Register
0x01C0 2040 SECR Secondary Event Clear Register
0x01C0 2050 IER Interrupt Enable Register
0x01C0 2058 IECR Interrupt Enable Clear Register
0x01C0 2060 IESR Interrupt Enable Set Register
0x01C0 2068 IPR Interrupt Pending Register
0x01C0 2070 ICR Interrupt Clear Register
0x01C0 2078 IEVAL Interrupt Evaluate Register
0x01C0 2080 QER QDMA Event Register
0x01C0 2084 QEER QDMA Event Enable Register
0x01C0 2088 QEECR QDMA Event Enable Clear Register
0x01C0 208C QEESR QDMA Event Enable Set Register
0x01C0 2090 QSER QDMA Secondary Event Register
0x01C0 2094 QSECR QDMA Secondary Event Clear Register
SHADOW REGION 1 CHANNEL REGISTERS
0x01C0 2200 ER Event Register
0x01C0 2208 ECR Event Clear Register
0x01C0 2210 ESR Event Set Register
0x01C0 2218 CER Chained Event Register
0x01C0 2220 EER Event Enable Register
0x01C0 2228 EECR Event Enable Clear Register
0x01C0 2230 EESR Event Enable Set Register
0x01C0 2238 SER Secondary Event Register
0x01C0 2240 SECR Secondary Event Clear Register
0x01C0 2250 IER Interrupt Enable Register
0x01C0 2258 IECR Interrupt Enable Clear Register
0x01C0 2260 IESR Interrupt Enable Set Register
0x01C0 2268 IPR Interrupt Pending Register
0x01C0 2270 ICR Interrupt Clear Register
0x01C0 2278 IEVAL Interrupt Evaluate Register
0x01C0 2280 QER QDMA Event Register
0x01C0 2284 QEER QDMA Event Enable Register
0x01C0 2288 QEECR QDMA Event Enable Clear Register
0x01C0 228C QEESR QDMA Event Enable Set Register
0x01C0 2290 QSER QDMA Secondary Event Register
0x01C0 2294 QSECR QDMA Secondary Event Clear Register
0x01C0 4000 - 0x01C0 4FFF Parameter RAM (PaRAM)
On previous architectures, the EDMA3TC priority was controlled by the queue priority register (QUEPRI) in the EDMA3CC memory-map. However for this device, the priority control for the transfer controllers is controlled by the chip-level registers in the System Configuration Module. You should use the chip-level registers and not QUEPRI to configure the TC priority.

Table 6-13 EDMA3 Transfer Controller (EDMA3TC) Registers

TRANSFER CONTROLLER 0
BYTE ADDRESS
TRANSFER CONTROLLER 1
BYTE ADDRESS
ACRONYM REGISTER DESCRIPTION
0x01C0 8000 0x01C0 8400 PID Peripheral Identification Register
0x01C0 8004 0x01C0 8404 TCCFG EDMA3TC Configuration Register
0x01C0 8100 0x01C0 8500 TCSTAT EDMA3TC Channel Status Register
0x01C0 8120 0x01C0 8520 ERRSTAT Error Status Register
0x01C0 8124 0x01C0 8524 ERREN Error Enable Register
0x01C0 8128 0x01C0 8528 ERRCLR Error Clear Register
0x01C0 812C 0x01C0 852C ERRDET Error Details Register
0x01C0 8130 0x01C0 8530 ERRCMD Error Interrupt Command Register
0x01C0 8140 0x01C0 8540 RDRATE Read Command Rate Register
0x01C0 8240 0x01C0 8640 SAOPT Source Active Options Register
0x01C0 8244 0x01C0 8644 SASRC Source Active Source Address Register
0x01C0 8248 0x01C0 8648 SACNT Source Active Count Register
0x01C0 824C 0x01C0 864C SADST Source Active Destination Address Register
0x01C0 8250 0x01C0 8650 SABIDX Source Active B-Index Register
0x01C0 8254 0x01C0 8654 SAMPPRXY Source Active Memory Protection Proxy Register
0x01C0 8258 0x01C0 8658 SACNTRLD Source Active Count Reload Register
0x01C0 825C 0x01C0 865C SASRCBREF Source Active Source Address B-Reference Register
0x01C0 8260 0x01C0 8660 SADSTBREF Source Active Destination Address B-Reference Register
0x01C0 8280 0x01C0 8680 DFCNTRLD Destination FIFO Set Count Reload Register
0x01C0 8284 0x01C0 8684 DFSRCBREF Destination FIFO Set Source Address B-Reference Register
0x01C0 8288 0x01C0 8688 DFDSTBREF Destination FIFO Set Destination Address B-Reference Register
0x01C0 8300 0x01C0 8700 DFOPT0 Destination FIFO Options Register 0
0x01C0 8304 0x01C0 8704 DFSRC0 Destination FIFO Source Address Register 0
0x01C0 8308 0x01C0 8708 DFCNT0 Destination FIFO Count Register 0
0x01C0 830C 0x01C0 870C DFDST0 Destination FIFO Destination Address Register 0
0x01C0 8310 0x01C0 8710 DFBIDX0 Destination FIFO B-Index Register 0
0x01C0 8314 0x01C0 8714 DFMPPRXY0 Destination FIFO Memory Protection Proxy Register 0
0x01C0 8340 0x01C0 8740 DFOPT1 Destination FIFO Options Register 1
0x01C0 8344 0x01C0 8744 DFSRC1 Destination FIFO Source Address Register 1
0x01C0 8348 0x01C0 8748 DFCNT1 Destination FIFO Count Register 1
0x01C0 834C 0x01C0 874C DFDST1 Destination FIFO Destination Address Register 1
0x01C0 8350 0x01C0 8750 DFBIDX1 Destination FIFO B-Index Register 1
0x01C0 8354 0x01C0 8754 DFMPPRXY1 Destination FIFO Memory Protection Proxy Register 1
0x01C0 8380 0x01C0 8780 DFOPT2 Destination FIFO Options Register 2
0x01C0 8384 0x01C0 8784 DFSRC2 Destination FIFO Source Address Register 2
0x01C0 8388 0x01C0 8788 DFCNT2 Destination FIFO Count Register 2
0x01C0 838C 0x01C0 878C DFDST2 Destination FIFO Destination Address Register 2
0x01C0 8390 0x01C0 8790 DFBIDX2 Destination FIFO B-Index Register 2
0x01C0 8394 0x01C0 8794 DFMPPRXY2 Destination FIFO Memory Protection Proxy Register 2
0x01C0 83C0 0x01C0 87C0 DFOPT3 Destination FIFO Options Register 3
0x01C0 83C4 0x01C0 87C4 DFSRC3 Destination FIFO Source Address Register 3
0x01C0 83C8 0x01C0 87C8 DFCNT3 Destination FIFO Count Register 3
0x01C0 83CC 0x01C0 87CC DFDST3 Destination FIFO Destination Address Register 3
0x01C0 83D0 0x01C0 87D0 DFBIDX3 Destination FIFO B-Index Register 3
0x01C0 83D4 0x01C0 87D4 DFMPPRXY3 Destination FIFO Memory Protection Proxy Register 3

Table 6-14 shows an abbreviation of the set of registers which make up the parameter set for each of 128 EDMA events. Each of the parameter register sets consist of 8 32-bit word entries. Table 6-15 shows the parameter set entry registers with relative memory address locations within each of the parameter sets.

Table 6-14 EDMA Parameter Set RAM

BYTE ADDRESS DESCRIPTION
0x01C0 4000 - 0x01C0 401F Parameters Set 0 (8 32-bit words)
0x01C0 4020 - 0x01C0 403F Parameters Set 1 (8 32-bit words)
0x01C0 4040 - 0x01C0 405F Parameters Set 2 (8 32-bit words)
0x01C0 4060 - 0x01C0 407F Parameters Set 3 (8 32-bit words)
0x01C0 4080 - 0x01C0 409F Parameters Set 4 (8 32-bit words)
0x01C0 40A0 - 0x01C0 40BF Parameters Set 5 (8 32-bit words)
... ...
0x01C0 4FC0 - 0x01C0 4FDF Parameters Set 126 (8 32-bit words)
0x01C0 4FE0 - 0x01C0 4FFF Parameters Set 127 (8 32-bit words)

Table 6-15 Parameter Set Entries

BYTE OFFSET ADDRESS
WITHIN THE PARAMETER SET
ACRONYM PARAMETER ENTRY
0x0000 OPT Option
0x0004 SRC Source Address
0x0008 A_B_CNT A Count, B Count
0x000C DST Destination Address
0x0010 SRC_DST_BIDX Source B Index, Destination B Index
0x0014 LINK_BCNTRLD Link Address, B Count Reload
0x0018 SRC_DST_CIDX Source C Index, Destination C Index
0x001C CCNT C Count

Table 6-16 EDMA Events

Event Event Name / Source Event Event Name / Source
0 McASP0 Receive 16 MMCSD Receive
1 McASP0 Transmit 17 MMCSD Transmit
2 McASP1 Receive 18 SPI1 Receive
3 McASP1 Transmit 19 SPI1 Transmit
4 Reserved 20 PRU_EVTOUT6
5 Reserved 21 PRU_EVTOUT7
6 GPIO Bank 0 Interrupt 22 GPIO Bank 2 Interrupt
7 GPIO Bank 1 Interrupt 23 GPIO Bank 3 Interrupt
8 UART0 Receive 24 I2C0 Receive
9 UART0 Transmit 25 I2C0 Transmit
10 Timer64P0 Event Out 12 26 I2C1 Receive
11 Timer64P0 Event Out 34 27 I2C1 Transmit
12 UART1 Receive 28 GPIO Bank 4 Interrupt
13 UART1 Transmit 29 GPIO Bank 5 Interrupt
14 SPI0 Receive 30 UART2 Receive
15 SPI0 Transmit 31 UART2 Transmit

External Memory Interface A (EMIFA)

EMIFA is one of two external memory interfaces supported on the device. It supports asynchronous memory types, such as NAND and NOR flash and Asynchronous SRAM.

EMIFA Asynchronous Memory Support

EMIFA supports asynchronous:

  • SRAM memories
  • NAND Flash memories
  • NOR Flash memories

The device supports up to 13 address lines and an external wait/interrupt input. Up to 2 asynchronous chip selects are supported by EMIFA (EMA_CS[3:2]) .

Each chip select has the following individually programmable attributes:

  • Data Bus Width
  • Read cycle timings: setup, hold, strobe
  • Write cycle timings: setup, hold, strobe
  • Bus turn around time
  • Extended Wait Option With Programmable Timeout
  • Select Strobe Option
  • NAND flash controller supports 1-bit and 4-bit ECC calculation on blocks of 512 bytes.

EMIFA Connection Examples

A likely use case with more than one EMIFA chip select used for NAND flash is illustrated in Figure 6-12. This figure shows how two multiplane NAND flash devices with two chip selects each would connect to the EMIFA. In this case if NAND is the boot memory, then the boot image needs to be stored in the NAND area selected by EMA_CS[3]. Part of the application image could spill over into the NAND regions selected by other EMIFA chip selects; but would rely on the code stored in the EMA_CS[3] area to bootload it.

AM1705 dg_emif_flash_prs483.gif Figure 6-12 AM1705 EMIFA Connection Diagram: Multiple NAND Flash Planes

External Memory Interface A (EMIFA) Registers

Table 6-17 is a list of the EMIF registers.

Table 6-17 External Memory Interface (EMIFA) Registers

BYTE ADDRESS ACRONYM REGISTER DESCRIPTION
0x6800 0000 MIDR Module ID Register
0x6800 0004 AWCC Asynchronous Wait Cycle Configuration Register
0x6800 0008 - Reserved
0x6800 000C - Reserved
0x6800 0010 CE2CFG Asynchronous 1 Configuration Register
0x6800 0014 CE3CFG Asynchronous 2 Configuration Register
0x6800 0018 - Reserved
0x6800 001C - Reserved
0x6800 0020 - Reserved
0x6800 003C - Reserved
0x6800 0040 INTRAW EMIFA Interrupt Raw Register
0x6800 0044 INTMSK EMIFA Interrupt Mask Register
0x6800 0048 INTMSKSET EMIFA Interrupt Mask Set Register
0x6800 004C INTMSKCLR EMIFA Interrupt Mask Clear Register
0x6800 0060 NANDFCR NAND Flash Control Register
0x6800 0064 NANDFSR NAND Flash Status Register
0x6800 0070 NANDF1ECC NAND Flash 1 ECC Register (CS2 Space)
0x6800 0074 NANDF2ECC NAND Flash 2 ECC Register (CS3 Space)
0x6800 0078 - Reserved
0x6800 007C - Reserved
0x6800 00BC NAND4BITECCLOAD NAND Flash 4-Bit ECC Load Register
0x6800 00C0 NAND4BITECC1 NAND Flash 4-Bit ECC Register 1
0x6800 00C4 NAND4BITECC2 NAND Flash 4-Bit ECC Register 2
0x6800 00C8 NAND4BITECC3 NAND Flash 4-Bit ECC Register 3
0x6800 00CC NAND4BITECC4 NAND Flash 4-Bit ECC Register 4
0x6800 00D0 NANDERRADD1 NAND Flash 4-Bit ECC Error Address Register 1
0x6800 00D4 NANDERRADD2 NAND Flash 4-Bit ECC Error Address Register 2
0x6800 00D8 NANDERRVAL1 NAND Flash 4-Bit ECC Error Value Register 1
0x6800 00DC NANDERRVAL2 NAND Flash 4-Bit ECC Error Value Register 2

EMIFA Electrical Data/Timing

The following assume testing over recommended operating conditions.

Table 6-18 EMIFA Asynchronous Memory Timing Requirements(1)

No. PARAMETER MIN NOM MAX UNIT
READS and WRITES
E tc(CLK) Cycle time, EMIFA module clock 10 ns
2 tw(EM_WAIT) Pulse duration, EM_WAIT assertion and deassertion 2E ns
READS
12 tsu(EMDV-EMOEH) Setup time, EM_D[15:0] valid before EM_OE high 3 ns
13 th(EMOEH-EMDIV) Hold time, EM_D[15:0] valid after EM_OE high 0 ns
14 tsu (EMOEL-EMWAIT) Setup Time, EM_WAIT asserted before end of Strobe Phase(2) 4E+3 ns
WRITES
28 tsu (EMWEL-EMWAIT) Setup Time, EM_WAIT asserted before end of Strobe Phase(2) 4E+3 ns
E = EMA_CLK period or in ns. EMA_CLK is selected either as SYSCLK3 or the PLL output clock divided by 4.5. As an example, when SYSCLK3 is selected and set to 100MHz, E=10ns.
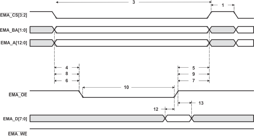
Setup before end of STROBE phase (if no extended wait states are inserted) by which EM_WAIT must be asserted to add extended wait states. Figure 6-15 and Figure 6-16 describe EMIF transactions that include extended wait states inserted during the STROBE phase. However, cycles inserted as part of this extended wait period should not be counted; the 4E requirement is to the start of where the HOLD phase would begin if there were no extended wait cycles.

Table 6-19 EMIFA Asynchronous Memory Switching Characteristics(1) (2) (3)

No. PARAMETER MIN NOM MAX UNIT
READS and WRITES
1 td(TURNAROUND) Turn around time (TA)*E - 3 (TA)*E (TA)*E + 3 ns
READS
3 tc(EMRCYCLE) EMIF read cycle time (EW = 0) (RS+RST+RH)*E - 3 (RS+RST+RH)*E (RS+RST+RH)*E + 3 ns
EMIF read cycle time (EW = 1) (RS+RST+RH+EWC)*E - 3 (RS+RST+RH+EWC)*E (RS+RST+RH+EWC)*E + 3 ns
4 tsu(EMCEL-EMOEL) Output setup time, EMA_CE[5:2] low to EMA_OE low (SS = 0) (RS)*E-3 (RS)*E (RS)*E+3 ns
Output setup time, EMA_CE[5:2] low to EMA_OE low (SS = 1) -3 0 +3 ns
5 th(EMOEH-EMCEH) Output hold time, EMA_OE high to EMA_CE[5:2] high (SS = 0) (RH)*E - 3 (RH)*E (RH)*E + 3 ns
Output hold time, EMA_OE high to EMA_CE[5:2] high (SS = 1) -3 0 +3 ns
6 tsu(EMBAV-EMOEL) Output setup time, EMA_BA[1:0] valid to EMA_OE low (RS)*E-3 (RS)*E (RS)*E+3 ns
7 th(EMOEH-EMBAIV) Output hold time, EMA_OE high to EMA_BA[1:0] invalid (RH)*E-3 (RH)*E (RH)*E+3 ns
8 tsu(EMBAV-EMOEL) Output setup time, EMA_A[13:0] valid to EMA_OE low (RS)*E-3 (RS)*E (RS)*E+3 ns
9 th(EMOEH-EMAIV) Output hold time, EMA_OE high to EMA_A[13:0] invalid (RH)*E-3 (RH)*E (RH)*E+3 ns
10 tw(EMOEL) EMA_OE active low width (EW = 0) (RST)*E-3 (RST)*E (RST)*E+3 ns
EMA_OE active low width (EW = 1) (RST+EWC)*E-3 (RST+EWC)*E (RST+EWC)*E+3 ns
11 td(EMWAITH-EMOEH) Delay time from EMA_WAIT deasserted to EMA_OE high 3E-3 4E 4E+3 ns
WRITES
15 tc(EMWCYCLE) EMIF write cycle time (EW = 0) (WS+WST+WH)*E-3 (WS+WST+WH)*E (WS+WST+WH)*E+3 ns
EMIF write cycle time (EW = 1) (WS+WST+WH+EWC)*E - 3 (WS+WST+WH+EWC)*E (WS+WST+WH+EWC)*E + 3 ns
16 tsu(EMCEL-EMWEL) Output setup time, EMA_CE[5:2] low to EMA_WE low (SS = 0) (WS)*E - 3 (WS)*E (WS)*E + 3 ns
Output setup time, EMA_CE[5:2] low to EMA_WE low (SS = 1) -3 0 +3 ns
17 th(EMWEH-EMCEH) Output hold time, EMA_WE high to EMA_CE[5:2] high (SS = 0) (WH)*E-3 (WH)*E (WH)*E+3 ns
Output hold time, EMA_WE high to EMA_CE[5:2] high (SS = 1) -3 0 +3 ns
18 tsu(EMDQMV-EMWEL) Output setup time, EMA_BA[1:0] valid to EMA_WE low (WS)*E-3 (WS)*E (WS)*E+3 ns
19 th(EMWEH-EMDQMIV) Output hold time, EMA_WE high to EMA_BA[1:0] invalid (WH)*E-3 (WH)*E (WH)*E+3 ns
20 tsu(EMBAV-EMWEL) Output setup time, EMA_BA[1:0] valid to EMA_WE low (WS)*E-3 (WS)*E (WS)*E+3 ns
21 th(EMWEH-EMBAIV) Output hold time, EMA_WE high to EMA_BA[1:0] invalid (WH)*E-3 (WH)*E (WH)*E+3 ns
22 tsu(EMAV-EMWEL) Output setup time, EMA_A[13:0] valid to EMA_WE low (WS)*E-3 (WS)*E (WS)*E+3 ns
23 th(EMWEH-EMAIV) Output hold time, EMA_WE high to EMA_A[13:0] invalid (WH)*E-3 (WH)*E (WH)*E+3 ns
24 tw(EMWEL) EMA_WE active low width (EW = 0) (WST)*E-3 (WST)*E (WST)*E+3 ns
EMA_WE active low width (EW = 1) (WST+EWC)*E-3 (WST+EWC)*E (WST+EWC)*E+3 ns
25 td(EMWAITH-EMWEH) Delay time from EMA_WAIT deasserted to EMA_WE high 3E-3 4E 4E+3 ns
26 tsu(EMDV-EMWEL) Output setup time, EMA_D[15:0] valid to EMA_WE low (WS)*E-3 (WS)*E (WS)*E+3 ns
27 th(EMWEH-EMDIV) Output hold time, EMA_WE high to EMA_D[15:0] invalid (WH)*E-3 (WH)*E (WH)*E+3 ns
TA = Turn around, RS = Read setup, RST = Read strobe, RH = Read hold, WS = Write setup, WST = Write strobe, WH = Write hold, MEWC = Maximum external wait cycles. These parameters are programmed via the Asynchronous Bank and Asynchronous Wait Cycle Configuration Registers. These support the following range of values: TA[4-1], RS[16-1], RST[64-1], RH[8-1], WS[16-1], WST[64-1], WH[8-1], and MEW[1-256].
E = EMA_CLK period or in ns. EMA_CLK is selected either as SYSCLK3 or the PLL output clock divided by 4.5. As an example, when SYSCLK3 is selected and set to 100MHz, E=10ns.
EWC = external wait cycles determined by EMA_WAIT input signal. EWC supports the following range of values EWC[256-1]. Note that the maximum wait time before timeout is specified by bit field MEWC in the Asynchronous Wait Cycle Configuration Register.
AM1705 td_async_rd_sprs657.gif Figure 6-13 Asynchronous Memory Read Timing for EMIFA
AM1705 td_async_wrt_sprs657.gif Figure 6-14 Asynchronous Memory Write Timing for EMIFA
AM1705 td_async_wrd1_prs657.gif Figure 6-15 EMA_WAIT Read Timing Requirements
AM1705 td_async_wwt_prs657.gif Figure 6-16 EMA_WAIT Write Timing Requirements

External Memory Interface B (EMIFB)

The following EMIFB Functional Block Diagram illustrates a high-level view of the EMIFB and its connections within the device. Multiple requesters have access to EMIFB through a switched central resource (indicated as an overbar in the figure). The EMIFB implements a split transaction internal bus, allowing concurrence between reads and writes from the various requesters.

AM1705 emifb_block_am1705_wMPU2.gif Figure 6-17 EMIFB Functional Block Diagram

EMIFB supports a 3.3V LVCMOS Interface.

EMIFB SDRAM Loading Limitations

EMIFB supports SDRAM up to 152 MHz with up to two SDRAM or asynchronous memory loads. Additional loads will limit the SDRAM operation to lower speeds and the maximum speed should be confirmed by board simulation using IBIS models.

Interfacing to SDRAM

The EMIFB supports a glueless interface to SDRAM devices with the following characteristics:

  • Pre-charge bit is A[10]
  • Supports 8, 9, 10 or 11 column address bits
  • Supports up to 13 row address bits
  • Supports 1, 2 or 4 internal banks

Table 6-20 shows the supported SDRAM configurations for EMIFB.

Table 6-20 EMIFB Supported SDRAM Configurations(1)

SDRAM Memory
Data Bus Width
(bits)
Number of Memories EMIFB Data Bus Size Rows Columns Banks Total Memory
(Mbits)
Total Memory
(Mbytes)
Memory Density
(Mbits)
16 1 16 13 8 1 32 4 32
1 16 13 8 2 64 8 64
1 16 13 8 4 128 16 128
1 16 13 9 1 64 8 64
1 16 13 9 2 128 16 128
1 16 13 9 4 256 32 256
1 16 13 10 1 128 16 128
1 16 13 10 2 256 32 256
1 16 13 10 4 512 64 512
1 16 13 11 1 256 32 256
1 16 13 11 2 512 64 512
1 16 13 11 4 1024 128 1024
8 2 16 13 8 1 32 4 16
2 16 13 8 2 64 8 32
2 16 13 8 4 128 16 64
2 16 13 9 1 64 8 32
2 16 13 9 2 128 16 64
2 16 13 9 4 256 32 128
2 16 13 10 1 128 16 64
2 16 13 10 2 256 32 128
2 16 13 10 4 512 64 256
2 16 13 11 1 256 32 128
2 16 13 11 2 512 64 256
2 16 13 11 4 1024 128 512
The shaded cells indicate configurations that are possible on the EMIFA interface but as of this writing SDRAM memories capable of supporting these densities are not available in the market.

Figure 6-18 shows an interface between the EMIFB and a 2M × 16 × 4 bank SDRAM device. Refer to Table 6-21, as an example that shows additional list of commonly-supported SDRAM devices and the required connections for the address pins. Note that in Table 6-21, page size/column size (not indicated in the table) is varied to get the required addressability range.

AM1705 f_4_prufl7.gif Figure 6-18 EMIFB to 2M × 16 × 4 bank SDRAM Interface

Table 6-21 Example of 16-bit EMIFB Address Pin Connections

SDRAM Size Width Banks Address Pins
64M bits ×16 4 SDRAM A[11:0]
EMIFB EMB_A[11:0]
128M bits ×16 4 SDRAM A[11:0]
EMIFB EMB_A[11:0]
256M bits ×16 4 SDRAM A[12:0]
EMIFB EMB_A[12:0]
512M bits ×16 4 SDRAM A[12:0]
EMIFB EMB_A[12:0]

EMIFB Registers

Table 6-22 is a list of the EMIFB registers.

Table 6-22 EMIFB Controller Registers

BYTE ADDRESS ACRONYM REGISTER DESCRIPTION
0xB000 0000 MIDR Module ID Register
0xB000 0008 SDCFG SDRAM Configuration Register
0xB000 000C SDRFC SDRAM Refresh Control Register
0xB000 0010 SDTIM1 SDRAM Timing Register 1
0xB000 0014 SDTIM2 SDRAM Timing Register 2
0xB000 001C SDCFG2 SDRAM Configuration 2 Register
0xB000 0020 BPRIO Peripheral Bus Burst Priority Register
0xB000 0040 PC1 Performance Counter 1 Register
0xB000 0044 PC2 Performance Counter 2 Register
0xB000 0048 PCC Performance Counter Configuration Register
0xB000 004C PCMRS Performance Counter Master Region Select Register
0xB000 0050 PCT Performance Counter Time Register
0xB000 00C0 IRR Interrupt Raw Register
0xB000 00C4 IMR Interrupt Mask Register
0xB000 00C8 IMSR Interrupt Mask Set Register
0xB000 00CC IMCR Interrupt Mask Clear Register

EMIFB Electrical Data/Timing

Table 6-23 EMIFB SDRAM Interface Timing Requirements

NO. CVDD = 1.3 V(1) CVDD = 1.2V(2) UNIT
MIN MAX MIN MAX
19 t(DV-CLKH) Input setup time, read data valid on EMB_D[31:0] before EMB_CLK rising 0.59 0.8 ns
20 th(CLKH-DIV) Input hold time, read data valid on EMB_D[31:0] after EMB_CLK rising 1.25 1.5 ns
Commercial (default), Industrial and Extended temperature range rated devices for 456 MHz max CPU operating frequency as applicable to the device
Commercial (default), Industrial, Extended and Automotive temperature range rated devices for 400/375/300/266/200 MHz max CPU operating frequencies as applicable to the device

Table 6-24 EMIFB SDRAM Interface Switching Characteristics for Commercial (Default) Temperature Range

NO. PARAMETER CVDD = 1.3 V(1) CVDD = 1.2V(2) UNIT
MIN MAX MIN MAX
1 tc(CLK) Cycle time, EMIF clock EMB_CLK 6.579 7.5 ns
2 tw(CLK) Pulse width, EMIF clock EMB_CLK high or low 2.63 3 ns
3 td(CLKH-CSV) Delay time, EMB_CLK rising to EMB_CS[0] valid 4.25 5.1 ns
4 toh(CLKH-CSIV) Output hold time, EMB_CLK rising to EMB_CS[0] invalid 1.1 1.1 ns
5 td(CLKH-DQMV) Delay time, EMB_CLK rising to EMB_WE_DQM[3:0] valid 4.25 5.1 ns
6 toh(CLKH-DQMIV) Output hold time, EMB_CLK rising to EMB_WE_DQM[3:0] invalid 1.1 1.1 ns
7 td(CLKH-AV) Delay time, EMB_CLK rising to EMB_A[12:0] and EMB_BA[1:0] valid 4.25 5.1 ns
8 toh(CLKH-AIV) Output hold time, EMB_CLK rising to EMB_A[12:0] and EMB_BA[1:0] invalid 1.1 1.1 ns
9 td(CLKH-DV) Delay time, EMB_CLK rising to EMB_D[31:0] valid 4.25 5.1 ns
10 toh(CLKH-DIV) Output hold time, EMB_CLK rising to EMB_D[31:0] invalid 1.1 1.1 ns
11 td(CLKH-RASV) Delay time, EMB_CLK rising to EMB_RAS valid 4.25 5.1 ns
12 toh(CLKH-RASIV) Output hold time, EMB_CLK rising to EMB_RAS invalid 1.1 1.1 ns
13 td(CLKH-CASV) Delay time, EMB_CLK rising to EMB_CAS valid 4.25 5.1 ns
14 toh(CLKH-CASIV) Output hold time, EMB_CLK rising to EMB_CAS invalid 1.1 1.1 ns
15 td(CLKH-WEV) Delay time, EMB_CLK rising to EMB_WE valid 4.25 5.1 ns
16 toh(CLKH-WEIV) Output hold time, EMB_CLK rising to EMB_WE invalid 1.1 1.1 ns
17 tdis(CLKH-DHZ) Delay time, EMB_CLK rising to EMB_D[31:0] tri-stated 4.25 5.1 ns
18 t(CLKH-DLZ) Output hold time, EMB_CLK rising to EMB_D[31:0] driving 1.1 1.1 ns
Commercial (default) temperature range rated devices for 456 MHz max CPU operating frequency as applicable to the device
Commercial (default) temperature range rated devices for 400/375/300/266/200 MHz max CPU operating frequencies as applicable to the device

Table 6-25 EMIFB SDRAM Interface Switching Characteristics for Industrial, Extended, and Automotive Temperature Ranges

NO. PARAMETER CVDD = 1.3 V(1) CVDD = 1.2V(2) UNIT
MIN MAX MIN MAX
1 tc(CLK) Cycle time, EMIF clock EMB_CLK 6.579 7.5 ns
2 tw(CLK) Pulse width, EMIF clock EMB_CLK high or low 2.63 3 ns
3 td(CLKH-CSV) Delay time, EMB_CLK rising to EMB_CS[0] valid 4.25 5.1 ns
4 toh(CLKH-CSIV) Output hold time, EMB_CLK rising to EMB_CS[0] invalid 1.1 0.9 ns
5 td(CLKH-DQMV) Delay time, EMB_CLK rising to EMB_WE_DQM[3:0] valid 4.25 5.1 ns
6 toh(CLKH-DQMIV) Output hold time, EMB_CLK rising to EMB_WE_DQM[3:0] invalid 1.1 0.9 ns
7 td(CLKH-AV) Delay time, EMB_CLK rising to EMB_A[12:0] and EMB_BA[1:0] valid 4.25 5.1 ns
8 toh(CLKH-AIV) Output hold time, EMB_CLK rising to EMB_A[12:0] and EMB_BA[1:0] invalid 1.1 0.9 ns
9 td(CLKH-DV) Delay time, EMB_CLK rising to EMB_D[31:0] valid 4.25 5.1 ns
10 toh(CLKH-DIV) Output hold time, EMB_CLK rising to EMB_D[31:0] invalid 1.1 0.9 ns
11 td(CLKH-RASV) Delay time, EMB_CLK rising to EMB_RAS valid 4.25 5.1 ns
12 toh(CLKH-RASIV) Output hold time, EMB_CLK rising to EMB_RAS invalid 1.1 0.9 ns
13 td(CLKH-CASV) Delay time, EMB_CLK rising to EMB_CAS valid 4.25 5.1 ns
14 toh(CLKH-CASIV) Output hold time, EMB_CLK rising to EMB_CAS invalid 1.1 0.9 ns
15 td(CLKH-WEV) Delay time, EMB_CLK rising to EMB_WE valid 4.25 5.1 ns
16 toh(CLKH-WEIV) Output hold time, EMB_CLK rising to EMB_WE invalid 1.1 0.9 ns
17 tdis(CLKH-DHZ) Delay time, EMB_CLK rising to EMB_D[31:0] tri-stated 4.25 5.1 ns
18 t(CLKH-DLZ) Output hold time, EMB_CLK rising to EMB_D[31:0] driving 1.1 0.9 ns
Industrial temperature range rated devices for 456 MHz max CPU operating frequency as applicable to the device
Industrial, Extended and Automotive temperature range rated devices for 400/375/300/266/200 MHz max CPU operating frequencies as applicable to the device
AM1705 emifb_write_prs483.gif Figure 6-19 EMIFB Basic SDRAM Write Operation
AM1705 emif2_3_9_prs254.gif Figure 6-20 EMIFB Basic SDRAM Read Operation

Memory Protection Units

The MPU performs memory protection checking. It receives requests from a bus master in the system and checks the address against the fixed and programmable regions to see if the access is allowed. If allowed, the transfer is passed unmodified to its output bus (to the targeted address). If the transfer is illegal (fails the protection check) then the MPU does not pass the transfer to the output bus but rather services the transfer internally back to the input bus (to prevent a hang) returning the fault status to the requestor as well as generating an interrupt about the fault. The following features are supported by the MPU:

  • Provides memory protection for fixed and programmable address ranges
  • Supports multiple programmable address region
  • Supports secure and debug access privileges
  • Supports read, write, and execute access privileges
  • Supports privid(8) associations with ranges
  • Generates an interrupt when there is a protection violation, and saves violating transfer parameters
  • MMR access is also protected

Table 6-26 MPU1 Configuration Registers

MPU1
BYTE ADDRESS
ACRONYM REGISTER DESCRIPTION
0x01E1 4000 REVID Revision ID
0x01E1 4004 CONFIG Configuration
0x01E1 4010 IRAWSTAT Interrupt raw status/set
0x01E1 4014 IENSTAT Interrupt enable status/clear
0x01E1 4018 IENSET Interrupt enable
0x01E1 401C IENCLR Interrupt enable clear
0x01E1 4020 - 0x01E1 41FF - Reserved
0x01E1 4200 PROG1_MPSAR Programmable range 1, start address
0x01E1 4204 PROG1_MPEAR Programmable range 1, end address
0x01E1 4208 PROG1_MPPA Programmable range 1, memory page protection attributes
0x01E1 420C - 0x01E1 420F - Reserved
0x01E1 4210 PROG2_MPSAR Programmable range 2, start address
0x01E1 4214 PROG2_MPEAR Programmable range 2, end address
0x01E1 4218 PROG2_MPPA Programmable range 2, memory page protection attributes
0x01E1 421C - 0x01E1 421F - Reserved
0x01E1 4220 PROG3_MPSAR Programmable range 3, start address
0x01E1 4224 PROG3_MPEAR Programmable range 3, end address
0x01E1 4228 PROG3_MPPA Programmable range 3, memory page protection attributes
0x01E1 422C - 0x01E1 422F - Reserved
0x01E1 4230 PROG4_MPSAR Programmable range 4, start address
0x01E1 4234 PROG4_MPEAR Programmable range 4, end address
0x01E1 4238 PROG4_MPPA Programmable range 4, memory page protection attributes
0x01E1 423C - 0x01E1 423F - Reserved
0x01E1 4240 PROG5_MPSAR Programmable range 5, start address
0x01E1 4244 PROG5_MPEAR Programmable range 5, end address
0x01E1 4248 PROG5_MPPA Programmable range 5, memory page protection attributes
0x01E1 424C - 0x01E1 424F - Reserved
0x01E1 4250 PROG6_MPSAR Programmable range 6, start address
0x01E1 4254 PROG6_MPEAR Programmable range 6, end address
0x01E1 4258 PROG6_MPPA Programmable range 6, memory page protection attributes
0x01E1 425C - 0x01E1 42FF - Reserved
0x01E14300 FLTADDRR Fault address
0x01E1 4304 FLTSTAT Fault status
0x01E1 4308 FLTCLR Fault clear
0x01E1 430C - 0x01E1 4FFF - Reserved

Table 6-27 MPU2 Configuration Registers

MPU2
BYTE ADDRESS
ACRONYM REGISTER DESCRIPTION
0x01E1 5000 REVID Revision ID
0x01E1 5004 CONFIG Configuration
0x01E1 5010 IRAWSTAT Interrupt raw status/set
0x01E1 5014 IENSTAT Interrupt enable status/clear
0x01E1 5018 IENSET Interrupt enable
0x01E1 501C IENCLR Interrupt enable clear
0x01E1 5020 - 0x01E1 50FF - Reserved
0x01E1 5100 FXD_MPSAR Fixed range start address
0x01E1 5104 FXD_MPEAR Fixed range end start address
0x01E1 5108 FXD_MPPA Fixed range memory page protection attributes
0x01E1 510C - 0x01E1 51FF - Reserved
0x01E1 5200 PROG1_MPSAR Programmable range 1, start address
0x01E1 5204 PROG1_MPEAR Programmable range 1, end address
0x01E1 5208 PROG1_MPPA Programmable range 1, memory page protection attributes
0x01E1 520C - 0x01E1 520F - Reserved
0x01E1 5210 PROG2_MPSAR Programmable range 2, start address
0x01E1 5214 PROG2_MPEAR Programmable range 2, end address
0x01E1 5218 PROG2_MPPA Programmable range 2, memory page protection attributes
0x01E1 521C - 0x01E1 521F - Reserved
0x01E1 5220 PROG3_MPSAR Programmable range 3, start address
0x01E1 5224 PROG3_MPEAR Programmable range 3, end address
0x01E1 5228 PROG3_MPPA Programmable range 3, memory page protection attributes
0x01E1 522C - 0x01E1 522F - Reserved
0x01E1 5230 PROG4_MPSAR Programmable range 4, start address
0x01E1 5234 PROG4_MPEAR Programmable range 4, end address
0x01E1 5238 PROG4_MPPA Programmable range 4, memory page protection attributes
0x01E1 523C - 0x01E1 523F - Reserved
0x01E1 5240 PROG5_MPSAR Programmable range 5, start address
0x01E1 5244 PROG5_MPEAR Programmable range 5, end address
0x01E1 5248 PROG5_MPPA Programmable range 5, memory page protection attributes
0x01E1 524C - 0x01E1 524F - Reserved
0x01E1 5250 PROG6_MPSAR Programmable range 6, start address
0x01E1 5254 PROG6_MPEAR Programmable range 6, end address
0x01E1 5258 PROG6_MPPA Programmable range 6, memory page protection attributes
0x01E1 525C - 0x01E1 525F - Reserved
0x01E1 5260 PROG7_MPSAR Programmable range 7, start address
0x01E1 5264 PROG7_MPEAR Programmable range 7, end address
0x01E1 5268 PROG7_MPPA Programmable range 7, memory page protection attributes
0x01E1 526C - 0x01E1 526F - Reserved
0x01E1 5270 PROG8_MPSAR Programmable range 8, start address
0x01E1 5274 PROG8_MPEAR Programmable range 8, end address
0x01E1 5278 PROG8_MPPA Programmable range 8, memory page protection attributes
0x01E1 527C - 0x01E1 527F - Reserved
0x01E1 5280 PROG9_MPSAR Programmable range 9, start address
0x01E1 5284 PROG9_MPEAR Programmable range 9, end address
0x01E1 5288 PROG9_MPPA Programmable range 9, memory page protection attributes
0x01E1 528C - 0x01E1 528F - Reserved
0x01E1 5290 PROG10_MPSAR Programmable range 10, start address
0x01E1 5294 PROG10_MPEAR Programmable range 10, end address
0x01E1 5298 PROG10_MPPA Programmable range 10, memory page protection attributes
0x01E1 529C - 0x01E1 529F - Reserved
0x01E1 52A0 PROG11_MPSAR Programmable range 11, start address
0x01E1 52A4 PROG11_MPEAR Programmable range 11, end address
0x01E1 52A8 PROG11_MPPA Programmable range 11, memory page protection attributes
0x01E1 52AC - 0x01E1 52AF - Reserved
0x01E1 52B0 PROG12_MPSAR Programmable range 12, start address
0x01E1 52B4 PROG12_MPEAR Programmable range 12, end address
0x01E1 52B8 PROG12_MPPA Programmable range 12, memory page protection attributes
0x01E1 52BC - 0x01E1 52FF - Reserved
0x01E1 5300 FLTADDRR Fault address
0x01E1 5304 FLTSTAT Fault status
0x01E1 5308 FLTCLR Fault clear
0x01E1 530C - 0x01E1 5FFF - Reserved

MMC / SD / SDIO (MMCSD)

MMCSD Peripheral Description

The device includes an MMCSD controller which is compliant with MMC V4.0, Secure Digital Part 1 Physical Layer Specification V1.1 and Secure Digital Input Output (SDIO) V2.0 specifications.

The MMC/SD Controller has following features:

  • MultiMediaCard (MMC) support
  • Secure Digital (SD) Memory Card support
  • MMC/SD protocol support
  • SD high capacity support
  • SDIO protocol support
  • Programmable clock frequency
  • 512 bit Read/Write FIFO to lower system overhead
  • Slave EDMA transfer capability

The device MMC/SD Controller does not support SPI mode.

MMCSD Peripheral Register Description(s)

Table 6-28 Multimedia Card/Secure Digital (MMC/SD) Card Controller Registers

BYTE ADDRESS ACRONYM REGISTER DESCRIPTION
0x01C4 0000 MMCCTL MMC Control Register
0x01C4 0004 MMCCLK MMC Memory Clock Control Register
0x01C4 0008 MMCST0 MMC Status Register 0
0x01C4 000C MMCST1 MMC Status Register 1
0x01C4 0010 MMCIM MMC Interrupt Mask Register
0x01C4 0014 MMCTOR MMC Response Time-Out Register
0x01C4 0018 MMCTOD MMC Data Read Time-Out Register
0x01C4 001C MMCBLEN MMC Block Length Register
0x01C4 0020 MMCNBLK MMC Number of Blocks Register
0x01C4 0024 MMCNBLC MMC Number of Blocks Counter Register
0x01C4 0028 MMCDRR MMC Data Receive Register
0x01C4 002C MMCDXR MMC Data Transmit Register
0x01C4 0030 MMCCMD MMC Command Register
0x01C4 0034 MMCARGHL MMC Argument Register
0x01C4 0038 MMCRSP01 MMC Response Register 0 and 1
0x01C4 003C MMCRSP23 MMC Response Register 2 and 3
0x01C4 0040 MMCRSP45 MMC Response Register 4 and 5
0x01C4 0044 MMCRSP67 MMC Response Register 6 and 7
0x01C4 0048 MMCDRSP MMC Data Response Register
0x01C4 0050 MMCCIDX MMC Command Index Register
0x01C4 0064 SDIOCTL SDIO Control Register
0x01C4 0068 SDIOST0 SDIO Status Register 0
0x01C4 006C SDIOIEN SDIO Interrupt Enable Register
0x01C4 0070 SDIOIST SDIO Interrupt Status Register
0x01C4 0074 MMCFIFOCTLπ MMC FIFO Control Register

MMC/SD Electrical Data/Timing

Table 6-29 Timing Requirements for MMC/SD Module
(see Figure 6-22 and Figure 6-24)

No. PARAMETER MIN MAX UNIT
1 tsu(CMDV-CLKH) Setup time, MMCSD_CMD valid before MMCSD_CLK high 3.2 ns
2 th(CLKH-CMDV) Hold time, MMCSD_CMD valid after MMCSD_CLK high 1.5 ns
3 tsu(DATV-CLKH) Setup time, MMCSD_DATx valid before MMCSD_CLK high 3.2 ns
4 th(CLKH-DATV) Hold time, MMCSD_DATx valid after MMCSD_CLK high 1.5 ns

Table 6-30 Switching Characteristics Over Recommended Operating Conditions for MMC/SD Module (see Figure 6-21 through Figure 6-24)

No. PARAMETER MIN MAX UNIT
7 f(CLK) Operating frequency, MMCSD_CLK 0 52 MHz
8 f(CLK_ID) Identification mode frequency, MMCSD_CLK 0 400 KHz
9 tW(CLKL) Pulse width, MMCSD_CLK low 6.5 ns
10 tW(CLKH) Pulse width, MMCSD_CLK high 6.5 ns
11 tr(CLK) Rise time, MMCSD_CLK 3 ns
12 tf(CLK) Fall time, MMCSD_CLK 3 ns
13 td(CLKL-CMD) Delay time, MMCSD_CLK low to MMCSD_CMD transition -4.5 2.5 ns
14 td(CLKL-DAT) Delay time, MMCSD_CLK low to MMCSD_DATx transition -4.5 2.5 ns
AM1705 td_mmcsdcmd_prs348.gif Figure 6-21 MMC/SD Host Command Timing
AM1705 td_mmcsdrspn_prs271.gif Figure 6-22 MMC/SD Card Response Timing
AM1705 td_mmcsdwrt_prs348.gif Figure 6-23 MMC/SD Host Write Timing
AM1705 td_mmcsdrdst_prs348.gif Figure 6-24 MMC/SD Host Read and Card CRC Status Timing

Ethernet Media Access Controller (EMAC)

The Ethernet Media Access Controller (EMAC) provides an efficient interface between the device and the network. The EMAC supports both 10Base-T and 100Base-TX, or 10 Mbits/second (Mbps) and 100 Mbps in either half- or full-duplex mode, with hardware flow control and quality of service (QOS) support.

The EMAC controls the flow of packet data from the device to the PHY. The MDIO module controls PHY configuration and status monitoring.

Both the EMAC and the MDIO modules interface to the device through a custom interface that allows efficient data transmission and reception. This custom interface is referred to as the EMAC control module, and is considered integral to the EMAC/MDIO peripheral. The control module is also used to multiplex and control interrupts.

EMAC Peripheral Register Description(s)

Table 6-31 Ethernet Media Access Controller (EMAC) Registers

BYTE ADDRESS ACRONYM REGISTER DESCRIPTION
0x01E2 3000 TXREV Transmit Revision Register
0x01E2 3004 TXCONTROL Transmit Control Register
0x01E2 3008 TXTEARDOWN Transmit Teardown Register
0x01E2 3010 RXREV Receive Revision Register
0x01E2 3014 RXCONTROL Receive Control Register
0x01E2 3018 RXTEARDOWN Receive Teardown Register
0x01E2 3080 TXINTSTATRAW Transmit Interrupt Status (Unmasked) Register
0x01E2 3084 TXINTSTATMASKED Transmit Interrupt Status (Masked) Register
0x01E2 3088 TXINTMASKSET Transmit Interrupt Mask Set Register
0x01E2 308C TXINTMASKCLEAR Transmit Interrupt Clear Register
0x01E2 3090 MACINVECTOR MAC Input Vector Register
0x01E2 3094 MACEOIVECTOR MAC End Of Interrupt Vector Register
0x01E2 30A0 RXINTSTATRAW Receive Interrupt Status (Unmasked) Register
0x01E2 30A4 RXINTSTATMASKED Receive Interrupt Status (Masked) Register
0x01E2 30A8 RXINTMASKSET Receive Interrupt Mask Set Register
0x01E2 30AC RXINTMASKCLEAR Receive Interrupt Mask Clear Register
0x01E2 30B0 MACINTSTATRAW MAC Interrupt Status (Unmasked) Register
0x01E2 30B4 MACINTSTATMASKED MAC Interrupt Status (Masked) Register
0x01E2 30B8 MACINTMASKSET MAC Interrupt Mask Set Register
0x01E2 30BC MACINTMASKCLEAR MAC Interrupt Mask Clear Register
0x01E2 3100 RXMBPENABLE Receive Multicast/Broadcast/Promiscuous Channel Enable Register
0x01E2 3104 RXUNICASTSET Receive Unicast Enable Set Register
0x01E2 3108 RXUNICASTCLEAR Receive Unicast Clear Register
0x01E2 310C RXMAXLEN Receive Maximum Length Register
0x01E2 3110 RXBUFFEROFFSET Receive Buffer Offset Register
0x01E2 3114 RXFILTERLOWTHRESH Receive Filter Low Priority Frame Threshold Register
0x01E2 3120 RX0FLOWTHRESH Receive Channel 0 Flow Control Threshold Register
0x01E2 3124 RX1FLOWTHRESH Receive Channel 1 Flow Control Threshold Register
0x01E2 3128 RX2FLOWTHRESH Receive Channel 2 Flow Control Threshold Register
0x01E2 312C RX3FLOWTHRESH Receive Channel 3 Flow Control Threshold Register
0x01E2 3130 RX4FLOWTHRESH Receive Channel 4 Flow Control Threshold Register
0x01E2 3134 RX5FLOWTHRESH Receive Channel 5 Flow Control Threshold Register
0x01E2 3138 RX6FLOWTHRESH Receive Channel 6 Flow Control Threshold Register
0x01E2 313C RX7FLOWTHRESH Receive Channel 7 Flow Control Threshold Register
0x01E2 3140 RX0FREEBUFFER Receive Channel 0 Free Buffer Count Register
0x01E2 3144 RX1FREEBUFFER Receive Channel 1 Free Buffer Count Register
0x01E2 3148 RX2FREEBUFFER Receive Channel 2 Free Buffer Count Register
0x01E2 314C RX3FREEBUFFER Receive Channel 3 Free Buffer Count Register
0x01E2 3150 RX4FREEBUFFER Receive Channel 4 Free Buffer Count Register
0x01E2 3154 RX5FREEBUFFER Receive Channel 5 Free Buffer Count Register
0x01E2 3158 RX6FREEBUFFER Receive Channel 6 Free Buffer Count Register
0x01E2 315C RX7FREEBUFFER Receive Channel 7 Free Buffer Count Register
0x01E2 3160 MACCONTROL MAC Control Register
0x01E2 3164 MACSTATUS MAC Status Register
0x01E2 3168 EMCONTROL Emulation Control Register
0x01E2 316C FIFOCONTROL FIFO Control Register
0x01E2 3170 MACCONFIG MAC Configuration Register
0x01E2 3174 SOFTRESET Soft Reset Register
0x01E2 31D0 MACSRCADDRLO MAC Source Address Low Bytes Register
0x01E2 31D4 MACSRCADDRHI MAC Source Address High Bytes Register
0x01E2 31D8 MACHASH1 MAC Hash Address Register 1
0x01E2 31DC MACHASH2 MAC Hash Address Register 2
0x01E2 31E0 BOFFTEST Back Off Test Register
0x01E2 31E4 TPACETEST Transmit Pacing Algorithm Test Register
0x01E2 31E8 RXPAUSE Receive Pause Timer Register
0x01E2 31EC TXPAUSE Transmit Pause Timer Register
0x01E2 3200 - 0x01E2 32FC (see Table 6-32) EMAC Statistics Registers
0x01E2 3500 MACADDRLO MAC Address Low Bytes Register, Used in Receive Address Matching
0x01E2 3504 MACADDRHI MAC Address High Bytes Register, Used in Receive Address Matching
0x01E2 3508 MACINDEX MAC Index Register
0x01E2 3600 TX0HDP Transmit Channel 0 DMA Head Descriptor Pointer Register
0x01E2 3604 TX1HDP Transmit Channel 1 DMA Head Descriptor Pointer Register
0x01E2 3608 TX2HDP Transmit Channel 2 DMA Head Descriptor Pointer Register
0x01E2 360C TX3HDP Transmit Channel 3 DMA Head Descriptor Pointer Register
0x01E2 3610 TX4HDP Transmit Channel 4 DMA Head Descriptor Pointer Register
0x01E2 3614 TX5HDP Transmit Channel 5 DMA Head Descriptor Pointer Register
0x01E2 3618 TX6HDP Transmit Channel 6 DMA Head Descriptor Pointer Register
0x01E2 361C TX7HDP Transmit Channel 7 DMA Head Descriptor Pointer Register
0x01E2 3620 RX0HDP Receive Channel 0 DMA Head Descriptor Pointer Register
0x01E2 3624 RX1HDP Receive Channel 1 DMA Head Descriptor Pointer Register
0x01E2 3628 RX2HDP Receive Channel 2 DMA Head Descriptor Pointer Register
0x01E2 362C RX3HDP Receive Channel 3 DMA Head Descriptor Pointer Register
0x01E2 3630 RX4HDP Receive Channel 4 DMA Head Descriptor Pointer Register
0x01E2 3634 RX5HDP Receive Channel 5 DMA Head Descriptor Pointer Register
0x01E2 3638 RX6HDP Receive Channel 6 DMA Head Descriptor Pointer Register
0x01E2 363C RX7HDP Receive Channel 7 DMA Head Descriptor Pointer Register
0x01E2 3640 TX0CP Transmit Channel 0 Completion Pointer Register
0x01E2 3644 TX1CP Transmit Channel 1 Completion Pointer Register
0x01E2 3648 TX2CP Transmit Channel 2 Completion Pointer Register
0x01E2 364C TX3CP Transmit Channel 3 Completion Pointer Register
0x01E2 3650 TX4CP Transmit Channel 4 Completion Pointer Register
0x01E2 3654 TX5CP Transmit Channel 5 Completion Pointer Register
0x01E2 3658 TX6CP Transmit Channel 6 Completion Pointer Register
0x01E2 365C TX7CP Transmit Channel 7 Completion Pointer Register
0x01E2 3660 RX0CP Receive Channel 0 Completion Pointer Register
0x01E2 3664 RX1CP Receive Channel 1 Completion Pointer Register
0x01E2 3668 RX2CP Receive Channel 2 Completion Pointer Register
0x01E2 366C RX3CP Receive Channel 3 Completion Pointer Register
0x01E2 3670 RX4CP Receive Channel 4 Completion Pointer Register
0x01E2 3674 RX5CP Receive Channel 5 Completion Pointer Register
0x01E2 3678 RX6CP Receive Channel 6 Completion Pointer Register
0x01E2 367C RX7CP Receive Channel 7 Completion Pointer Register

Table 6-32 EMAC Statistics Registers

BYTE ADDRESS ACRONYM REGISTER DESCRIPTION
0x01E2 3200 RXGOODFRAMES Good Receive Frames Register
0x01E2 3204 RXBCASTFRAMES Broadcast Receive Frames Register
(Total number of good broadcast frames received)
0x01E2 3208 RXMCASTFRAMES Multicast Receive Frames Register
(Total number of good multicast frames received)
0x01E2 320C RXPAUSEFRAMES Pause Receive Frames Register
0x01E2 3210 RXCRCERRORS Receive CRC Errors Register
(Total number of frames received with CRC errors)
0x01E2 3214 RXALIGNCODEERRORS Receive Alignment/Code Errors Register
(Total number of frames received with alignment/code errors)
0x01E2 3218 RXOVERSIZED Receive Oversized Frames Register
(Total number of oversized frames received)
0x01E2 321C RXJABBER Receive Jabber Frames Register
(Total number of jabber frames received)
0x01E2 3220 RXUNDERSIZED Receive Undersized Frames Register
(Total number of undersized frames received)
0x01E2 3224 RXFRAGMENTS Receive Frame Fragments Register
0x01E2 3228 RXFILTERED Filtered Receive Frames Register
0x01E2 322C RXQOSFILTERED Received QOS Filtered Frames Register
0x01E2 3230 RXOCTETS Receive Octet Frames Register
(Total number of received bytes in good frames)
0x01E2 3234 TXGOODFRAMES Good Transmit Frames Register
(Total number of good frames transmitted)
0x01E2 3238 TXBCASTFRAMES Broadcast Transmit Frames Register
0x01E2 323C TXMCASTFRAMES Multicast Transmit Frames Register
0x01E2 3240 TXPAUSEFRAMES Pause Transmit Frames Register
0x01E2 3244 TXDEFERRED Deferred Transmit Frames Register
0x01E2 3248 TXCOLLISION Transmit Collision Frames Register
0x01E2 324C TXSINGLECOLL Transmit Single Collision Frames Register
0x01E2 3250 TXMULTICOLL Transmit Multiple Collision Frames Register
0x01E2 3254 TXEXCESSIVECOLL Transmit Excessive Collision Frames Register
0x01E2 3258 TXLATECOLL Transmit Late Collision Frames Register
0x01E2 325C TXUNDERRUN Transmit Underrun Error Register
0x01E2 3260 TXCARRIERSENSE Transmit Carrier Sense Errors Register
0x01E2 3264 TXOCTETS Transmit Octet Frames Register
0x01E2 3268 FRAME64 Transmit and Receive 64 Octet Frames Register
0x01E2 326C FRAME65T127 Transmit and Receive 65 to 127 Octet Frames Register
0x01E2 3270 FRAME128T255 Transmit and Receive 128 to 255 Octet Frames Register
0x01E2 3274 FRAME256T511 Transmit and Receive 256 to 511 Octet Frames Register
0x01E2 3278 FRAME512T1023 Transmit and Receive 512 to 1023 Octet Frames Register
0x01E2 327C FRAME1024TUP Transmit and Receive 1024 to 1518 Octet Frames Register
0x01E2 3280 NETOCTETS Network Octet Frames Register
0x01E2 3284 RXSOFOVERRUNS Receive FIFO or DMA Start of Frame Overruns Register
0x01E2 3288 RXMOFOVERRUNS Receive FIFO or DMA Middle of Frame Overruns Register
0x01E2 328C RXDMAOVERRUNS Receive DMA Start of Frame and Middle of Frame Overruns Register

Table 6-33 EMAC Control Module Registers

BYTE ADDRESS ACRONYM REGISTER DESCRIPTION
0x01E2 2000 REV EMAC Control Module Revision Register
0x01E2 2004 SOFTRESET EMAC Control Module Software Reset Register
0x01E2 200C INTCONTROL EMAC Control Module Interrupt Control Register
0x01E2 2010 C0RXTHRESHEN EMAC Control Module Interrupt Core 0 Receive Threshold Interrupt Enable Register
0x01E2 2014 C0RXEN EMAC Control Module Interrupt Core 0 Receive Interrupt Enable Register
0x01E2 2018 C0TXEN EMAC Control Module Interrupt Core 0 Transmit Interrupt Enable Register
0x01E2 201C C0MISCEN EMAC Control Module Interrupt Core 0 Miscellaneous Interrupt Enable Register
0x01E2 2020 C1RXTHRESHEN EMAC Control Module Interrupt Core 1 Receive Threshold Interrupt Enable Register
0x01E2 2024 C1RXEN EMAC Control Module Interrupt Core 1 Receive Interrupt Enable Register
0x01E2 2028 C1TXEN EMAC Control Module Interrupt Core 1 Transmit Interrupt Enable Register
0x01E2 202C C1MISCEN EMAC Control Module Interrupt Core 1 Miscellaneous Interrupt Enable Register
0x01E2 2030 C2RXTHRESHEN EMAC Control Module Interrupt Core 2 Receive Threshold Interrupt Enable Register
0x01E2 2034 C2RXEN EMAC Control Module Interrupt Core 2 Receive Interrupt Enable Register
0x01E2 2038 C2TXEN EMAC Control Module Interrupt Core 2 Transmit Interrupt Enable Register
0x01E2 203C C2MISCEN EMAC Control Module Interrupt Core 2 Miscellaneous Interrupt Enable Register
0x01E2 2040 C0RXTHRESHSTAT EMAC Control Module Interrupt Core 0 Receive Threshold Interrupt Status Register
0x01E2 2044 C0RXSTAT EMAC Control Module Interrupt Core 0 Receive Interrupt Status Register
0x01E2 2048 C0TXSTAT EMAC Control Module Interrupt Core 0 Transmit Interrupt Status Register
0x01E2 204C C0MISCSTAT EMAC Control Module Interrupt Core 0 Miscellaneous Interrupt Status Register
0x01E2 2050 C1RXTHRESHSTAT EMAC Control Module Interrupt Core 1 Receive Threshold Interrupt Status Register
0x01E2 2054 C1RXSTAT EMAC Control Module Interrupt Core 1 Receive Interrupt Status Register
0x01E2 2058 C1TXSTAT EMAC Control Module Interrupt Core 1 Transmit Interrupt Status Register
0x01E2 205C C1MISCSTAT EMAC Control Module Interrupt Core 1 Miscellaneous Interrupt Status Register
0x01E2 2060 C2RXTHRESHSTAT EMAC Control Module Interrupt Core 2 Receive Threshold Interrupt Status Register
0x01E2 2064 C2RXSTAT EMAC Control Module Interrupt Core 2 Receive Interrupt Status Register
0x01E2 2068 C2TXSTAT EMAC Control Module Interrupt Core 2 Transmit Interrupt Status Register
0x01E2 206C C2MISCSTAT EMAC Control Module Interrupt Core 2 Miscellaneous Interrupt Status Register
0x01E2 2070 C0RXIMAX EMAC Control Module Interrupt Core 0 Receive Interrupts Per Millisecond Register
0x01E2 2074 C0TXIMAX EMAC Control Module Interrupt Core 0 Transmit Interrupts Per Millisecond Register
0x01E2 2078 C1RXIMAX EMAC Control Module Interrupt Core 1 Receive Interrupts Per Millisecond Register
0x01E2 207C C1TXIMAX EMAC Control Module Interrupt Core 1 Transmit Interrupts Per Millisecond Register
0x01E2 2080 C2RXIMAX EMAC Control Module Interrupt Core 2 Receive Interrupts Per Millisecond Register
0x01E2 2084 C2TXIMAX EMAC Control Module Interrupt Core 2 Transmit Interrupts Per Millisecond Register

Table 6-34 EMAC Control Module RAM

HEX ADDRESS RANGE
0x01E2 0000 - 0x01E2 1FFF EMAC Local Buffer Descriptor Memory

Table 6-35 RMII Timing Requirements

No. PARAMETER MIN TYP MAX UNIT
1 tc(REFCLK) Cycle Time, RMII_MHZ_50_CLK(1) 20 ns
2 tw(REFCLKH) Pulse Width, RMII_MHZ_50_CLK High 7 13 ns
3 tw(REFCLKL) Pulse Width, RMII_MHZ_50_CLK Low 7 13 ns
6 tsu(RXD-REFCLK) Input Setup Time, RXD Valid before RMII_MHZ_50_CLK High 4 ns
7 th(REFCLK-RXD) Input Hold Time, RXD Valid after RMII_MHZ_50_CLK High 2 ns
8 tsu(CRSDV-REFCLK) Input Setup Time, CRSDV Valid before RMII_MHZ_50_CLK High 4 ns
9 th(REFCLK-CRSDV) Input Hold Time, CRSDV Valid after RMII_MHZ_50_CLK High 2 ns
10 tsu(RXER-REFCLK) Input Setup Time, RXER Valid before RMII_MHZ_50_CLK High 4 ns
11 th(REFCLKR-RXER) Input Hold Time, RXER Valid after RMII_MHZ_50_CLK High 2 ns
Per the RMII industry specification, the RMII reference clock (RMII_MHZ_50_CLK) must have jitter tolerance of 50 ppm or less.

Table 6-36 RMII Switching Characteristics

No. PARAMETER MIN TYP MAX UNIT
4 td(REFCLK-TXD) Output Delay Time, RMII_MHZ_50_CLK High to TXD Valid 2.5 13 ns
5 td(REFCLK-TXEN) Output Delay Time, RMII_MHZ_50_CLK High to TXEN Valid 2.5 13 ns
AM1705 rmii_tmng1_prs483.gif Figure 6-25 RMII Timing Diagram

Management Data Input/Output (MDIO)

The Management Data Input/Output (MDIO) module continuously polls all 32 MDIO addresses in order to enumerate all PHY devices in the system.

The Management Data Input/Output (MDIO) module implements the 802.3 serial management interface to interrogate and control Ethernet PHY(s) using a shared two-wire bus. Host software uses the MDIO module to configure the auto-negotiation parameters of each PHY attached to the EMAC, retrieve the negotiation results, and configure required parameters in the EMAC module for correct operation. The module is designed to allow almost transparent operation of the MDIO interface, with very little maintenance from the core processor. Only one PHY may be connected at any given time.

MDIO Registers

For a list of supported MDIO registers see Table 6-37 [MDIO Registers].

Table 6-37 MDIO Register Memory Map

BYTE ADDRESS ACRONYM REGISTER DESCRIPTION
0x01E2 4000 REV Revision Identification Register
0x01E2 4004 CONTROL MDIO Control Register
0x01E2 4008 ALIVE MDIO PHY Alive Status Register
0x01E2 400C LINK MDIO PHY Link Status Register
0x01E2 4010 LINKINTRAW MDIO Link Status Change Interrupt (Unmasked) Register
0x01E2 4014 LINKINTMASKED MDIO Link Status Change Interrupt (Masked) Register
0x01E2 4018 Reserved
0x01E2 4020 USERINTRAW MDIO User Command Complete Interrupt (Unmasked) Register
0x01E2 4024 USERINTMASKED MDIO User Command Complete Interrupt (Masked) Register
0x01E2 4028 USERINTMASKSET MDIO User Command Complete Interrupt Mask Set Register
0x01E2 402C USERINTMASKCLEAR MDIO User Command Complete Interrupt Mask Clear Register
0x01E2 4030 - 0x01E2 407C Reserved
0x01E2 4080 USERACCESS0 MDIO User Access Register 0
0x01E2 4084 USERPHYSEL0 MDIO User PHY Select Register 0
0x01E2 4088 USERACCESS1 MDIO User Access Register 1
0x01E2 408C USERPHYSEL1 MDIO User PHY Select Register 1
0x01E2 4090 - 0x01E2 47FF Reserved

Management Data Input/Output (MDIO) Electrical Data/Timing

Table 6-38 Timing Requirements for MDIO Input (see Figure 6-26 and Figure 6-27)

No. PARAMETER MIN MAX UNIT
1 tc(MDIO_CLK) Cycle time, MDIO_CLK 400 ns
2 tw(MDIO_CLK) Pulse duration, MDIO_CLK high/low 180 ns
3 tt(MDIO_CLK) Transition time, MDIO_CLK 5 ns
4 tsu(MDIO-MDIO_CLKH) Setup time, MDIO_D data input valid before MDIO_CLK high 10 ns
5 th(MDIO_CLKH-MDIO) Hold time, MDIO_D data input valid after MDIO_CLK high 0 ns
AM1705 td_mdio_in_prs563.gif Figure 6-26 MDIO Input Timing

Table 6-39 Switching Characteristics Over Recommended Operating Conditions for MDIO Output
(see Figure 6-27)

No. PARAMETER MIN MAX UNIT
7 td(MDIO_CLKL-MDIO) Delay time, MDIO_CLK low to MDIO_D data output valid 0 100 ns
AM1705 td_mdio_out_prs563.gif Figure 6-27 MDIO Output Timing

Multichannel Audio Serial Ports (McASP0, McASP1)

The McASP serial port is specifically designed for multichannel audio applications. Its key features are:

  • Flexible clock and frame sync generation logic and on-chip dividers
  • Up to sixteen transmit or receive data pins and serializers
  • Large number of serial data format options, including:
    • TDM Frames with 2 to 32 time slots per frame (periodic) or 1 slot per frame (burst)
    • Time slots of 8,12,16, 20, 24, 28, and 32 bits
    • First bit delay 0, 1, or 2 clocks
    • MSB or LSB first bit order
    • Left- or right-aligned data words within time slots
  • DIT Mode (optional) with 384-bit Channel Status and 384-bit User Data registers
  • Extensive error checking and mute generation logic
  • All unused pins GPIO-capable
  • Transmit & Receive FIFO Buffers for each McASP. Allows the McASP to operate at a higher sample rate by making it more tolerant to DMA latency.
  • Dynamic Adjustment of Clock Dividers
    • Clock Divider Value may be changed without resetting the McASP

The McASPs on the device are configured with the following options:

Table 6-40 McASP Configurations(1)

Module Serializers AFIFO DIT Pins
McASP0 16 64 Word RX
64 Word TX
N AXR0[13:0], AHCLKR0, ACLKR0, AFSR0, AHCLKX0, ACLKX0, AFSX0
McASP1 12 64 Word RX
64 Word TX
N AXR1[11:10], AXR1[8:0], ACLKR1, AFSR1, AHCLKX1, ACLKX1, AFSX1, AMUTE1
Pins available are the maximum number of pins that may be configured for a particular McASP; not including pin multiplexing.
AM1705 mcasp_bd_prs279.gif Figure 6-28 McASP Block Diagram

McASP Peripheral Registers Description(s)

Registers for the McASP are summarized in Table 6-41. The registers are accessed through the peripheral configuration port. The receive buffer registers (RBUF) and transmit buffer registers (XBUF) can also be accessed through the DMA port, as listed in Table 6-42

Registers for the McASP Audio FIFO (AFIFO) are summarized in Table 6-43. Note that the AFIFO Write FIFO (WFIFO) and Read FIFO (RFIFO) have independent control and status registers. The AFIFO control registers are accessed through the peripheral configuration port.

Table 6-41 McASP Registers Accessed Through Peripheral Configuration Port

McASP0
BYTE
ADDRESS
McASP1
BYTE
ADDRESS
ACRONYM REGISTER DESCRIPTION
0x01D0 0000 0x01D0 4000 REV Revision identification register
0x01D0 0010 0x01D0 4010 PFUNC Pin function register
0x01D0 0014 0x01D0 4014 PDIR Pin direction register
0x01D0 0018 0x01D0 4018 PDOUT Pin data output register
0x01D0 001C 0x01D0 401C PDIN Read returns: Pin data input register
0x01D0 001C 0x01D0 401C PDSET Writes affect: Pin data set register (alternate write address: PDOUT)
0x01D0 0020 0x01D0 4020 PDCLR Pin data clear register (alternate write address: PDOUT)
0x01D0 0044 0x01D0 4044 GBLCTL Global control register
0x01D0 0048 0x01D0 4048 AMUTE Audio mute control register
0x01D0 004C 0x01D0 404C DLBCTL Digital loopback control register
0x01D0 0050 0x01D0 4050 DITCTL DIT mode control register
0x01D0 0060 0x01D0 4060 RGBLCTL Receiver global control register: Alias of GBLCTL, only receive bits are affected - allows receiver to be reset independently from transmitter
0x01D0 0064 0x01D0 4064 RMASK Receive format unit bit mask register
0x01D0 0068 0x01D0 4068 RFMT Receive bit stream format register
0x01D0 006C 0x01D0 406C AFSRCTL Receive frame sync control register
0x01D0 0070 0x01D0 4070 ACLKRCTL Receive clock control register
0x01D0 0074 0x01D0 4074 AHCLKRCTL Receive high-frequency clock control register
0x01D0 0078 0x01D0 4078 RTDM Receive TDM time slot 0-31 register
0x01D0 007C 0x01D0 407C RINTCTL Receiver interrupt control register
0x01D0 0080 0x01D0 4080 RSTAT Receiver status register
0x01D0 0084 0x01D0 4084 RSLOT Current receive TDM time slot register
0x01D0 0088 0x01D0 4088 RCLKCHK Receive clock check control register
0x01D0 008C 0x01D0 408C REVTCTL Receiver DMA event control register
0x01D0 00A0 0x01D0 40A0 XGBLCTL Transmitter global control register. Alias of GBLCTL, only transmit bits are affected - allows transmitter to be reset independently from receiver
0x01D0 00A4 0x01D0 40A4 XMASK Transmit format unit bit mask register
0x01D0 00A8 0x01D0 40A8 XFMT Transmit bit stream format register
0x01D0 00AC 0x01D0 40AC AFSXCTL Transmit frame sync control register
0x01D0 00B0 0x01D0 40B0 ACLKXCTL Transmit clock control register
0x01D0 00B4 0x01D0 40B4 AHCLKXCTL Transmit high-frequency clock control register
0x01D0 00B8 0x01D0 40B8 XTDM Transmit TDM time slot 0-31 register
0x01D0 00BC 0x01D0 40BC XINTCTL Transmitter interrupt control register
0x01D0 00C0 0x01D0 40C0 XSTAT Transmitter status register
0x01D0 00C4 0x01D0 40C4 XSLOT Current transmit TDM time slot register
0x01D0 00C8 0x01D0 40C8 XCLKCHK Transmit clock check control register
0x01D0 00CC 0x01D0 40CC XEVTCTL Transmitter DMA event control register
0x01D0 0100 0x01D0 4100 DITCSRA0 Left (even TDM time slot) channel status register (DIT mode) 0
0x01D0 0104 0x01D0 4104 DITCSRA1 Left (even TDM time slot) channel status register (DIT mode) 1
0x01D0 0108 0x01D0 4108 DITCSRA2 Left (even TDM time slot) channel status register (DIT mode) 2
0x01D0 010C 0x01D0 410C DITCSRA3 Left (even TDM time slot) channel status register (DIT mode) 3
0x01D0 0110 0x01D0 4110 DITCSRA4 Left (even TDM time slot) channel status register (DIT mode) 4
0x01D0 0114 0x01D0 4114 DITCSRA5 Left (even TDM time slot) channel status register (DIT mode) 5
0x01D0 0118 0x01D0 4118 DITCSRB0 Right (odd TDM time slot) channel status register (DIT mode) 0
0x01D0 011C 0x01D0 411C DITCSRB1 Right (odd TDM time slot) channel status register (DIT mode) 1
0x01D0 0120 0x01D0 4120 DITCSRB2 Right (odd TDM time slot) channel status register (DIT mode) 2
0x01D0 0124 0x01D0 4124 DITCSRB3 Right (odd TDM time slot) channel status register (DIT mode) 3
0x01D0 0128 0x01D0 4128 DITCSRB4 Right (odd TDM time slot) channel status register (DIT mode) 4
0x01D0 012C 0x01D0 412C DITCSRB5 Right (odd TDM time slot) channel status register (DIT mode) 5
0x01D0 0130 0x01D0 4130 DITUDRA0 Left (even TDM time slot) channel user data register (DIT mode) 0
0x01D0 0134 0x01D0 4134 DITUDRA1 Left (even TDM time slot) channel user data register (DIT mode) 1
0x01D0 0138 0x01D0 4138 DITUDRA2 Left (even TDM time slot) channel user data register (DIT mode) 2
0x01D0 013C 0x01D0 413C DITUDRA3 Left (even TDM time slot) channel user data register (DIT mode) 3
0x01D0 0140 0x01D0 4140 DITUDRA4 Left (even TDM time slot) channel user data register (DIT mode) 4
0x01D0 0144 0x01D0 4144 DITUDRA5 Left (even TDM time slot) channel user data register (DIT mode) 5
0x01D0 0148 0x01D0 4148 DITUDRB0 Right (odd TDM time slot) channel user data register (DIT mode) 0
0x01D0 014C 0x01D0 414C DITUDRB1 Right (odd TDM time slot) channel user data register (DIT mode) 1
0x01D0 0150 0x01D0 4150 DITUDRB2 Right (odd TDM time slot) channel user data register (DIT mode) 2
0x01D0 0154 0x01D0 4154 DITUDRB3 Right (odd TDM time slot) channel user data register (DIT mode) 3
0x01D0 0158 0x01D0 4158 DITUDRB4 Right (odd TDM time slot) channel user data register (DIT mode) 4
0x01D0 015C 0x01D0 415C DITUDRB5 Right (odd TDM time slot) channel user data register (DIT mode) 5
0x01D0 0180 0x01D0 4180 SRCTL0 Serializer control register 0
0x01D0 0184 0x01D0 4184 SRCTL1 Serializer control register 1
0x01D0 0188 0x01D0 4188 SRCTL2 Serializer control register 2
0x01D0 018C 0x01D0 418C SRCTL3 Serializer control register 3
0x01D0 0190 0x01D0 4190 SRCTL4 Serializer control register 4
0x01D0 0194 0x01D0 4194 SRCTL5 Serializer control register 5
0x01D0 0198 0x01D0 4198 SRCTL6 Serializer control register 6
0x01D0 019C 0x01D0 419C SRCTL7 Serializer control register 7
0x01D0 01A0 0x01D0 41A0 SRCTL8 Serializer control register 8
0x01D0 01A4 0x01D0 41A4 SRCTL9 Serializer control register 9
0x01D0 01A8 0x01D0 41A8 SRCTL10 Serializer control register 10
0x01D0 01AC 0x01D0 41AC SRCTL11 Serializer control register 11
0x01D0 01B0 0x01D0 41B0 SRCTL12 Serializer control register 12
0x01D0 01B4 0x01D0 41B4 SRCTL13 Serializer control register 13
0x01D0 01B8 0x01D0 41B8 SRCTL14 Serializer control register 14
0x01D0 01BC 0x01D0 41BC SRCTL15 Serializer control register 15
0x01D0 0200 0x01D0 4200 XBUF0(1) Transmit buffer register for serializer 0
0x01D0 0204 0x01D0 4204 XBUF1(1) Transmit buffer register for serializer 1
0x01D0 0208 0x01D0 4208 XBUF2(1) Transmit buffer register for serializer 2
0x01D0 020C 0x01D0 420C XBUF3(1) Transmit buffer register for serializer 3
0x01D0 0210 0x01D0 4210 XBUF4(1) Transmit buffer register for serializer 4
0x01D0 0214 0x01D0 4214 XBUF5(1) Transmit buffer register for serializer 5
0x01D0 0218 0x01D0 4218 XBUF6(1) Transmit buffer register for serializer 6
0x01D0 021C 0x01D0 421C XBUF7 Transmit buffer register for serializer 7
0x01D0 0220 0x01D0 4220 XBUF8(1) Transmit buffer register for serializer 8
0x01D0 0224 0x01D0 4224 XBUF9 Transmit buffer register for serializer 9
0x01D0 0228 0x01D0 4228 XBUF10(1) Transmit buffer register for serializer 10
0x01D0 022C 0x01D0 422C XBUF11(1) Transmit buffer register for serializer 11
0x01D0 0230 0x01D0 4230 XBUF12 Transmit buffer register for serializer 12
0x01D0 0234 0x01D0 4234 XBUF13(1) Transmit buffer register for serializer 13
0x01D0 0238 0x01D0 4238 XBUF14(1) Transmit buffer register for serializer 14
0x01D0 023C 0x01D0 423C XBUF15 Transmit buffer register for serializer 15
0x01D0 0280 0x01D0 4280 RBUF0(2) Receive buffer register for serializer 0
0x01D0 0284 0x01D0 4284 RBUF1(2) Receive buffer register for serializer 1
0x01D0 0288 0x01D0 4288 RBUF2(2) Receive buffer register for serializer 2
0x01D0 028C 0x01D0 428C RBUF3(2) Receive buffer register for serializer 3
0x01D0 0290 0x01D0 4290 RBUF4(2) Receive buffer register for serializer 4
0x01D0 0294 0x01D0 4294 RBUF5(2) Receive buffer register for serializer 5
0x01D0 0298 0x01D0 4298 RBUF6(2) Receive buffer register for serializer 6
0x01D0 029C 0x01D0 429C RBUF7(2) Receive buffer register for serializer 7
0x01D0 02A0 0x01D0 42A0 RBUF8(2) Receive buffer register for serializer 8
0x01D0 02A4 0x01D0 42A4 RBUF9(2) Receive buffer register for serializer 9
0x01D0 02A8 0x01D0 42A8 RBUF10(2) Receive buffer register for serializer 10
0x01D0 02AC 0x01D0 42AC RBUF11(2) Receive buffer register for serializer 11
0x01D0 02B0 0x01D0 42B0 RBUF12(2) Receive buffer register for serializer 12
0x01D0 02B4 0x01D0 42B4 RBUF13(2) Receive buffer register for serializer 13
0x01D0 02B8 0x01D0 42B8 RBUF14(2) Receive buffer register for serializer 14
0x01D0 02BC 0x01D0 42BC RBUF15(2) Receive buffer register for serializer 15
Writes to XRBUF originate from peripheral configuration port only when XBUSEL = 1 in XFMT.
Reads from XRBUF originate on peripheral configuration port only when RBUSEL = 1 in RFMT.

Table 6-42 McASP Registers Accessed Through DMA Port

McASP0
BYTE
ADDRESS
McASP1
BYTE
ADDRESS
ACRONYM REGISTER DESCRIPTION
Read
Accesses
01D0 2000 01D0 6000 RBUF Receive buffer DMA port address. Cycles through receive serializers, skipping over transmit serializers and inactive serializers. Starts at the lowest serializer at the beginning of each time slot. Reads from DMA port only if RBUSEL = 0 in RFMT.
Write
Accesses
01D0 2000 01D0 6000 XBUF Transmit buffer DMA port address. Cycles through transmit serializers, skipping over receive and inactive serializers. Starts at the lowest serializer at the beginning of each time slot. Writes to DMA port only if XBUSEL = 0 in XFMT.

Table 6-43 McASP AFIFO Registers Accessed Through Peripheral Configuration Port

McASP0
BYTE ADDRESS
McASP1
BYTE ADDRESS
ACRONYM REGISTER DESCRIPTION
0x01D0 1000 0x01D0 5000 AFIFOREV AFIFO revision identification register
0x01D0 1010 0x01D0 5010 WFIFOCTL Write FIFO control register
0x01D0 1014 0x01D0 5014 WFIFOSTS Write FIFO status register
0x01D0 1018 0x01D0 5018 RFIFOCTL Read FIFO control register
0x01D0 101C 0x01D0 501C RFIFOSTS Read FIFO status register

McASP Electrical Data/Timing

Multichannel Audio Serial Port 0 (McASP0) Timing

Table 6-44 and Table 6-45 assume testing over recommended operating conditions (see Figure 6-29 and Figure 6-30).

Table 6-44 McASP0 Timing Requirements(1) (4)

No. PARAMETER MIN MAX UNIT
1 tc(AHCLKRX) Cycle time, AHCLKR0 external, AHCLKR0 input 25 ns
Cycle time, AHCLKX0 external, AHCLKX0 input 25
2 tw(AHCLKRX) Pulse duration, AHCLKR0 external, AHCLKR0 input 12.5 ns
Pulse duration, AHCLKX0 external, AHCLKX0 input 12.5
3 tc(ACLKRX) Cycle time, ACLKR0 external, ACLKR0 input greater of 2P or 25 ns
Cycle time, ACLKX0 external, ACLKX0 input greater of 2P or 25
4 tw(ACLKRX) Pulse duration, ACLKR0 external, ACLKR0 input 12.5 ns
Pulse duration, ACLKX0 external, ACLKX0 input 12.5
5 tsu(AFSRX-ACLKRX) Setup time, AFSR0 input to ACLKR0 internal(2) 9.4 ns
Setup time, AFSX0 input to ACLKX0 internal 9.4
Setup time, AFSR0 input to ACLKR0 external input(2) 2.9
Setup time, AFSX0 input to ACLKX0 external input 2.9
Setup time, AFSR0 input to ACLKR0 external output(2) 2.9
Setup time, AFSX0 input to ACLKX0 external output 2.9
6 th(ACLKRX-AFSRX) Hold time, AFSR0 input after ACLKR0 internal(2) -1.2 ns
Hold time, AFSX0 input after ACLKX0 internal -1.2
Hold time, AFSR0 input after ACLKR0 external input(2) 0.9
Hold time, AFSX0 input after ACLKX0 external input 0.9
Hold time, AFSR0 input after ACLKR0 external output(2) 0.9
Hold time, AFSX0 input after ACLKX0 external output 0.9
7 tsu(AXR-ACLKRX) Setup time, AXR0[n] input to ACLKR0 internal(2) 9.4 ns
Setup time, AXR0[n] input to ACLKX0 internal(3) 9.4
Setup time, AXR0[n] input to ACLKR0 external input(2) 2.9
Setup time, AXR0[n] input to ACLKX0 external input(3) 2.9
Setup time, AXR0[n] input to ACLKR0 external output(2) 2.9
Setup time, AXR0[n] input to ACLKX0 external output(3) 2.9
8 th(ACLKRX-AXR) Hold time, AXR0[n] input after ACLKR0 internal(2) -1.3 ns
Hold time, AXR0[n] input after ACLKX0 internal(3) -1.3
Hold time, AXR0[n] input after ACLKR0 external input(2) 0.5
Hold time, AXR0[n] input after ACLKX0 external input(3) 0.5
Hold time, AXR0[n] input after ACLKR0 external output(2) 0.5
Hold time, AXR0[n] input after ACLKX0 external output(3) 0.5
ACLKX0 internal – McASP0 ACLKXCTL.CLKXM = 1, PDIR.ACLKX = 1
ACLKX0 external input – McASP0 ACLKXCTL.CLKXM = 0, PDIR.ACLKX = 0
ACLKX0 external output – McASP0 ACLKXCTL.CLKXM = 0, PDIR.ACLKX = 1
ACLKR0 internal – McASP0 ACLKRCTL.CLKRM = 1, PDIR.ACLKR =1
ACLKR0 external input – McASP0 ACLKRCTL.CLKRM = 0, PDIR.ACLKR = 0
ACLKR0 external output – McASP0 ACLKRCTL.CLKRM = 0, PDIR.ACLKR = 1
McASP0 ACLKXCTL.ASYNC=1: Receiver is clocked by its own ACLKR0
McASP0 ACLKXCTL.ASYNC=0: Receiver is clocked by transmitter's ACLKX0
P = SYSCLK2 period

Table 6-45 McASP0 Switching Characteristics(1)

No. PARAMETER MIN MAX UNIT
9 tc(AHCLKRX) Cycle time, AHCLKR0 internal, AHCLKR0 output 25 ns
Cycle time, AHCLKR0 external, AHCLKR0 output 25
Cycle time, AHCLKX0 internal, AHCLKX0 output 25
Cycle time, AHCLKX0 external, AHCLKX0 output 25
10 tw(AHCLKRX) Pulse duration, AHCLKR0 internal, AHCLKR0 output (AHR/2) – 2.5(2) ns
Pulse duration, AHCLKR0 external, AHCLKR0 output (AHR/2) – 2.5(2)
Pulse duration, AHCLKX0 internal, AHCLKX0 output (AHX/2) – 2.5(3)
Pulse duration, AHCLKX0 external, AHCLKX0 output (AHX/2) – 2.5(3)
11 tc(ACLKRX) Cycle time, ACLKR0 internal, ACLKR0 output greater of 2P or 25 ns(4) ns
Cycle time, ACLKR0 external, ACLKR0 output greater of 2P or 25 ns(4)
Cycle time, ACLKX0 internal, ACLKX0 output greater of 2P or 25 ns(4)
Cycle time, ACLKX0 external, ACLKX0 output greater of 2P or 25 ns(4)
12 tw(ACLKRX) Pulse duration, ACLKR0 internal, ACLKR0 output (AR/2) – 2.5(5) ns
Pulse duration, ACLKR0 external, ACLKR0 output (AR/2) – 2.5(5)
Pulse duration, ACLKX0 internal, ACLKX0 output (AX/2) – 2.5(6)
Pulse duration, ACLKX0 external, ACLKX0 output (AX/2) – 2.5(6)
13 td(ACLKRX-AFSRX) Delay time, ACLKR0 internal, AFSR output(7) 0 5.8 ns
Delay time, ACLKX0 internal, AFSX output 0 5.8
Delay time, ACLKR0 external input, AFSR output(7) 2.5 11.6
Delay time, ACLKX0 external input, AFSX output 2.5 11.6
Delay time, ACLKR0 external output, AFSR output(7) 2.5 11.6
Delay time, ACLKX0 external output, AFSX output 2.5 11.6
14 td(ACLKX-AXRV) Delay time, ACLKX0 internal, AXR0[n] output 0 5.8 ns
Delay time, ACLKX0 external input, AXR0[n] output 2.5 11.6
Delay time, ACLKX0 external output, AXR0[n] output 2.5 11.6
15 tdis(ACLKX-AXRHZ) Disable time, ACLKX0 internal, AXR0[n] output 0 5.8 ns
Disable time, ACLKX0 external input, AXR0[n] output 3 11.6
Disable time, ACLKX0 external output, AXR0[n] output 3 11.6
McASP0 ACLKX0 internal – ACLKXCTL.CLKXM = 1, PDIR.ACLKX = 1
ACLKX0 external input – McASP0 ACLKXCTL.CLKXM = 0, PDIR.ACLKX = 0
ACLKX0 external output – McASP0ACLKXCTL.CLKXM = 0, PDIR.ACLKX = 1
ACLKR0 internal – McASP0 ACLKR0CTL.CLKRM = 1, PDIR.ACLKR =1
ACLKR0 external input – McASP0 ACLKRCTL.CLKRM = 0, PDIR.ACLKR = 0
ACLKR0 external output – McASP0 ACLKRCTL.CLKRM = 0, PDIR.ACLKR = 1
AHR - Cycle time, AHCLKR0.
AHX - Cycle time, AHCLKX0.
P = SYSCLK2 period
AR - ACLKR0 period.
AX - ACLKX0 period.
McASP0 ACLKXCTL.ASYNC=1: Receiver is clocked by its own ACLKR0

Multichannel Audio Serial Port 1 (McASP1) Timing

Table 6-46 and Table 6-47 assume testing over recommended operating conditions (see Figure 6-29 and Figure 6-30).

Table 6-46 McASP1 Timing Requirements(1) (4)

No. PARAMETER MIN MAX UNIT
1 tc(AHCLKRX) Cycle time, AHCLKR1 external, AHCLKR1 input 25 ns
Cycle time, AHCLKX1 external, AHCLKX1 input 25
2 tw(AHCLKRX) Pulse duration, AHCLKR1 external, AHCLKR1 input 12.5 ns
Pulse duration, AHCLKX1 external, AHCLKX1 input 12.5
3 tc(ACLKRX) Cycle time, ACLKR1 external, ACLKR1 input greater of 2P or 25 ns
Cycle time, ACLKX1 external, ACLKX1 input greater of 2P or 25
4 tw(ACLKRX) Pulse duration, ACLKR1 external, ACLKR1 input 12.5 ns
Pulse duration, ACLKX1 external, ACLKX1 input 12.5
5 tsu(AFSRX-ACLKRX) Setup time, AFSR1 input to ACLKR1 internal(2) 10.4 ns
Setup time, AFSX1 input to ACLKX1 internal 10.4
Setup time, AFSR1 input to ACLKR1 external input(2) 2.6
Setup time, AFSX1 input to ACLKX1 external input 2.6
Setup time, AFSR1 input to ACLKR1 external output(2) 2.6
Setup time, AFSX1 input to ACLKX1 external output 2.6
6 th(ACLKRX-AFSRX) Hold time, AFSR1 input after ACLKR1 internal(2) -1.9 ns
Hold time, AFSX1 input after ACLKX1 internal -1.9
Hold time, AFSR1 input after ACLKR1 external input(2) 0.7
Hold time, AFSX1 input after ACLKX1 external input 0.7
Hold time, AFSR1 input after ACLKR1 external output(2) 0.7
Hold time, AFSX1 input after ACLKX1 external output 0.7
7 tsu(AXR-ACLKRX) Setup time, AXR1[n] input to ACLKR1 internal(2) 10.4 ns
Setup time, AXR1[n] input to ACLKX1 internal(3) 10.4
Setup time, AXR1[n] input to ACLKR1 external input(2) 2.6
Setup time, AXR1[n] input to ACLKX1 external input(3) 2.6
Setup time, AXR1[n] input to ACLKR1 external output(2) 2.6
Setup time, AXR1[n] input to ACLKX1 external output(3) 2.6
8 th(ACLKRX-AXR) Hold time, AXR1[n] input after ACLKR1 internal(2) -1.8 ns
Hold time, AXR1[n] input after ACLKX1 internal(3) -1.8
Hold time, AXR1[n] input after ACLKR1 external input(2) 0.5
Hold time, AXR1[n] input after ACLKX1 external input(3) 0.5
Hold time, AXR1[n] input after ACLKR1 external output(2) 0.5
Hold time, AXR1[n] input after ACLKX1 external output(3) 0.5
ACLKX1 internal – McASP1 ACLKXCTL.CLKXM = 1, PDIR.ACLKX = 1
ACLKX1 external input – McASP1 ACLKXCTL.CLKXM = 0, PDIR.ACLKX = 0
ACLKX1 external output – McASP1 ACLKXCTL.CLKXM = 0, PDIR.ACLKX = 1
ACLKR1 internal – McASP1 ACLKRCTL.CLKRM = 1, PDIR.ACLKR =1
ACLKR1 external input – McASP1 ACLKRCTL.CLKRM = 0, PDIR.ACLKR = 0
ACLKR1 external output – McASP1 ACLKRCTL.CLKRM = 0, PDIR.ACLKR = 1
McASP1 ACLKXCTL.ASYNC=1: Receiver is clocked by its own ACLKR1
McASP1 ACLKXCTL.ASYNC=0: Receiver is clocked by transmitter's ACLKX1
P = SYSCLK2 period

Table 6-47 McASP1 Switching Characteristics(1)

No. PARAMETER MIN MAX UNIT
9 tc(AHCLKRX) Cycle time, AHCLKR1 internal, AHCLKR1 output 25 ns
Cycle time, AHCLKR1 external, AHCLKR1 output 25
Cycle time, AHCLKX1 internal, AHCLKX1 output 25
Cycle time, AHCLKX1 external, AHCLKX1 output 25
10 tw(AHCLKRX) Pulse duration, AHCLKR1 internal, AHCLKR1 output (AHR/2) – 2.5(2) ns
Pulse duration, AHCLKR1 external, AHCLKR1 output (AHR/2) – 2.5(2)
Pulse duration, AHCLKX1 internal, AHCLKX1 output (AHX/2) – 2.5(3)
Pulse duration, AHCLKX1 external, AHCLKX1 output (AHX/2) – 2.5(3)
11 tc(ACLKRX) Cycle time, ACLKR1 internal, ACLKR1 output greater of 2P or 25 ns(4) ns
Cycle time, ACLKR1 external, ACLKR1 output greater of 2P or 25 ns(4)
Cycle time, ACLKX1 internal, ACLKX1 output greater of 2P or 25 ns(4)
Cycle time, ACLKX1 external, ACLKX1 output greater of 2P or 25 ns(4)
12 tw(ACLKRX) Pulse duration, ACLKR1 internal, ACLKR1 output (AR/2) – 2.5(5) ns
Pulse duration, ACLKR1 external, ACLKR1 output (AR/2) – 2.5(5)
Pulse duration, ACLKX1 internal, ACLKX1 output (AX/2) – 2.5(6)
Pulse duration, ACLKX1 external, ACLKX1 output (AX/2) – 2.5(6)
13 td(ACLKRX-AFSRX) Delay time, ACLKR1 internal, AFSR output(7) 0.5 6.7 ns
Delay time, ACLKX1 internal, AFSX output 0.5 6.7
Delay time, ACLKR1 external input, AFSR output(7) 3.4 13.8
Delay time, ACLKX1 external input, AFSX output 3.4 13.8
Delay time, ACLKR1 external output, AFSR output(7) 3.4 13.8
Delay time, ACLKX1 external output, AFSX output 3.4 13.8
14 td(ACLKX-AXRV) Delay time, ACLKX1 internal, AXR1[n] output 0.5 6.7 ns
Delay time, ACLKX1 external input, AXR1[n] output 3.4 13.8
Delay time, ACLKX1 external output, AXR1[n] output 3.4 13.8
15 tdis(ACLKX-AXRHZ) Disable time, ACLKX1 internal, AXR1[n] output 0.5 6.7 ns
Disable time, ACLKX1 external input, AXR1[n] output 3.9 13.8
Disable time, ACLKX1 external output, AXR1[n] output 3.9 13.8
McASP1 ACLKX1 internal – ACLKXCTL.CLKXM = 1, PDIR.ACLKX = 1
McASP1 ACLKX1 external input – ACLKXCTL.CLKXM = 0, PDIR.ACLKX = 0
McASP1 ACLKX1 external output – ACLKXCTL.CLKXM = 0, PDIR.ACLKX = 1
McASP1 ACLKR1 internal – ACLKR1CTL.CLKRM = 1, PDIR.ACLKR =1
McASP1 ACLKR1 external input – ACLKRCTL.CLKRM = 0, PDIR.ACLKR = 0
McASP1 ACLKR1 external output – ACLKRCTL.CLKRM = 0, PDIR.ACLKR = 1
AHR - Cycle time, AHCLKR1.
AHX - Cycle time, AHCLKX1.
P = SYSCLK2 period
AR - ACLKR1 period.
AX - ACLKX1 period.
McASP1 ACLKXCTL.ASYNC=1: Receiver is clocked by its own ACLKR1
AM1705 td_mcasp_it_prs279.gif
For CLKRP = CLKXP = 0, the McASP transmitter is configured for rising edge (to shift data out) and the McASP receiver is configured for falling edge (to shift data in).
For CLKRP = CLKXP = 1, the McASP transmitter is configured for falling edge (to shift data out) and the McASP receiver is configured for rising edge (to shift data in).
Figure 6-29 McASP Input Timings
AM1705 td_mcasp_ot_prs279.gif
For CLKRP = CLKXP = 1, the McASP transmitter is configured for falling edge (to shift data out) and the McASP receiver is configured for rising edge (to shift data in).
For CLKRP = CLKXP = 0, the McASP transmitter is configured for rising edge (to shift data out) and the McASP receiver is configured for falling edge (to shift data in).
Figure 6-30 McASP Output Timings

Serial Peripheral Interface Ports (SPI0, SPI1)

Figure 6-31 is a block diagram of the SPI module, which is a simple shift register and buffer plus control logic. Data is written to the shift register before transmission occurs and is read from the buffer at the end of transmission. The SPI can operate either as a master, in which case, it initiates a transfer and drives the SPIx_CLK pin, or as a slave. Four clock phase and polarity options are supported as well as many data formatting options.

AM1705 bd_spi_prs279.gif Figure 6-31 Block Diagram of SPI Module

The SPI supports 3-, 4-, and 5-pin operation with three basic pins (SPIx_CLK, SPIx_SIMO, and SPIx_SOMI) and two optional pins (SPIx_SCS, SPIx_ENA).

The optional SPIx_SCS (Slave Chip Select) pin is most useful to enable in slave mode when there are other slave devices on the same SPI port. The device will only shift data and drive the SPIx_SOMI pin when SPIx_SCS is held low.

In slave mode, SPIx_ENA is an optional output. The SPIx_ENA output provides the status of the internal transmit buffer (SPIDAT0/1 registers). In four-pin mode with the enable option, SPIx_ENA is asserted only when the transmit buffer is full, indicating that the slave is ready to begin another transfer. In five-pin mode, the SPIx_ENA is additionally qualified by SPIx_SCS being asserted. This allows a single handshake line to be shared by multiple slaves on the same SPI bus.

In master mode, the SPIx_ENA pin is an optional input and the master can be configured to delay the start of the next transfer until the slave asserts SPIx_ENA. The addition of this handshake signal simplifies SPI communications and, on average, increases SPI bus throughput since the master does not need to delay each transfer long enough to allow for the worst-case latency of the slave device. Instead, each transfer can begin as soon as both the master and slave have actually serviced the previous SPI transfer.

Although the SPI module supports two interrupt outputs, SPIx_INT1 is the only interrupt connected on this device.

AM1705 spi_mstr_slv_prs279.gif Figure 6-32 Illustration of SPI Master-to-SPI Slave Connection

SPI Peripheral Registers Description(s)

Table 6-48 is a list of the SPI registers.

Table 6-48 SPIx Configuration Registers

SPI0
BYTE ADDRESS
SPI1
BYTE ADDRESS
ACRONYM REGISTER DESCRIPTION
0x01C4 1000 0x01E1 2000 SPIGCR0 Global Control Register 0
0x01C4 1004 0x01E1 2004 SPIGCR1 Global Control Register 1
0x01C4 1008 0x01E1 2008 SPIINT0 Interrupt Register
0x01C4 100C 0x01E1 200C SPILVL Interrupt Level Register
0x01C4 1010 0x01E1 2010 SPIFLG Flag Register
0x01C4 1014 0x01E1 2014 SPIPC0 Pin Control Register 0 (Pin Function)
0x01C4 1018 0x01E1 2018 SPIPC1 Pin Control Register 1 (Pin Direction)
0x01C4 101C 0x01E1 201C SPIPC2 Pin Control Register 2 (Pin Data In)
0x01C4 1020 0x01E1 2020 SPIPC3 Pin Control Register 3 (Pin Data Out)
0x01C4 1024 0x01E1 2024 SPIPC4 Pin Control Register 4 (Pin Data Set)
0x01C4 1028 0x01E1 2028 SPIPC5 Pin Control Register 5 (Pin Data Clear)
0x01C4 102C 0x01E1 202C Reserved Reserved - Do not write to this register
0x01C4 1030 0x01E1 2030 Reserved Reserved - Do not write to this register
0x01C4 1034 0x01E1 2034 Reserved Reserved - Do not write to this register
0x01C4 1038 0x01E1 2038 SPIDAT0 Shift Register 0 (without format select)
0x01C4 103C 0x01E1 203C SPIDAT1 Shift Register 1 (with format select)
0x01C4 1040 0x01E1 2040 SPIBUF Buffer Register
0x01C4 1044 0x01E1 2044 SPIEMU Emulation Register
0x01C4 1048 0x01E1 2048 SPIDELAY Delay Register
0x01C4 104C 0x01E1 204C SPIDEF Default Chip Select Register
0x01C4 1050 0x01E1 2050 SPIFMT0 Format Register 0
0x01C4 1054 0x01E1 2054 SPIFMT1 Format Register 1
0x01C4 1058 0x01E1 2058 SPIFMT2 Format Register 2
0x01C4 105C 0x01E1 205C SPIFMT3 Format Register 3
0x01C4 1060 0x01E1 2060 Reserved Reserved - Do not write to this register
0x01C4 1064 0x01E1 2064 INTVEC1 Interrupt Vector for SPI INT1

SPI Electrical Data/Timing

Serial Peripheral Interface (SPI) Timing

Table 6-49 through Table 6-64 assume testing over recommended operating conditions (see Figure 6-33 through Figure 6-36).

Table 6-49 General Timing Requirements for SPI0 Master Modes(1)

No. PARAMETER MIN MAX UNIT
1 tc(SPC)M Cycle Time, SPI0_CLK, All Master Modes greater of 3P or 20 256P ns
2 tw(SPCH)M Pulse Width High, SPI0_CLK, All Master Modes 0.5tc(SPC)M - 1 ns
3 tw(SPCL)M Pulse Width Low, SPI0_CLK, All Master Modes 0.5tc(SPC)M - 1 ns
4 td(SIMO_SPC)M Delay, initial data bit valid on SPI0_SIMO after initial edge on SPI0_CLK(2) Polarity = 0, Phase = 0,
to SPI0_CLK rising
5 ns
Polarity = 0, Phase = 1,
to SPI0_CLK rising
- 0.5tc(SPC)M + 5
Polarity = 1, Phase = 0,
to SPI0_CLK falling
5
Polarity = 1, Phase = 1,
to SPI0_CLK falling
- 0.5tc(SPC)M + 5
5 td(SPC_SIMO)M Delay, subsequent bits valid on SPI0_SIMO after transmit edge of SPI0_CLK Polarity = 0, Phase = 0,
from SPI0_CLK rising
5 ns
Polarity = 0, Phase = 1,
from SPI0_CLK falling
5
Polarity = 1, Phase = 0,
from SPI0_CLK falling
5
Polarity = 1, Phase = 1,
from SPI0_CLK rising
5
6 toh(SPC_SIMO)M Output hold time, SPI0_SIMO valid afterreceive edge of SPI0_CLK Polarity = 0, Phase = 0,
from SPI0_CLK falling
0.5tc(SPC)M - 3 ns
Polarity = 0, Phase = 1,
from SPI0_CLK rising
0.5tc(SPC)M - 3
Polarity = 1, Phase = 0,
from SPI0_CLK rising
0.5tc(SPC)M - 3
Polarity = 1, Phase = 1,
from SPI0_CLK falling
0.5tc(SPC)M - 3
7 tsu(SOMI_SPC)M Input Setup Time, SPI0_SOMI valid beforereceive edge of SPI0_CLK Polarity = 0, Phase = 0,
to SPI0_CLK falling
0 ns
Polarity = 0, Phase = 1,
to SPI0_CLK rising
0
Polarity = 1, Phase = 0,
to SPI0_CLK rising
0
Polarity = 1, Phase = 1,
to SPI0_CLK falling
0
8 tih(SPC_SOMI)M Input Hold Time, SPI0_SOMI valid after
receive edge of SPI0_CLK
Polarity = 0, Phase = 0,
from SPI0_CLK falling
5 ns
Polarity = 0, Phase = 1,
from SPI0_CLK rising
5
Polarity = 1, Phase = 0,
from SPI0_CLK rising
5
Polarity = 1, Phase = 1,
from SPI0_CLK falling
5
P = SYSCLK2 period
First bit may be MSB or LSB depending upon SPI configuration. MO(0) refers to first bit and MO(n) refers to last bit output on SPI0_SIMO. MI(0) refers to the first bit input and MI(n) refers to the last bit input on SPI0_SOMI.

Table 6-50 General Timing Requirements for SPI0 Slave Modes(1)

No. PARAMETER MIN MAX UNIT
9 tc(SPC)S Cycle Time, SPI0_CLK, All Slave Modes greater of 3P or 40 ns
10 tw(SPCH)S Pulse Width High, SPI0_CLK, All Slave Modes 18 ns
11 tw(SPCL)S Pulse Width Low, SPI0_CLK, All Slave Modes 18 ns
12 tsu(SOMI_SPC)S Setup time, transmit data written to SPI before initial clock edge from master.(2) (3) Polarity = 0, Phase = 0,
to SPI0_CLK rising
2P ns
Polarity = 0, Phase = 1,
to SPI0_CLK rising
2P
Polarity = 1, Phase = 0,
to SPI0_CLK falling
2P
Polarity = 1, Phase = 1,
to SPI0_CLK falling
2P
13 td(SPC_SOMI)S Delay, subsequent bits valid on SPI0_SOMI after transmit edge of SPI0_CLK Polarity = 0, Phase = 0,
from SPI0_CLK rising
18.5 ns
Polarity = 0, Phase = 1,
from SPI0_CLK falling
18.5
Polarity = 1, Phase = 0,
from SPI0_CLK falling
18.5
Polarity = 1, Phase = 1,
from SPI0_CLK rising
18.5
14 toh(SPC_SOMI)S Output hold time, SPI0_SOMI valid afte receive edge of SPI0_CLK Polarity = 0, Phase = 0,
from SPI0_CLK falling
0.5tc(SPC)S - 3 ns
Polarity = 0, Phase = 1,
from SPI0_CLK rising
0.5tc(SPC)S - 3
Polarity = 1, Phase = 0,
from SPI0_CLK rising
0.5tc(SPC)S - 3
Polarity = 1, Phase = 1,
from SPI0_CLK falling
0.5tc(SPC)S - 3
15 tsu(SIMO_SPC)S Input Setup Time, SPI0_SIMO valid before receive edge of SPI0_CLK Polarity = 0, Phase = 0,
to SPI0_CLK falling
0 ns
Polarity = 0, Phase = 1,
to SPI0_CLK rising
0
Polarity = 1, Phase = 0,
to SPI0_CLK rising
0
Polarity = 1, Phase = 1,
to SPI0_CLK falling
0
16 tih(SPC_SIMO)S Input Hold Time, SPI0_SIMO valid after receive edge of SPI0_CLK Polarity = 0, Phase = 0,
from SPI0_CLK falling
5 ns
Polarity = 0, Phase = 1,
from SPI0_CLK rising
5
Polarity = 1, Phase = 0,
from SPI0_CLK rising
5
Polarity = 1, Phase = 1,
from SPI0_CLK falling
5
P = SYSCLK2 period
First bit may be MSB or LSB depending upon SPI configuration. SO(0) refers to first bit and SO(n) refers to last bit output on SPI0_SOMI. SI(0) refers to the first bit input and SI(n) refers to the last bit input on SPI0_SIMO.
Measured from the termination of the write of new data to the SPI module, In analyzing throughput requirements, additional internal bus cycles must be accounted for to allow data to be written to the SPI module by the CPU.

Table 6-51 Additional(5) SPI0 Master Timings, 4-Pin Enable Option(1) (2)

No. PARAMETER MIN MAX UNIT
17 td(ENA_SPC)M Delay from slave assertion of SPI0_ENA active to first SPI0_CLK from master.(3) Polarity = 0, Phase = 0,
to SPI0_CLK rising
3P + 3.6 ns
Polarity = 0, Phase = 1,
to SPI0_CLK rising
0.5tc(SPC)M + 3P + 3.6
Polarity = 1, Phase = 0,
to SPI0_CLK falling
3P + 3.6
Polarity = 1, Phase = 1,
to SPI0_CLK falling
0.5tc(SPC)M + 3P + 3.6
18 td(SPC_ENA)M Max delay for slave to deassert SPI0_ENA after final SPI0_CLK edge to ensure master does not begin the next transfer.(4) Polarity = 0, Phase = 0,
from SPI0_CLK falling
0.5tc(SPC)M + P + 5 ns
Polarity = 0, Phase = 1,
from SPI0_CLK falling
P + 5
Polarity = 1, Phase = 0,
from SPI0_CLK rising
0.5tc(SPC)M + P + 5
Polarity = 1, Phase = 1,
from SPI0_CLK rising
P + 5
P = SYSCLK2 period
Figure shows only Polarity = 0, Phase = 0 as an example. Table gives parameters for all four master clocking modes.
In the case where the master SPI is ready with new data before SPI0_ENA assertion.
In the case where the master SPI is ready with new data before SPI0_EN A deassertion.
These parameters are in addition to the general timings for SPI master modes (Table 6-49).

Table 6-52 Additional(7) SPI0 Master Timings, 4-Pin Chip Select Option(1) (2)

No. PARAMETER MIN MAX UNIT
19 td(SCS_SPC)M Delay from SPI0_SCS active to first SPI0_CLK(3) (4) Polarity = 0, Phase = 0,
to SPI0_CLK rising
2P - 5 ns
Polarity = 0, Phase = 1,
to SPI0_CLK rising
0.5tc(SPC)M + 2P - 5
Polarity = 1, Phase = 0,
to SPI0_CLK falling
2P - 5
Polarity = 1, Phase = 1,
to SPI0_CLK falling
0.5tc(SPC)M + 2P - 5
20 td(SPC_SCS)M Delay from final SPI0_CLK edge to master deasserting SPI0_SCS (5) (6) Polarity = 0, Phase = 0,
from SPI0_CLK falling
0.5tc(SPC)M + P - 3 ns
Polarity = 0, Phase = 1,
from SPI0_CLK falling
P - 3
Polarity = 1, Phase = 0,
from SPI0_CLK rising
0.5tc(SPC)M + P - 3
Polarity = 1, Phase = 1,
from SPI0_CLK rising
P - 3
P = SYSCLK2 period
Figure shows only Polarity = 0, Phase = 0 as an example. Table gives parameters for all four master clocking modes.
In the case where the master SPI is ready with new data before SPI0_SCS assertion.
This delay can be increased under software control by the register bit field SPIDELAY.C2TDELAY[4:0].
Except for modes when SPIDAT1.CSHOLD is enabled and there is additional data to transmit. In this case, SPI0_SCS will remain asserted.
This delay can be increased under software control by the register bit field SPIDELAY.T2CDELAY[4:0].
These parameters are in addition to the general timings for SPI master modes (Table 6-49).

Table 6-53 Additional(10) SPI0 Master Timings, 5-Pin Option(1) (2)

No. PARAMETER MIN MAX UNIT
18 td(SPC_ENA)M Max delay for slave to deassert SPI0_ENA after final SPI0_CLK edge to ensure master does not begin the next transfer.(3) Polarity = 0, Phase = 0,
from SPI0_CLK falling
0.5tc(SPC)M + P + 5 ns
Polarity = 0, Phase = 1,
from SPI0_CLK falling
P + 5
Polarity = 1, Phase = 0,
from SPI0_CLK rising
0.5tc(SPC)M + P + 5
Polarity = 1, Phase = 1,
from SPI0_CLK rising
P + 5
20 td(SPC_SCS)M Delay from final SPI0_CLK edge to
master deasserting SPI0_SCS (4) (5)
Polarity = 0, Phase = 0,
from SPI0_CLK falling
0.5tc(SPC)M + P - 3 ns
Polarity = 0, Phase = 1,
from SPI0_CLK falling
P - 3
Polarity = 1, Phase = 0,
from SPI0_CLK rising
0.5tc(SPC)M + P - 3
Polarity = 1, Phase = 1,
from SPI0_CLK rising
P - 3
21 td(SCSL_ENAL)M Max delay for slave SPI to drive SPI0_ENA valid after master asserts SPI0_SCS to delay the
master from beginning the next transfer,
C2TDELAY + P ns
22 td(SCS_SPC)M Delay from SPI0_SCS active to first SPI0_CLK(6) (7) (8) Polarity = 0, Phase = 0,
to SPI0_CLK rising
2P - 5 ns
Polarity = 0, Phase = 1,
to SPI0_CLK rising
0.5tc(SPC)M + 2P - 5
Polarity = 1, Phase = 0,
to SPI0_CLK falling
2P - 5
Polarity = 1, Phase = 1,
to SPI0_CLK falling
0.5tc(SPC)M + 2P - 5
23 td(ENA_SPC)M Delay from assertion of SPI0_ENA low to first SPI0_CLK edge.(9) Polarity = 0, Phase = 0,
to SPI0_CLK rising
3P + 3.6 ns
Polarity = 0, Phase = 1,
to SPI0_CLK rising
0.5tc(SPC)M + 3P + 3.6
Polarity = 1, Phase = 0,
to SPI0_CLK falling
3P + 3.6
Polarity = 1, Phase = 1,
to SPI0_CLK falling
0.5tc(SPC)M + 3P + 3.6
P = SYSCLK2 period
Figure shows only Polarity = 0, Phase = 0 as an example. Table gives parameters for all four master clocking modes.
In the case where the master SPI is ready with new data before SPI0_ENA deassertion.
Except for modes when SPIDAT1.CSHOLD is enabled and there is additional data to transmit. In this case, SPI0_SCS will remain asserted.
This delay can be increased under software control by the register bit field SPIDELAY.T2CDELAY[4:0].
If SPI0_ENA is asserted immediately such that the transmission is not delayed by SPI0_ENA.
In the case where the master SPI is ready with new data before SPI0_SCS assertion.
This delay can be increased under software control by the register bit field SPIDELAY.C2TDELAY[4:0].
If SPI0_ENA was initially deasserted high and SPI0_CLK is delayed.
These parameters are in addition to the general timings for SPI master modes (Table 6-50).

Table 6-54 Additional(3) SPI0 Slave Timings, 4-Pin Enable Option(1) (2)

No. PARAMETER MIN MAX UNIT
24 td(SPC_ENAH)S Delay from final SPI0_CLK edge to slave deasserting SPI0_ENA. Polarity = 0, Phase = 0,
from SPI0_CLK falling
1.5 P - 3 2.5 P + 18.5 ns
Polarity = 0, Phase = 1,
from SPI0_CLK falling
– 0.5tc(SPC)M + 1.5 P - 3 – 0.5tc(SPC)M + 2.5 P + 18.5
Polarity = 1, Phase = 0,
from SPI0_CLK rising
1.5 P - 3 2.5 P + 18.5
Polarity = 1, Phase = 1,
from SPI0_CLK rising
– 0.5tc(SPC)M + 1.5 P - 3 – 0.5tc(SPC)M + 2.5 P + 18.5
P = SYSCLK2 period
Figure shows only Polarity = 0, Phase = 0 as an example. Table gives parameters for all four slave clocking modes.
These parameters are in addition to the general timings for SPI slave modes (Table 6-50).

Table 6-55 Additional(3) SPI0 Slave Timings, 4-Pin Chip Select Option(1) (2)

No. PARAMETER MIN MAX UNIT
25 td(SCSL_SPC)S Required delay from SPI0_SCS asserted at slave to first SPI0_CLK edge at slave. 2P ns
26 td(SPC_SCSH)S Required delay from final SPI0_CLK edge before SPI0_SCS is deasserted. Polarity = 0, Phase = 0,
from SPI0_CLK falling
0.5tc(SPC)M + P + 5 ns
Polarity = 0, Phase = 1,
from SPI0_CLK falling
P + 5
Polarity = 1, Phase = 0,
from SPI0_CLK rising
0.5tc(SPC)M + P + 5
Polarity = 1, Phase = 1,
from SPI0_CLK rising
P + 5
27 tena(SCSL_SOMI)S Delay from master asserting SPI0_SCS to slave driving SPI0_SOMI valid P + 18.5 ns
28 tdis(SCSH_SOMI)S Delay from master deasserting SPI0_SCS to slave 3-stating SPI0_SOMI P + 18.5 ns
P = SYSCLK2 period
Figure shows only Polarity = 0, Phase = 0 as an example. Table gives parameters for all four slave clocking modes.
These parameters are in addition to the general timings for SPI slave modes (Table 6-50).

Table 6-56 Additional(4) SPI0 Slave Timings, 5-Pin Option(1) (2)

No. PARAMETER MIN MAX UNIT
25 td(SCSL_SPC)S Required delay from SPI0_SCS asserted at slave to first SPI0_CLK edge at slave. 2P ns
26 td(SPC_SCSH)S Required delay from final SPI0_CLK edge before SPI0_SCS is deasserted. Polarity = 0, Phase = 0,
from SPI0_CLK falling
0.5tc(SPC)M + P + 5 ns
Polarity = 0, Phase = 1,
from SPI0_CLK falling
P + 5
Polarity = 1, Phase = 0,
from SPI0_CLK rising
0.5tc(SPC)M + P + 5
Polarity = 1, Phase = 1,
from SPI0_CLK rising
P + 5
27 tena(SCSL_SOMI)S Delay from master asserting SPI0_SCS to slave driving SPI0_SOMI valid P + 18.5 ns
28 tdis(SCSH_SOMI)S Delay from master deasserting SPI0_SCS to slave 3-stating SPI0_SOMI P + 18.5 ns
29 tena(SCSL_ENA)S Delay from master deasserting SPI0_SCS to slave driving SPI0_ENA valid 18.5 ns
30 tdis(SPC_ENA)S Delay from final clock receive edge on SPI0_CLK to slave 3-stating or driving high SPI0_ENA.(3) Polarity = 0, Phase = 0,
from SPI0_CLK falling
2.5 P + 18.5 ns
Polarity = 0, Phase = 1,
from SPI0_CLK rising
2.5 P + 18.5
Polarity = 1, Phase = 0,
from SPI0_CLK rising
2.5 P + 18.5
Polarity = 1, Phase = 1,
from SPI0_CLK falling
2.5 P + 18.5
P = SYSCLK2 period
Figure shows only Polarity = 0, Phase = 0 as an example. Table gives parameters for all four slave clocking modes.
SPI0_ENA is driven low after the transmission completes if the SPIINT0.ENABLE_HIGHZ bit is programmed to 0. Otherwise it is 3-stated. If 3-stated, an external pullup resistor should be used to provide a valid level to the master. This option is useful when tying several SPI slave devices to a single master.
These parameters are in addition to the general timings for SPI slave modes (Table 6-50).

Table 6-57 General Timing Requirements for SPI1 Master Modes(1)

No. PARAMETER MIN MAX UNIT
1 tc(SPC)M Cycle Time, SPI1_CLK, All Master Modes greater of 3P or 20 256P ns
2 tw(SPCH)M Pulse Width High, SPI1_CLK, All Master Modes 0.5tc(SPC)M - 1 ns
3 tw(SPCL)M Pulse Width Low, SPI1_CLK, All Master Modes 0.5tc(SPC)M - 1 ns
4 td(SIMO_SPC)M Delay, initial data bit valid on SPI1_SIMO to initial edge on SPI1_CLK(2) Polarity = 0, Phase = 0,
to SPI1_CLK rising
5 ns
Polarity = 0, Phase = 1,
to SPI1_CLK rising
- 0.5tc(SPC)M + 5
Polarity = 1, Phase = 0,
to SPI1_CLK falling
5
Polarity = 1, Phase = 1,
to SPI1_CLK falling
- 0.5tc(SPC)M + 5
5 td(SPC_SIMO)M Delay, subsequent bits valid on SPI1_SIMO after transmit edge of SPI1_CLK Polarity = 0, Phase = 0,
from SPI1_CLK rising
5 ns
Polarity = 0, Phase = 1,
from SPI1_CLK falling
5
Polarity = 1, Phase = 0,
from SPI1_CLK falling
5
Polarity = 1, Phase = 1,
from SPI1_CLK rising
5
6 toh(SPC_SIMO)M Output hold time, SPI1_SIMO valid after
receive edge of SPI1_CLK
Polarity = 0, Phase = 0,
from SPI1_CLK falling
0.5tc(SPC)M - 3 ns
Polarity = 0, Phase = 1,
from SPI1_CLK rising
0.5tc(SPC)M - 3
Polarity = 1, Phase = 0,
from SPI1_CLK rising
0.5tc(SPC)M - 3
Polarity = 1, Phase = 1,
from SPI1_CLK falling
0.5tc(SPC)M - 3
7 tsu(SOMI_SPC)M Input Setup Time, SPI1_SOMI valid before receive edge of SPI1_CLK Polarity = 0, Phase = 0,
to SPI1_CLK falling
0 ns
Polarity = 0, Phase = 1,
to SPI1_CLK rising
0
Polarity = 1, Phase = 0,
to SPI1_CLK rising
0
Polarity = 1, Phase = 1,
to SPI1_CLK falling
0
8 tih(SPC_SOMI)M Input Hold Time, SPI1_SOMI valid after receive edge of SPI1_CLK Polarity = 0, Phase = 0,
from SPI1_CLK falling
5 ns
Polarity = 0, Phase = 1,
from SPI1_CLK rising
5
Polarity = 1, Phase = 0,
from SPI1_CLK rising
5
Polarity = 1, Phase = 1,
from SPI1_CLK falling
5
P = SYSCLK2 period
First bit may be MSB or LSB depending upon SPI configuration. MO(0) refers to first bit and MO(n) refers to last bit output on SPI1_SIMO. MI(0) refers to the first bit input and MI(n) refers to the last bit input on SPI1_SOMI.

Table 6-58 General Timing Requirements for SPI1 Slave Modes(1)

No. PARAMETER MIN MAX UNIT
9 tc(SPC)S Cycle Time, SPI1_CLK, All Slave Modes greater of 3P or 40 ns
10 tw(SPCH)S Pulse Width High, SPI1_CLK, All Slave Modes 18 ns
11 tw(SPCL)S Pulse Width Low, SPI1_CLK, All Slave Modes 18 ns
12 tsu(SOMI_SPC)S Setup time, transmit data written to SPI before initial clock edge from
master.(2) (3)
Polarity = 0, Phase = 0,
to SPI1_CLK rising
2P ns
Polarity = 0, Phase = 1,
to SPI1_CLK rising
2P
Polarity = 1, Phase = 0,
to SPI1_CLK falling
2P
Polarity = 1, Phase = 1,
to SPI1_CLK falling
2P
13 td(SPC_SOMI)S Delay, subsequent bits valid on SPI1_SOMI after transmit edge of SPI1_CLK Polarity = 0, Phase = 0,
from SPI1_CLK rising
19 ns
Polarity = 0, Phase = 1,
from SPI1_CLK falling
19
Polarity = 1, Phase = 0,
from SPI1_CLK falling
19
Polarity = 1, Phase = 1,
from SPI1_CLK rising
19
14 toh(SPC_SOMI)S Output hold time, SPI1_SOMI valid after receive edge of SPI1_CLK Polarity = 0, Phase = 0,
from SPI1_CLK falling
0.5tc(SPC)S - 3 ns
Polarity = 0, Phase = 1,
from SPI1_CLK rising
0.5tc(SPC)S - 3
Polarity = 1, Phase = 0,
from SPI1_CLK rising
0.5tc(SPC)S - 3
Polarity = 1, Phase = 1,
from SPI1_CLK falling
0.5tc(SPC)S - 3
15 tsu(SIMO_SPC)S Input Setup Time, SPI1_SIMO valid before receive edge of SPI1_CLK Polarity = 0, Phase = 0,
to SPI1_CLK falling
0 ns
Polarity = 0, Phase = 1,
to SPI1_CLK rising
0
Polarity = 1, Phase = 0,
to SPI1_CLK rising
0
Polarity = 1, Phase = 1,
to SPI1_CLK falling
0
16 tih(SPC_SIMO)S Input Hold Time, SPI1_SIMO valid after receive edge of SPI1_CLK Polarity = 0, Phase = 0,
from SPI1_CLK falling
5 ns
Polarity = 0, Phase = 1,
from SPI1_CLK rising
5
Polarity = 1, Phase = 0,
from SPI1_CLK rising
5
Polarity = 1, Phase = 1,
from SPI1_CLK falling
5
P = SYSCLK2 period
First bit may be MSB or LSB depending upon SPI configuration. SO(0) refers to first bit and SO(n) refers to last bit output on SPI1_SOMI. SI(0) refers to the first bit input and SI(n) refers to the last bit input on SPI1_SIMO.
Measured from the termination of the write of new data to the SPI module, In analyzing throughput requirements, additional internal bus cycles must be accounted for to allow data to be written to the SPI module by the CPU.

Table 6-59 Additional(5) SPI1 Master Timings, 4-Pin Enable Option(1) (2)

No. PARAMETER MIN MAX UNIT
17 td(EN A_SPC)M Delay from slave assertion of SPI1_ENA active to first SPI1_CLK from master.(3) Polarity = 0, Phase = 0,
to SPI1_CLK rising
3P + 3 ns
Polarity = 0, Phase = 1,
to SPI1_CLK rising
0.5tc(SPC)M + 3P + 3
Polarity = 1, Phase = 0,
to SPI1_CLK falling
3P + 3
Polarity = 1, Phase = 1,
to SPI1_CLK falling
0.5tc(SPC)M + 3P + 3
18 td(SPC_ENA)M Max delay for slave to deassert SPI1_ENA after final SPI1_CLK edge to ensure master does not begin the next transfer.(4) Polarity = 0, Phase = 0,
from SPI1_CLK falling
0.5tc(SPC)M + P + 5 ns
Polarity = 0, Phase = 1,
from SPI1_CLK falling
P + 5
Polarity = 1, Phase = 0,
from SPI1_CLK rising
0.5tc(SPC)M + P + 5
Polarity = 1, Phase = 1,
from SPI1_CLK rising
P + 5
P = SYSCLK2 period
Figure shows only Polarity = 0, Phase = 0 as an example. Table gives parameters for all four master clocking modes.
In the case where the master SPI is ready with new data before SPI1_ENA assertion.
In the case where the master SPI is ready with new data before SPI1_ENA deassertion.
These parameters are in addition to the general timings for SPI master modes (Table 6-57).

Table 6-60 Additional(7) SPI1 Master Timings, 4-Pin Chip Select Option(1) (2)

No. PARAMETER MIN MAX UNIT
19 td(SCS_SPC)M Delay from SPI1_SCS active to first SPI1_CLK(3) (4) Polarity = 0, Phase = 0,
to SPI1_CLK rising
2P - 5 ns
Polarity = 0, Phase = 1,
to SPI1_CLK rising
0.5tc(SPC)M + 2P - 5
Polarity = 1, Phase = 0,
to SPI1_CLK falling
2P - 5
Polarity = 1, Phase = 1,
to SPI1_CLK falling
0.5tc(SPC)M + 2P - 5
20 td(SPC_SCS)M Delay from final SPI1_CLK edge to master deasserting SPI1_SCS (5) (6) Polarity = 0, Phase = 0,
from SPI1_CLK falling
0.5tc(SPC)M + P - 3 ns
Polarity = 0, Phase = 1,
from SPI1_CLK falling
P - 3
Polarity = 1, Phase = 0,
from SPI1_CLK rising
0.5tc(SPC)M + P -3
Polarity = 1, Phase = 1,
from SPI1_CLK rising
P - 3
P = SYSCLK2 period
Figure shows only Polarity = 0, Phase = 0 as an example. Table gives parameters for all four master clocking modes.
In the case where the master SPI is ready with new data before SPI1_SCS assertion.
This delay can be increased under software control by the register bit field SPIDELAY.C2TDELAY[4:0].
Except for modes when SPIDAT1.CSHOLD is enabled and there is additional data to transmit. In this case, SPI1_SCS will remain asserted.
This delay can be increased under software control by the register bit field SPIDELAY.T2CDELAY[4:0].
These parameters are in addition to the general timings for SPI master modes (Table 6-57).

Table 6-61 Additional(10) SPI1 Master Timings, 5-Pin Option(1) (2)

No. PARAMETER MIN MAX UNIT
18 td(SPC_ENA)M Max delay for slave to deassert SPI1_ENA after final SPI1_CLK edge to ensure master does not begin the next transfer.(3) Polarity = 0, Phase = 0,
from SPI1_CLK falling
0.5tc(SPC)M + P + 5 ns
Polarity = 0, Phase = 1,
from SPI1_CLK falling
P + 5
Polarity = 1, Phase = 0,
from SPI1_CLK rising
0.5tc(SPC)M + P + 5
Polarity = 1, Phase = 1,
from SPI1_CLK rising
P + 5
20 td(SPC_SCS)M Delay from final SPI1_CLK edge to master deasserting SPI1_SCS (4) (5) Polarity = 0, Phase = 0,
from SPI1_CLK falling
0.5tc(SPC)M + P - 3 ns
Polarity = 0, Phase = 1,
from SPI1_CLK falling
P - 3
Polarity = 1, Phase = 0,
from SPI1_CLK rising
0.5tc(SPC)M + P - 3
Polarity = 1, Phase = 1,
from SPI1_CLK rising
P - 3
21 td(SCSL_ENAL)M Max delay for slave SPI to drive SPI1_ENA valid after master asserts SPI1_SCS to delay the master from beginning the next transfer. C2TDELAY + P ns
22 td(SCS_SPC)M Delay from SPI1_SCS active to first SPI1_CLK(6) (7) (8) Polarity = 0, Phase = 0,
to SPI1_CLK rising
2P - 5 ns
Polarity = 0, Phase = 1,
to SPI1_CLK rising
0.5tc(SPC)M + 2P - 5
Polarity = 1, Phase = 0,
to SPI1_CLK falling
2P - 5
Polarity = 1, Phase = 1,
to SPI1_CLK falling
0.5tc(SPC)M + 2P - 5
23 td(ENA_SPC)M Delay from assertion of SPI1_ENA low to first SPI1_CLK edge.(9) Polarity = 0, Phase = 0,
to SPI1_CLK rising
3P + 3 ns
Polarity = 0, Phase = 1,
to SPI1_CLK rising
0.5tc(SPC)M + 3P + 3
Polarity = 1, Phase = 0,
to SPI1_CLK falling
3P + 3
Polarity = 1, Phase = 1,
to SPI1_CLK falling
0.5tc(SPC)M + 3P + 3
P = SYSCLK2 period
Figure shows only Polarity = 0, Phase = 0 as an example. Table gives parameters for all four master clocking modes.
In the case where the master SPI is ready with new data before SPI1_ENA deassertion.
Except for modes when SPIDAT1.CSHOLD is enabled and there is additional data to transmit. In this case, SPI1_SCS will remain asserted.
This delay can be increased under software control by the register bit field SPIDELAY.T2CDELAY[4:0].
If SPI1_ENA is asserted immediately such that the transmission is not delayed by SPI1_ENA.
In the case where the master SPI is ready with new data before SPI1_SCS assertion.
This delay can be increased under software control by the register bit field SPIDELAY.C2TDELAY[4:0].
If SPI1_ENA was initially deasserted high and SPI1_CLK is delayed.
These parameters are in addition to the general timings for SPI master modes (Table 6-58).

Table 6-62 Additional(3) SPI1 Slave Timings, 4-Pin Enable Option(1) (2)

No. PARAMETER MIN MAX UNIT
24 td(SPC_ENAH)S Delay from final SPI1_CLK edge to slave deasserting SPI1_ENA. Polarity = 0, Phase = 0,
from SPI1_CLK falling
1.5 P - 3 2.5 P + 19 ns
Polarity = 0, Phase = 1,
from SPI1_CLK falling
– 0.5tc(SPC)M + 1.5 P - 3 – 0.5tc(SPC)M + 2.5 P + 19
Polarity = 1, Phase = 0,
from SPI1_CLK rising
1.5 P - 3 2.5 P + 19
Polarity = 1, Phase = 1,
from SPI1_CLK rising
– 0.5tc(SPC)M + 1.5 P - 3 – 0.5tc(SPC)M + 2.5 P + 19
P = SYSCLK2 period
Figure shows only Polarity = 0, Phase = 0 as an example. Table gives parameters for all four slave clocking modes.
These parameters are in addition to the general timings for SPI slave modes (Table 6-58).

Table 6-63 Additional(3) SPI1 Slave Timings, 4-Pin Chip Select Option(1) (2)

No. PARAMETER MIN MAX UNIT
25 td(SCSL_SPC)S Required delay from SPI1_SCS asserted at slave to first SPI1_CLK edge at slave. 2P ns
26 td(SPC_SCSH)S Required delay from final SPI1_CLK edge before SPI1_SCS is deasserted. Polarity = 0, Phase = 0,
from SPI1_CLK falling
0.5tc(SPC)M + P + 5 ns
Polarity = 0, Phase = 1,
from SPI1_CLK falling
P + 5
Polarity = 1, Phase = 0,
from SPI1_CLK rising
0.5tc(SPC)M + P + 5
Polarity = 1, Phase = 1,
from SPI1_CLK rising
P + 5
27 tena(SCSL_SOMI)S Delay from master asserting SPI1_SCS to slave driving SPI1_SOMI valid P + 19 ns
28 tdis(SCSH_SOMI)S Delay from master deasserting SPI1_SCS to slave 3-stating SPI1_SOMI P + 19 ns
P = SYSCLK2 period
Figure shows only Polarity = 0, Phase = 0 as an example. Table gives parameters for all four slave clocking modes.
These parameters are in addition to the general timings for SPI slave modes (Table 6-58).

Table 6-64 Additional(4) SPI1 Slave Timings, 5-Pin Option(1) (2)

No. PARAMETER MIN MAX UNIT
25 td(SCSL_SPC)S Required delay from SPI1_SCS asserted at slave to first SPI1_CLK edge at slave. 2P ns
26 td(SPC_SCSH)S Required delay from final SPI1_CLK edge before SPI1_SCS is deasserted. Polarity = 0, Phase = 0,
from SPI1_CLK falling
0.5tc(SPC)M + P + 5 ns
Polarity = 0, Phase = 1,
from SPI1_CLK falling
P + 5
Polarity = 1, Phase = 0,
from SPI1_CLK rising
0.5tc(SPC)M + P + 5
Polarity = 1, Phase = 1,
from SPI1_CLK rising
P + 5
27 tena(SCSL_SOMI)S Delay from master asserting SPI1_SCS to slave driving SPI1_SOMI valid P + 19 ns
28 tdis(SCSH_SOMI)S Delay from master deasserting SPI1_SCS to slave 3-stating SPI1_SOMI P + 19 ns
29 tena(SCSL_ENA)S Delay from master deasserting SPI1_SCS to slave driving SPI1_ENA valid 19 ns
30 tdis(SPC_ENA)S Delay from final clock receive edge on SPI1_CLK to slave 3-stating or driving high SPI1_ENA.(3) Polarity = 0, Phase = 0,
from SPI1_CLK falling
2.5 P + 19 ns
Polarity = 0, Phase = 1,
from SPI1_CLK rising
2.5 P + 19
Polarity = 1, Phase = 0,
from SPI1_CLK rising
2.5 P + 19
Polarity = 1, Phase = 1,
from SPI1_CLK falling
2.5 P + 19
P = SYSCLK2 period
Figure shows only Polarity = 0, Phase = 0 as an example. Table gives parameters for all four slave clocking modes.
SPI1_ENA is driven low after the transmission completes if the SPIINT0.ENABLE_HIGHZ bit is programmed to 0. Otherwise it is 3-stated. If 3-stated, an external pullup resistor should be used to provide a valid level to the master. This option is useful when tying several SPI slave devices to a single master.
These parameters are in addition to the general timings for SPI slave modes (Table 6-58).
AM1705 spitim1a_prs279.gif Figure 6-33 SPI Timings—Master Mode
AM1705 spitim2_prs279.gif Figure 6-34 SPI Timings—Slave Mode
AM1705 spitim3_prs279.gif Figure 6-35 SPI Timings—Master Mode (4-Pin and 5-Pin)
AM1705 spitim4_prs279.gif Figure 6-36 SPI Timings—Slave Mode (4-Pin and 5-Pin)

Enhanced Capture (eCAP) Peripheral

The device contains up to three enhanced capture (eCAP) modules. Figure 6-37 shows a functional block diagram of a module.

Uses for ECAP include:

  • Speed measurements of rotating machinery (e.g. toothed sprockets sensed via Hall sensors)
  • Elapsed time measurements between position sensor triggers
  • Period and duty cycle measurements of Pulse train signals
  • Decoding current or voltage amplitude derived from cuty cycle encoded current/voltage sensors

The ECAP module described in this specification includes the following features:

  • 32 bit time base
  • 4 event time-stamp registers (each 32 bits)
  • Edge polarity selection for up to 4 sequenced time-stamp capture events
  • Interrupt on either of the 4 events
  • Single shot capture of up to 4 event time-stamps
  • Continuous mode capture of time-stamps in a 4 deep circular buffer
  • Absolute time-stamp capture
  • Difference mode time-stamp capture
  • All the above resources are dedicated to a single input pin

The eCAP modules are clocked at the SYSCLK2 rate.

AM1705 fbd_ecap_prs230.gif Figure 6-37 eCAP Functional Block Diagram

Table 6-65 is the list of the ECAP registers.

Table 6-65 ECAPx Configuration Registers

ECAP0
BYTE ADDRESS
ECAP1
BYTE ADDRESS
ECAP2
BYTE ADDRESS
ACRONYM REGISTER DESCRIPTION
0x01F0 6000 0x01F0 7000 0x01F0 8000 TSCTR Time-Stamp Counter
0x01F0 6004 0x01F0 7004 0x01F0 8004 CTRPHS Counter Phase Offset Value Register
0x01F0 6008 0x01F0 7008 0x01F0 8008 CAP1 Capture 1 Register
0x01F0 600C 0x01F0 700C 0x01F0 800C CAP2 Capture 2 Register
0x01F0 6010 0x01F0 7010 0x01F0 8010 CAP3 Capture 3 Register
0x01F0 6014 0x01F0 7014 0x01F0 8014 CAP4 Capture 4 Register
0x01F0 6028 0x01F0 7028 0x01F0 8028 ECCTL1 Capture Control Register 1
0x01F0 602A 0x01F0 702A 0x01F0 802A ECCTL2 Capture Control Register 2
0x01F0 602C 0x01F0 702C 0x01F0 802C ECEINT Capture Interrupt Enable Register
0x01F0 602E 0x01F0 702E 0x01F0 802E ECFLG Capture Interrupt Flag Register
0x01F0 6030 0x01F0 7030 0x01F0 8030 ECCLR Capture Interrupt Clear Register
0x01F0 6032 0x01F0 7032 0x01F0 8032 ECFRC Capture Interrupt Force Register
0x01F0 605C 0x01F0 705C 0x01F0 805C REVID Revision ID

Table 6-66 shows the eCAP timing requirement and Table 6-67 shows the eCAP switching characteristics.

Table 6-66 Enhanced Capture (eCAP) Timing Requirement

PARAMETER TEST CONDITIONS MIN MAX UNIT
tw(CAP) Capture input pulse width Asynchronous 2tc(SCO) cycles
Synchronous 2tc(SCO) cycles

Table 6-67 eCAP Switching Characteristics

PARAMETER MIN MAX UNIT
tw(APWM) Pulse duration, APWMx output high/low 20 ns

Enhanced Quadrature Encoder (eQEP) Peripheral

The device contains up to two enhanced quadrature encoder (eQEP) modules.

AM1705 fbd_eqep_prs230.gif Figure 6-38 eQEP Functional Block Diagram

Table 6-68 is the list of the EQEP registers.

Table 6-69 shows the eQEP timing requirement and Table 6-70 shows the eQEP switching characteristics.

Table 6-68 EQEP Registers

EQEP0
BYTE ADDRESS
EQEP1
BYTE ADDRESS
ACRONYM REGISTER DESCRIPTION
0x01F0 9000 0x01F0 A000 QPOSCNT eQEP Position Counter
0x01F0 9004 0x01F0 A004 QPOSINIT eQEP Initialization Position Count
0x01F0 9008 0x01F0 A008 QPOSMAX eQEP Maximum Position Count
0x01F0 900C 0x01F0 A00C QPOSCMP eQEP Position-compare
0x01F0 9010 0x01F0 A010 QPOSILAT eQEP Index Position Latch
0x01F0 9014 0x01F0 A014 QPOSSLAT eQEP Strobe Position Latch
0x01F0 9018 0x01F0 A018 QPOSLAT eQEP Position Latch
0x01F0 901C 0x01F0 A01C QUTMR eQEP Unit Timer
0x01F0 9020 0x01F0 A020 QUPRD eQEP Unit Period Register
0x01F0 9024 0x01F0 A024 QWDTMR eQEP Watchdog Timer
0x01F0 9026 0x01F0 A026 QWDPRD eQEP Watchdog Period Register
0x01F0 9028 0x01F0 A028 QDECCTL eQEP Decoder Control Register
0x01F0 902A 0x01F0 A02A QEPCTL eQEP Control Register
0x01F0 902C 0x01F0 A02C QCAPCTL eQEP Capture Control Register
0x01F0 902E 0x01F0 A02E QPOSCTL eQEP Position-compare Control Register
0x01F0 9030 0x01F0 A030 QEINT eQEP Interrupt Enable Register
0x01F0 9032 0x01F0 A032 QFLG eQEP Interrupt Flag Register
0x01F0 9034 0x01F0 A034 QCLR eQEP Interrupt Clear Register
0x01F0 9036 0x01F0 A036 QFRC eQEP Interrupt Force Register
0x01F0 9038 0x01F0 A038 QEPSTS eQEP Status Register
0x01F0 903A 0x01F0 A03A QCTMR eQEP Capture Timer
0x01F0 903C 0x01F0 A03C QCPRD eQEP Capture Period Register
0x01F0 903E 0x01F0 A03E QCTMRLAT eQEP Capture Timer Latch
0x01F0 9040 0x01F0 A040 QCPRDLAT eQEP Capture Period Latch
0x01F0 905C 0x01F0 A05C REVID eQEP Revision ID

Table 6-69 Enhanced Quadrature Encoder Pulse (eQEP) Timing Requirements

PARAMETER TEST CONDITIONS MIN MAX UNIT
tw(QEPP) QEP input period Asynchronous/synchronous 2tc(SCO) cycles
tw(INDEXH) QEP Index Input High time Asynchronous/synchronous 2tc(SCO) cycles
tw(INDEXL) QEP Index Input Low time Asynchronous/synchronous 2tc(SCO) cycles
tw(STROBH) QEP Strobe High time Asynchronous/synchronous 2tc(SCO) cycles
tw(STROBL) QEP Strobe Input Low time Asynchronous/synchronous 2tc(SCO) cycles

Table 6-70 eQEP Switching Characteristics

PARAMETER MIN MAX UNIT
td(CNTR)xin Delay time, external clock to counter increment 4tc(SCO) cycles
td(PCS-OUT)QEP Delay time, QEP input edge to position compare sync output 6tc(SCO) cycles

Enhanced High-Resolution Pulse-Width Modulator (eHRPWM)

The device contains up to three enhanced PWM Modules (eHRPWM). Figure 6-39 shows a block diagram of multiple eHRPWM modules. Figure 4-4 shows the signal interconnections with the eHRPWM.

AM1705 fbd_pwm_prs563.gif Figure 6-39 Multiple PWM Modules in the System
AM1705 fbd_hires_prs230.gif Figure 6-40 eHRPWM Sub-Modules Showing Critical Internal Signal Interconnections

Table 6-71 eHRPWM Module Control and Status Registers Grouped by Submodule

eHRPWM0
BYTE ADDRESS
eHRPWM1
BYTE ADDRESS
eHRPWM2
BYTE ADDRESS
ACRONYM SIZE
(×16)
SHADOW REGISTER DESCRIPTION
TIME-BASE SUBMODULE REGISTERS
0x01F0 0000 0x01F0 2000 0x01F0 4000 TBCTL 1 No Time-Base Control Register
0x01F0 0002 0x01F0 2002 0x01F0 4002 TBSTS 1 No Time-Base Status Register
0x01F0 0004 0x01F0 2004 0x01F0 4004 TBPHSHR 1 No Extension for HRPWM Phase Register (1)
0x01F0 0006 0x01F0 2006 0x01F0 4006 TBPHS 1 No Time-Base Phase Register
0x01F0 0008 0x01F0 2008 0x01F0 4008 TBCNT 1 No Time-Base Counter Register
0x01F0 000A 0x01F0 200A 0x01F0 400A TBPRD 1 Yes Time-Base Period Register
COUNTER-COMPARE SUBMODULE REGISTER
0x01F0 000E 0x01F0 200E 0x01F0 400E CMPCTL 1 No Counter-Compare Control Register
0x01F0 0010 0x01F0 2010 0x01F0 4010 CMPAHR 1 No Extension for HRPWM Counter-Compare A Register (1)
0x01F0 0012 0x01F0 2012 0x01F0 4012 CMPA 1 Yes Counter-Compare A Register
0x01F0 0014 0x01F0 2014 0x01F0 4014 CMPB 1 Yes Counter-Compare B Register
ACTION-QUALIFIER SUBMODULE REGISTER
0x01F0 0016 0x01F0 2016 0x01F0 4016 AQCTLA 1 No Action-Qualifier Control Register for Output A (eHRPWMxA)
0x01F0 0018 0x01F0 2018 0x01F0 4018 AQCTLB 1 No Action-Qualifier Control Register for Output B (eHRPWMxB)
0x01F0 001A 0x01F0 201A 0x01F0 401A AQSFRC 1 No Action-Qualifier Software Force Register
0x01F0 001C 0x01F0 201C 0x01F0 401C AQCSFRC 1 Yes Action-Qualifier Continuous S/W Force Register Set
DEAD-BAND GENERATOR SUBMODULE REGISTER
0x01F0 001E 0x01F0 201E 0x01F0 401E DBCTL 1 No Dead-Band Generator Control Register
0x01F0 0020 0x01F0 2020 0x01F0 4020 DBRED 1 No Dead-Band Generator Rising Edge Delay Count Register
0x01F0 0022 0x01F0 2022 0x01F0 4022 DBFED 1 No Dead-Band Generator Falling Edge Delay Count Register
PWM-CHOPPER SUBMODULE REGISTER
0x01F0 003C 0x01F0 203C 0x01F0 403C PCCTL 1 No PWM-Chopper Control Register
TRIP-ZONE SUBMODULE REGISTER
0x01F0 0024 0x01F0 2024 0x01F0 4024 TZSEL 1 No Trip-Zone Select Register
0x01F0 0028 0x01F0 2028 0x01F0 4028 TZCTL 1 No Trip-Zone Control Register
0x01F0 002A 0x01F0 202A 0x01F0 402A TZEINT 1 No Trip-Zone Enable Interrupt Register
0x01F0 002C 0x01F0 202C 0x01F0 402C TZFLG 1 No Trip-Zone Flag Register
0x01F0 002E 0x01F0 202E 0x01F0 402E TZCLR 1 No Trip-Zone Clear Register
0x01F0 0030 0x01F0 2030 0x01F0 4030 TZFRC 1 No Trip-Zone Force Register
EVENT-TRIGGER SUBMODULE REGISTER
0x01F0 0032 0x01F0 2032 0x01F0 4032 ETSEL 1 No Event-Trigger Selection Register
0x01F0 0034 0x01F0 2034 0x01F0 4034 ETPS 1 No Event-Trigger Pre-Scale Register
0x01F0 0036 0x01F0 2036 0x01F0 4036 ETFLG 1 No Event-Trigger Flag Register
0x01F0 0038 0x01F0 2038 0x01F0 4038 ETCLR 1 No Event-Trigger Clear Register
0x01F0 003A 0x01F0 203A 0x01F0 403A ETFRC 1 No Event-Trigger Force Register
HIGH-RESOLUTION PWM (HRPWM) SUBMODULE
0x01F0 1040 0x01F0 3040 0x01F0 5040 HRCNFG 1 No HRPWM Configuration Register (1)
These registers are only available on eHRPWM instances that include the high-resolution PWM (HRPWM) extension; otherwise, these locations are reserved.

Enhanced Pulse Width Modulator (eHRPWM) Timing

PWM refers to PWM outputs on eHRPWM1-6. Table 6-72 shows the PWM timing requirements and Table 6-73, switching characteristics.

Table 6-72 eHRPWM Timing Requirements

PARAMETER TEST CONDITIONS MIN MAX UNIT
tw(SYNCIN) Sync input pulse width Asynchronous 2tc(SCO) cycles
Synchronous 2tc(SCO) cycles

Table 6-73 eHRPWM Switching Characteristics

PARAMETER TEST CONDITIONS MIN MAX UNIT
tw(PWM) Pulse duration, PWMx output high/low 20 ns
tw(SYNCOUT) Sync output pulse width 8tc(SCO) cycles
td(PWM)TZA Delay time, trip input active to PWM forced high
Delay time, trip input active to PWM forced low
no pin load;
no additional programmable delay
25 ns
td(TZ-PWM)HZ Delay time, trip input active to PWM Hi-Z no additional programmable delay 20 ns

Trip-Zone Input Timing

AM1705 td_pwmhz_prs230.gif
PWM refers to all the PWM pins in the device. The state of the PWM pins after TZ is taken high depends on the PWM recovery software.
Figure 6-41 PWM Hi-Z Characteristics

Table 6-74 Trip-Zone input Timing Requirements

PARAMETER MIN MAX UNIT
tw(TZ) Pulse duration, TZx input low Asynchronous 1tc(SCO) cycles
Synchronous 2tc(SCO) cycles

Table 6-75 shows the high-resolution PWM switching characteristics.

Table 6-75 High Resolution PWM Characteristics at SYSCLKOUT = (60 - 100 MHz)

PARAMETER MIN TYP MAX UNIT
Micro Edge Positioning (MEP) step size(1) 200 ps
MEP step size will increase with low voltage and high temperature and decrease with high voltage and cold temperature.

Timers

The timers support the following features:

  • Configurable as single 64-bit timer or two 32-bit timers
  • Period timeouts generate interrupts, DMA events or external pin events
  • 8 32-bit compare registers
  • Compare matches generate interrupt events
  • Capture capability
  • 64-bit Watchdog capability (Timer64P1 only)
Table 6-76 lists the timer registers.

Table 6-76 Timer Registers

Timer64P 0 Timer64P 1 ACRONYM REGISTER DESCRIPTION
0x01C2 0000 0x01C2 1000 REV Revision Register
0x01C2 0004 0x01C2 1004 EMUMGT Emulation Management Register
0x01C2 0008 0x01C2 1008 GPINTGPEN GPIO Interrupt and GPIO Enable Register
0x01C2 000C 0x01C2 100C GPDATGPDIR GPIO Data and GPIO Direction Register
0x01C2 0010 0x01C2 1010 TIM12 Timer Counter Register 12
0x01C2 0014 0x01C2 1014 TIM34 Timer Counter Register 34
0x01C2 0018 0x01C2 1018 PRD12 Timer Period Register 12
0x01C2 001C 0x01C2 101C PRD34 Timer Period Register 34
0x01C2 0020 0x01C2 1020 TCR Timer Control Register
0x01C2 0024 0x01C2 1024 TGCR Timer Global Control Register
0x01C2 0028 0x01C2 1028 WDTCR Watchdog Timer Control Register
0x01C2 0034 0x01C2 1034 REL12 Timer Reload Register 12
0x01C2 0038 0x01C2 1038 REL34 Timer Reload Register 34
0x01C2 003C 0x01C2 103C CAP12 Timer Capture Register 12
0x01C2 0040 0x01C2 1040 CAP34 Timer Capture Register 34
0x01C2 0044 0x01C2 1044 INTCTLSTAT Timer Interrupt Control and Status Register
0x01C2 0060 0x01C2 1060 CMP0 Compare Register 0
0x01C2 0064 0x01C2 1064 CMP1 Compare Register 1
0x01C2 0068 0x01C2 1068 CMP2 Compare Register 2
0x01C2 006C 0x01C2 106C CMP3 Compare Register 3
0x01C2 0070 0x01C2 1070 CMP4 Compare Register 4
0x01C2 0074 0x01C2 1074 CMP5 Compare Register 5
0x01C2 0078 0x01C2 1078 CMP6 Compare Register 6
0x01C2 007C 0x01C2 107C CMP7 Compare Register 7

Timer Electrical Data/Timing

Table 6-77 Timing Requirements for Timer Input(1) (2) (see Figure 6-42)

No. PARAMETER MIN MAX UNIT
1 tc(TM64Px_IN12) Cycle time, TM64Px_IN12 4P ns
2 tw(TINPH) Pulse duration, TM64Px_IN12 high 0.45C 0.55C ns
3 tw(TINPL) Pulse duration, TM64Px_IN12 low 0.45C 0.55C ns
4 tt(TM64Px_IN12) Transition time, TM64Px_IN12 0.25P or 10(3) ns
P = OSCIN cycle time in ns. For example, when OSCIN frequency is 27 MHz, use P = 37.037 ns.
C = TM64P0_IN12 cycle time in ns. For example, when TM64Px_IN12 frequency is 27 MHz, use C = 37.037 ns
Whichever is smaller. P = the period of the applied signal. Maintaining transition times as fast as possible is recommended to improve noise immunity on input signals.
AM1705 td_timer_prs271.gif Figure 6-42 Timer Timing

Table 6-78 Switching Characteristics Over Recommended Operating Conditions for Timer Output (1)

No. PARAMETER MIN MAX UNIT
5 tw(TOUTH) Pulse duration, TM64P0_OUT12 high 4P ns
6 tw(TOUTL) Pulse duration, TM64P0_OUT12 low 4P ns
P = OSCIN cycle time in ns. For example, when OSCIN frequency is 27 MHz, use P = 37.037 ns.
AM1705 tim_timer_prs563.gif Figure 6-43 Timer Timing

Inter-Integrated Circuit Serial Ports (I2C0, I2C1)

I2C Device-Specific Information

Having two I2C modules on the device simplifies system architecture. Figure 6-44 is block diagram of the I2C Module.

Each I2C port supports:

  • Compatible with Philips® I2C Specification Revision 2.1 (January 2000)
  • Fast Mode up to 400 Kbps (no fail-safe I/O buffers)
  • Noise Filter to Remove Noise 50 ns or less
  • Seven- and Ten-Bit Device Addressing Modes
  • Master (Transmit/Receive) and Slave (Transmit/Receive) Functionality
  • Events: DMA, Interrupt, or Polling
  • General-Purpose I/O Capability if not used as I2C

AM1705 bd_i2c_prs279.gif Figure 6-44 I2C Module Block Diagram

I2C Peripheral Registers Description(s)

Table 6-79 is the list of the I2C registers.

Table 6-79 Inter-Integrated Circuit (I2C) Registers

I2C0
BYTE ADDRESS
I2C1
BYTE ADDRESS
ACRONYM REGISTER DESCRIPTION
0x01C2 2000 0x01E2 8000 ICOAR I2C Own Address Register
0x01C2 2004 0x01E2 8004 ICIMR I2C Interrupt Mask Register
0x01C2 2008 0x01E2 8008 ICSTR I2C Interrupt Status Register
0x01C2 200C 0x01E2 800C ICCLKL I2C Clock Low-Time Divider Register
0x01C2 2010 0x01E2 8010 ICCLKH I2C Clock High-Time Divider Register
0x01C2 2014 0x01E2 8014 ICCNT I2C Data Count Register
0x01C2 2018 0x01E2 8018 ICDRR I2C Data Receive Register
0x01C2 201C 0x01E2 801C ICSAR I2C Slave Address Register
0x01C2 2020 0x01E2 8020 ICDXR I2C Data Transmit Register
0x01C2 2024 0x01E2 8024 ICMDR I2C Mode Register
0x01C2 2028 0x01E2 8028 ICIVR I2C Interrupt Vector Register
0x01C2 202C 0x01E2 802C ICEMDR I2C Extended Mode Register
0x01C2 2030 0x01E2 8030 ICPSC I2C Prescaler Register
0x01C2 2034 0x01E2 8034 REVID1 I2C Revision Identification Register 1
0x01C2 2038 0x01E2 8038 REVID2 I2C Revision Identification Register 2
0x01C2 2048 0x01E2 8048 ICPFUNC I2C Pin Function Register
0x01C2 204C 0x01E2 804C ICPDIR I2C Pin Direction Register
0x01C2 2050 0x01E2 8050 ICPDIN I2C Pin Data In Register
0x01C2 2054 0x01E2 8054 ICPDOUT I2C Pin Data Out Register
0x01C2 2058 0x01E2 8058 ICPDSET I2C Pin Data Set Register
0x01C2 205C 0x01E2 805C ICPDCLR I2C Pin Data Clear Register

I2C Electrical Data/Timing

Inter-Integrated Circuit (I2C) Timing

Table 6-80 and Table 6-81 assume testing over recommended operating conditions (see Figure 6-45 and Figure 6-46).

Table 6-80 I2C Input Timing Requirements

No. PARAMETER MIN MAX UNIT
1 tc(SCL) Cycle time, I2Cx_SCL Standard Mode 10 μs
Fast Mode 2.5
2 tsu(SCLH-SDAL) Setup time, I2Cx_SCL high before I2Cx_SDA low Standard Mode 4.7 μs
Fast Mode 0.6
3 th(SCLL-SDAL) Hold time, I2Cx_SCL low after I2Cx_SDA low Standard Mode 4 μs
Fast Mode 0.6
4 tw(SCLL) Pulse duration, I2Cx_SCL low Standard Mode 4.7 μs
Fast Mode 1.3
5 tw(SCLH) Pulse duration, I2Cx_SCL high Standard Mode 4 μs
Fast Mode 0.6
6 tsu(SDA-SCLH) Setup time, I2Cx_SDA before I2Cx_SCL high Standard Mode 250 ns
Fast Mode 100
7 th(SDA-SCLL) Hold time, I2Cx_SDA after I2Cx_SCL low Standard Mode 0 μs
Fast Mode 0 0.9
8 tw(SDAH) Pulse duration, I2Cx_SDA high Standard Mode 4.7 μs
Fast Mode 1.3
9 tr(SDA) Rise time, I2Cx_SDA Standard Mode 1000 ns
Fast Mode 20 + 0.1Cb 300
10 tr(SCL) Rise time, I2Cx_SCL Standard Mode 1000 ns
Fast Mode 20 + 0.1Cb 300
11 tf(SDA) Fall time, I2Cx_SDA Standard Mode 300 ns
Fast Mode 20 + 0.1Cb 300
12 tf(SCL) Fall time, I2Cx_SCL Standard Mode 300 ns
Fast Mode 20 + 0.1Cb 300
13 tsu(SCLH-SDAH) Setup time, I2Cx_SCL high before I2Cx_SDA high Standard Mode 4 μs
Fast Mode 0.6
14 tw(SP) Pulse duration, spike (must be suppressed) Standard Mode N/A ns
Fast Mode 0 50
15 Cb Capacitive load for each bus line Standard Mode 400 pF
Fast Mode 400

Table 6-81 I2C Switching Characteristics(1)

No. PARAMETER MIN MAX UNIT
16 tc(SCL) Cycle time, I2Cx_SCL Standard Mode 10 μs
Fast Mode 2.5
17 tsu(SCLH-SDAL) Setup time, I2Cx_SCL high before I2Cx_SDA low Standard Mode 4.7 μs
Fast Mode 0.6
18 th(SDAL-SCLL) Hold time, I2Cx_SCL low after I2Cx_SDA low Standard Mode 4 μs
Fast Mode 0.6
19 tw(SCLL) Pulse duration, I2Cx_SCL low Standard Mode 4.7 μs
Fast Mode 1.3
20 tw(SCLH) Pulse duration, I2Cx_SCL high Standard Mode 4 μs
Fast Mode 0.6
21 tsu(SDAV-SCLH) Setup time, I2Cx_SDA valid before I2Cx_SCL high Standard Mode 250 ns
Fast Mode 100
22 th(SCLL-SDAV) Hold time, I2Cx_SDA valid after I2Cx_SCL low Standard Mode 0 μs
Fast Mode 0 0.9
23 tw(SDAH) Pulse duration, I2Cx_SDA high Standard Mode 4.7 μs
Fast Mode 1.3
28 tsu(SCLH-SDAH) Setup time, I2Cx_SCL high before I2Cx_SDA high Standard Mode 4 μs
Fast Mode 0.6
I2C must be configured correctly to meet the timings in Table 6-81.
AM1705 td_i2c_rt_prs279.gif Figure 6-45 I2C Receive Timings
AM1705 td_i2c_tt_prs279.gif Figure 6-46 I2C Transmit Timings

Universal Asynchronous Receiver/Transmitter (UART)

The device has 3 UART peripherals. Each UART has the following features:

  • 16-byte storage space for both the transmitter and receiver FIFOs
  • 1, 4, 8, or 14 byte selectable receiver FIFO trigger level for autoflow control and DMA
  • Autoflow control signals (CTS, RTS) on UART0 only
  • DMA signaling capability for both received and transmitted data
  • Programmable auto-rts and auto-cts for autoflow control
  • Programmable Baud Rate up to 3MBaud
  • Programmable Oversampling Options of x13 and x16
  • Frequency pre-scale values from 1 to 65,535 to generate appropriate baud rates
  • Prioritized interrupts
  • Programmable serial data formats
    • 5, 6, 7, or 8-bit characters
    • Even, odd, or no parity bit generation and detection
    • 1, 1.5, or 2 stop bit generation
  • False start bit detection
  • Line break generation and detection
  • Internal diagnostic capabilities
    • Loopback controls for communications link fault isolation
    • Break, parity, overrun, and framing error simulation

The UART registers are listed in Section 6.23.1

UART Peripheral Registers Description(s)

Table 6-82 is the list of UART registers.

Table 6-82 UART Registers

UART0
BYTE ADDRESS
UART1
BYTE ADDRESS
UART2
BYTE ADDRESS
ACRONYM REGISTER DESCRIPTION
0x01C4 2000 0x01D0 C000 0x01D0 D000 RBR Receiver Buffer Register (read only)
0x01C4 2000 0x01D0 C000 0x01D0 D000 THR Transmitter Holding Register (write only)
0x01C4 2004 0x01D0 C004 0x01D0 D004 IER Interrupt Enable Register
0x01C4 2008 0x01D0 C008 0x01D0 D008 IIR Interrupt Identification Register (read only)
0x01C4 2008 0x01D0 C008 0x01D0 D008 FCR FIFO Control Register (write only)
0x01C4 200C 0x01D0 C00C 0x01D0 D00C LCR Line Control Register
0x01C4 2010 0x01D0 C010 0x01D0 D010 MCR Modem Control Register
0x01C4 2014 0x01D0 C014 0x01D0 D014 LSR Line Status Register
0x01C4 2018 0x01D0 C018 0x01D0 D018 MSR Modem Status Register
0x01C4 201C 0x01D0 C01C 0x01D0 D01C SCR Scratchpad Register
0x01C4 2020 0x01D0 C020 0x01D0 D020 DLL Divisor LSB Latch
0x01C4 2024 0x01D0 C024 0x01D0 D024 DLH Divisor MSB Latch
0x01C4 2028 0x01D0 C028 0x01D0 D028 REVID1 Revision Identification Register 1
0x01C4 2030 0x01D0 C030 0x01D0 D030 PWREMU_MGMT Power and Emulation Management Register
0x01C4 2034 0x01D0 C034 0x01D0 D034 MDR Mode Definition Register

UART Electrical Data/Timing

Table 6-83 Timing Requirements for UARTx Receive(1) (see Figure 6-47)

No. PARAMETER MIN MAX UNIT
4 tw(URXDB) Pulse duration, receive data bit (RXDn) 0.96U 1.05U ns
5 tw(URXSB) Pulse duration, receive start bit 0.96U 1.05U ns
U = UART baud time = 1/programmed baud rate.

Table 6-84 Switching Characteristics Over Recommended Operating Conditions for UARTx Transmit(1)
(see Figure 6-47)

No. PARAMETER MIN MAX UNIT
1 f(baud) Maximum programmable baud rate D/E (2) (3) MBaud(4)
2 tw(UTXDB) Pulse duration, transmit data bit (TXDn) U - 2 U + 2 ns
3 tw(UTXSB) Pulse duration, transmit start bit U - 2 U + 2 ns
U = UART baud time = 1/programmed baud rate.
D = UART input clock in MHz. The UART(s) input clock source is PLL0_SYSCLK2.
E = UART divisor x UART sampling rate. The UART divisor is set through the UART divisor latch registers (DLL and DLH). The UART sampling rate is set through the over-sampling mode select bit (OSM_SEL) of the UART mode definition register (MDR).
Baud rate is not indicative of data rate. Actual data rate will be limited by system factors such as EDMA loading, EMIF loading, system frequency, etc.
AM1705 td_uart_prs271.gif Figure 6-47 UART Transmit/Receive Timing

USB0 OTG (USB2.0 OTG)

The device USB2.0 peripheral supports the following features:

  • USB 2.0 peripheral at full-speed (FS: 12 Mb/s)
  • USB 2.0 host at speeds FS, and low speed (LS: 1.5 Mb/s)
  • All transfer modes (control, bulk, interrupt, and isochronous)
  • 4 Transmit (TX) and 4 Receive (RX) endpoints in addition to endpoint 0
  • FIFO RAM
    • 4K endpoint
    • Programmable size
  • Integrated USB 2.0 PHY
  • Connects to a standard Charge Pump for VBUS 5 V generation
  • RNDIS mode for accelerating RNDIS type protocols using short packet termination over USB

Important Notice: On the original device pinout (marked "A" in the lower right corner of the package), pins USB0_VSSA33 (H4) and USB0_VSSA (F3) were connected to ground outside the package. For more robust ESD performance, the USB0 ground references are now connected inside the package on packages marked "B" and the package pins are unconnected. This change will require that any external filter circuits previously referenced to ground at these pins will need to reference the board ground instead.

Important Notice: The USB0 controller module clock (PLL0_SYSCLK2) must be greater than 30 MHz for proper operation of the USB controller. A clock rate of 60 MHz or greater is recommended to avoid da`ta throughput reduction.

Table 6-85 is the list of USB OTG registers.

Table 6-85 Universal Serial Bus OTG (USB0) Registers

BYTE ADDRESS ACRONYM REGISTER DESCRIPTION
0x01E0 0000 REVID Revision Register
0x01E0 0004 CTRLR Control Register
0x01E0 0008 STATR Status Register
0x01E0 000C EMUR Emulation Register
0x01E0 0010 MODE Mode Register
0x01E0 0014 AUTOREQ Autorequest Register
0x01E0 0018 SRPFIXTIME SRP Fix Time Register
0x01E0 001C TEARDOWN Teardown Register
0x01E0 0020 INTSRCR USB Interrupt Source Register
0x01E0 0024 INTSETR USB Interrupt Source Set Register
0x01E0 0028 INTCLRR USB Interrupt Source Clear Register
0x01E0 002C INTMSKR USB Interrupt Mask Register
0x01E0 0030 INTMSKSETR USB Interrupt Mask Set Register
0x01E0 0034 INTMSKCLRR USB Interrupt Mask Clear Register
0x01E0 0038 INTMASKEDR USB Interrupt Source Masked Register
0x01E0 003C EOIR USB End of Interrupt Register
0x01E0 0040 - Reserved
0x01E0 0050 GENRNDISSZ1 Generic RNDIS Size EP1
0x01E0 0054 GENRNDISSZ2 Generic RNDIS Size EP2
0x01E0 0058 GENRNDISSZ3 Generic RNDIS Size EP3
0x01E0 005C GENRNDISSZ4 Generic RNDIS Size EP4
0x01E0 0400 FADDR Function Address Register
0x01E0 0401 POWER Power Management Register
0x01E0 0402 INTRTX Interrupt Register for Endpoint 0 plus Transmit Endpoints 1 to 4
0x01E0 0404 INTRRX Interrupt Register for Receive Endpoints 1 to 4
0x01E0 0406 INTRTXE Interrupt Enable Register for INTRTX
0x01E0 0408 INTRRXE Interrupt Enable Register for INTRRX
0x01E0 040A INTRUSB Interrupt Register for Common USB Interrupts
0x01E0 040B INTRUSBE Interrupt Enable Register for INTRUSB
0x01E0 040C FRAME Frame Number Register
0x01E0 040E INDEX Index Register for Selecting the Endpoint Status and Control Registers
0x01E0 040F TESTMODE Register to Enable the USB 2.0 Test Modes
INDEXED REGISTERS
These registers operate on the endpoint selected by the INDEX register
0x01E0 0410 TXMAXP Maximum Packet Size for Peripheral/Host Transmit Endpoint
(Index register set to select Endpoints 1-4 only)
0x01E0 0412 PERI_CSR0 Control Status Register for Endpoint 0 in Peripheral Mode.
(Index register set to select Endpoint 0)
HOST_CSR0 Control Status Register for Endpoint 0 in Host Mode.
(Index register set to select Endpoint 0)
PERI_TXCSR Control Status Register for Peripheral Transmit Endpoint.
(Index register set to select Endpoints 1-4)
HOST_TXCSR Control Status Register for Host Transmit Endpoint.
(Index register set to select Endpoints 1-4)
0x01E0 0414 RXMAXP Maximum Packet Size for Peripheral/Host Receive Endpoint
(Index register set to select Endpoints 1-4 only)
0x01E0 0416 PERI_RXCSR Control Status Register for Peripheral Receive Endpoint.
(Index register set to select Endpoints 1-4)
HOST_RXCSR Control Status Register for Host Receive Endpoint.
(Index register set to select Endpoints 1-4)
0x01E0 0418 COUNT0 Number of Received Bytes in Endpoint 0 FIFO.
(Index register set to select Endpoint 0)
RXCOUNT Number of Bytes in Host Receive Endpoint FIFO.
(Index register set to select Endpoints 1- 4)
0x01E0 041A HOST_TYPE0 Defines the speed of Endpoint 0
HOST_TXTYPE Sets the operating speed, transaction protocol and peripheral endpoint number for the host Transmit endpoint.
(Index register set to select Endpoints 1-4 only)
0x01E0 041B HOST_NAKLIMIT0 Sets the NAK response timeout on Endpoint 0.
(Index register set to select Endpoint 0)
HOST_TXINTERVAL Sets the polling interval for Interrupt/ISOC transactions or the NAK response timeout on Bulk transactions for host Transmit endpoint. (Index register set to select Endpoints 1-4 only)
0x01E0 041C HOST_RXTYPE Sets the operating speed, transaction protocol and peripheral endpoint number for the host Receive endpoint.
(Index register set to select Endpoints 1-4 only)
0x01E0 041D HOST_RXINTERVAL Sets the polling interval for Interrupt/ISOC transactions or the NAK response timeout on Bulk transactions for host Receive endpoint. (Index register set to select Endpoints 1-4 only)
0x01E0 041F CONFIGDATA Returns details of core configuration.
(Index register set to select Endpoint 0)
FIFO
0x01E0 0420 FIFO0 Transmit and Receive FIFO Register for Endpoint 0
0x01E0 0424 FIFO1 Transmit and Receive FIFO Register for Endpoint 1
0x01E0 0428 FIFO2 Transmit and Receive FIFO Register for Endpoint 2
0x01E0 042C FIFO3 Transmit and Receive FIFO Register for Endpoint 3
0x01E0 0430 FIFO4 Transmit and Receive FIFO Register for Endpoint 4
OTG DEVICE CONTROL
0x01E0 0460 DEVCTL Device Control Register
DYNAMIC FIFO CONTROL
0x01E0 0462 TXFIFOSZ Transmit Endpoint FIFO Size
(Index register set to select Endpoints 1-4 only)
0x01E0 0463 RXFIFOSZ Receive Endpoint FIFO Size
(Index register set to select Endpoints 1-4 only)
0x01E0 0464 TXFIFOADDR Transmit Endpoint FIFO Address
(Index register set to select Endpoints 1-4 only)
0x01E0 0466 RXFIFOADDR Receive Endpoint FIFO Address
(Index register set to select Endpoints 1-4 only)
0x01E0 046C HWVERS Hardware Version Register
TARGET ENDPOINT 0 CONTROL REGISTERS, VALID ONLY IN HOST MODE
0x01E0 0480 TXFUNCADDR Address of the target function that has to be accessed through the associated Transmit Endpoint.
0x01E0 0482 TXHUBADDR Address of the hub that has to be accessed through the associated Transmit Endpoint. This is used only when full speed or low speed device is connected via a USB2.0 high-speed hub.
0x01E0 0483 TXHUBPORT Port of the hub that has to be accessed through the associated Transmit Endpoint. This is used only when full speed or low speed device is connected via a USB2.0 high-speed hub.
0x01E0 0484 RXFUNCADDR Address of the target function that has to be accessed through the associated Receive Endpoint.
0x01E0 0486 RXHUBADDR Address of the hub that has to be accessed through the associated Receive Endpoint. This is used only when full speed or low speed device is connected via a USB2.0 high-speed hub.
0x01E0 0487 RXHUBPORT Port of the hub that has to be accessed through the associated Receive Endpoint. This is used only when full speed or low speed device is connected via a USB2.0 high-speed hub.
TARGET ENDPOINT 1 CONTROL REGISTERS, VALID ONLY IN HOST MODE
0x01E0 0488 TXFUNCADDR Address of the target function that has to be accessed through the associated Transmit Endpoint.
0x01E0 048A TXHUBADDR Address of the hub that has to be accessed through the associated Transmit Endpoint. This is used only when full speed or low speed device is connected via a USB2.0 high-speed hub.
0x01E0 048B TXHUBPORT Port of the hub that has to be accessed through the associated Transmit Endpoint. This is used only when full speed or low speed device is connected via a USB2.0 high-speed hub.
0x01E0 048C RXFUNCADDR Address of the target function that has to be accessed through the associated Receive Endpoint.
0x01E0 048E RXHUBADDR Address of the hub that has to be accessed through the associated Receive Endpoint. This is used only when full speed or low speed device is connected via a USB2.0 high-speed hub.
0x01E0 048F RXHUBPORT Port of the hub that has to be accessed through the associated Receive Endpoint. This is used only when full speed or low speed device is connected via a USB2.0 high-speed hub.
TARGET ENDPOINT 2 CONTROL REGISTERS, VALID ONLY IN HOST MODE
0x01E0 0490 TXFUNCADDR Address of the target function that has to be accessed through the associated Transmit Endpoint.
0x01E0 0492 TXHUBADDR Address of the hub that has to be accessed through the associated Transmit Endpoint. This is used only when full speed or low speed device is connected via a USB2.0 high-speed hub.
0x01E0 0493 TXHUBPORT Port of the hub that has to be accessed through the associated Transmit Endpoint. This is used only when full speed or low speed device is connected via a USB2.0 high-speed hub.
0x01E0 0494 RXFUNCADDR Address of the target function that has to be accessed through the associated Receive Endpoint.
0x01E0 0496 RXHUBADDR Address of the hub that has to be accessed through the associated Receive Endpoint. This is used only when full speed or low speed device is connected via a USB2.0 high-speed hub.
0x01E0 0497 RXHUBPORT Port of the hub that has to be accessed through the associated Receive Endpoint. This is used only when full speed or low speed device is connected via a USB2.0 high-speed hub.
TARGET ENDPOINT 3 CONTROL REGISTERS, VALID ONLY IN HOST MODE
0x01E0 0498 TXFUNCADDR Address of the target function that has to be accessed through the associated Transmit Endpoint.
0x01E0 049A TXHUBADDR Address of the hub that has to be accessed through the associated Transmit Endpoint. This is used only when full speed or low speed device is connected via a USB2.0 high-speed hub.
0x01E0 049B TXHUBPORT Port of the hub that has to be accessed through the associated Transmit Endpoint. This is used only when full speed or low speed device is connected via a USB2.0 high-speed hub.
0x01E0 049C RXFUNCADDR Address of the target function that has to be accessed through the associated Receive Endpoint.
0x01E0 049E RXHUBADDR Address of the hub that has to be accessed through the associated Receive Endpoint. This is used only when full speed or low speed device is connected via a USB2.0 high-speed hub.
0x01E0 049F RXHUBPORT Port of the hub that has to be accessed through the associated Receive Endpoint. This is used only when full speed or low speed device is connected via a USB2.0 high-speed hub.
TARGET ENDPOINT 4 CONTROL REGISTERS, VALID ONLY IN HOST MODE
0x01E0 04A0 TXFUNCADDR Address of the target function that has to be accessed through the associated Transmit Endpoint.
0x01E0 04A2 TXHUBADDR Address of the hub that has to be accessed through the associated Transmit Endpoint. This is used only when full speed or low speed device is connected via a USB2.0 high-speed hub.
0x01E0 04A3 TXHUBPORT Port of the hub that has to be accessed through the associated Transmit Endpoint. This is used only when full speed or low speed device is connected via a USB2.0 high-speed hub.
0x01E0 04A4 RXFUNCADDR Address of the target function that has to be accessed through the associated Receive Endpoint.
0x01E0 04A6 RXHUBADDR Address of the hub that has to be accessed through the associated Receive Endpoint. This is used only when full speed or low speed device is connected via a USB2.0 high-speed hub.
0x01E0 04A7 RXHUBPORT Port of the hub that has to be accessed through the associated Receive Endpoint. This is used only when full speed or low speed device is connected via a USB2.0 high-speed hub.
CONTROL AND STATUS REGISTER FOR ENDPOINT 0
0x01E0 0502 PERI_CSR0 Control Status Register for Endpoint 0 in Peripheral Mode
HOST_CSR0 Control Status Register for Endpoint 0 in Host Mode
0x01E0 0508 COUNT0 Number of Received Bytes in Endpoint 0 FIFO
0x01E0 050A HOST_TYPE0 Defines the Speed of Endpoint 0
0x01E0 050B HOST_NAKLIMIT0 Sets the NAK Response Timeout on Endpoint 0
0x01E0 050F CONFIGDATA Returns details of core configuration.
CONTROL AND STATUS REGISTER FOR ENDPOINT 1
0x01E0 0510 TXMAXP Maximum Packet Size for Peripheral/Host Transmit Endpoint
0x01E0 0512 PERI_TXCSR Control Status Register for Peripheral Transmit Endpoint
(peripheral mode)
HOST_TXCSR Control Status Register for Host Transmit Endpoint
(host mode)
0x01E0 0514 RXMAXP Maximum Packet Size for Peripheral/Host Receive Endpoint
0x01E0 0516 PERI_RXCSR Control Status Register for Peripheral Receive Endpoint
(peripheral mode)
HOST_RXCSR Control Status Register for Host Receive Endpoint
(host mode)
0x01E0 0518 RXCOUNT Number of Bytes in Host Receive endpoint FIFO
0x01E0 051A HOST_TXTYPE Sets the operating speed, transaction protocol and peripheral endpoint number for the host Transmit endpoint.
0x01E0 051B HOST_TXINTERVAL Sets the polling interval for Interrupt/ISOC transactions or the NAK response timeout on Bulk transactions for host Transmit endpoint.
0x01E0 051C HOST_RXTYPE Sets the operating speed, transaction protocol and peripheral endpoint number for the host Receive endpoint.
0x01E0 051D HOST_RXINTERVAL Sets the polling interval for Interrupt/ISOC transactions or the NAK response timeout on Bulk transactions for host Receive endpoint.
CONTROL AND STATUS REGISTER FOR ENDPOINT 2
0x01E0 0520 TXMAXP Maximum Packet Size for Peripheral/Host Transmit Endpoint
0x01E0 0522 PERI_TXCSR Control Status Register for Peripheral Transmit Endpoint
(peripheral mode)
HOST_TXCSR Control Status Register for Host Transmit Endpoint
(host mode)
0x01E0 0524 RXMAXP Maximum Packet Size for Peripheral/Host Receive Endpoint
0x01E0 0526 PERI_RXCSR Control Status Register for Peripheral Receive Endpoint
(peripheral mode)
HOST_RXCSR Control Status Register for Host Receive Endpoint
(host mode)
0x01E0 0528 RXCOUNT Number of Bytes in Host Receive endpoint FIFO
0x01E0 052A HOST_TXTYPE Sets the operating speed, transaction protocol and peripheral endpoint number for the host Transmit endpoint.
0x01E0 052B HOST_TXINTERVAL Sets the polling interval for Interrupt/ISOC transactions or the NAK response timeout on Bulk transactions for host Transmit endpoint.
0x01E0 052C HOST_RXTYPE Sets the operating speed, transaction protocol and peripheral endpoint number for the host Receive endpoint.
0x01E0 052D HOST_RXINTERVAL Sets the polling interval for Interrupt/ISOC transactions or the NAK response timeout on Bulk transactions for host Receive endpoint.
CONTROL AND STATUS REGISTER FOR ENDPOINT 3
0x01E0 0530 TXMAXP Maximum Packet Size for Peripheral/Host Transmit Endpoint
0x01E0 0532 PERI_TXCSR Control Status Register for Peripheral Transmit Endpoint
(peripheral mode)
HOST_TXCSR Control Status Register for Host Transmit Endpoint
(host mode)
0x01E0 0534 RXMAXP Maximum Packet Size for Peripheral/Host Receive Endpoint
0x01E0 0536 PERI_RXCSR Control Status Register for Peripheral Receive Endpoint
(peripheral mode)
HOST_RXCSR Control Status Register for Host Receive Endpoint
(host mode)
0x01E0 0538 RXCOUNT Number of Bytes in Host Receive endpoint FIFO
0x01E0 053A HOST_TXTYPE Sets the operating speed, transaction protocol and peripheral endpoint number for the host Transmit endpoint.
0x01E0 053B HOST_TXINTERVAL Sets the polling interval for Interrupt/ISOC transactions or the NAK response timeout on Bulk transactions for host Transmit endpoint.
0x01E0 053C HOST_RXTYPE Sets the operating speed, transaction protocol and peripheral endpoint number for the host Receive endpoint.
0x01E0 053D HOST_RXINTERVAL Sets the polling interval for Interrupt/ISOC transactions or the NAK response timeout on Bulk transactions for host Receive endpoint.
CONTROL AND STATUS REGISTER FOR ENDPOINT 4
0x01E0 0540 TXMAXP Maximum Packet Size for Peripheral/Host Transmit Endpoint
0x01E0 0542 PERI_TXCSR Control Status Register for Peripheral Transmit Endpoint
(peripheral mode)
HOST_TXCSR Control Status Register for Host Transmit Endpoint
(host mode)
0x01E0 0544 RXMAXP Maximum Packet Size for Peripheral/Host Receive Endpoint
0x01E0 0546 PERI_RXCSR Control Status Register for Peripheral Receive Endpoint
(peripheral mode)
HOST_RXCSR Control Status Register for Host Receive Endpoint
(host mode)
0x01E0 0548 RXCOUNT Number of Bytes in Host Receive endpoint FIFO
0x01E0 054A HOST_TXTYPE Sets the operating speed, transaction protocol and peripheral endpoint number for the host Transmit endpoint.
0x01E0 054B HOST_TXINTERVAL Sets the polling interval for Interrupt/ISOC transactions or the NAK response timeout on Bulk transactions for host Transmit endpoint.
0x01E0 054C HOST_RXTYPE Sets the operating speed, transaction protocol and peripheral endpoint number for the host Receive endpoint.
0x01E0 054D HOST_RXINTERVAL Sets the polling interval for Interrupt/ISOC transactions or the NAK response timeout on Bulk transactions for host Receive endpoint.
DMA REGISTERS
0x01E0 1000 DMAREVID DMA Revision Register
0x01E0 1004 TDFDQ DMA Teardown Free Descriptor Queue Control Register
0x01E0 1008 DMAEMU DMA Emulation Control Register
0x01E0 1800 TXGCR[0] Transmit Channel 0 Global Configuration Register
0x01E0 1808 RXGCR[0] Receive Channel 0 Global Configuration Register
0x01E0 180C RXHPCRA[0] Receive Channel 0 Host Packet Configuration Register A
0x01E0 1810 RXHPCRB[0] Receive Channel 0 Host Packet Configuration Register B
0x01E0 1820 TXGCR[1] Transmit Channel 1 Global Configuration Register
0x01E0 1828 RXGCR[1] Receive Channel 1 Global Configuration Register
0x01E0 182C RXHPCRA[1] Receive Channel 1 Host Packet Configuration Register A
0x01E0 1830 RXHPCRB[1] Receive Channel 1 Host Packet Configuration Register B
0x01E0 1840 TXGCR[2] Transmit Channel 2 Global Configuration Register
0x01E0 1848 RXGCR[2] Receive Channel 2 Global Configuration Register
0x01E0 184C RXHPCRA[2] Receive Channel 2 Host Packet Configuration Register A
0x01E0 1850 RXHPCRB[2] Receive Channel 2 Host Packet Configuration Register B
0x01E0 1860 TXGCR[3] Transmit Channel 3 Global Configuration Register
0x01E0 1868 RXGCR[3] Receive Channel 3 Global Configuration Register
0x01E0 186C RXHPCRA[3] Receive Channel 3 Host Packet Configuration Register A
0x01E0 1870 RXHPCRB[3] Receive Channel 3 Host Packet Configuration Register B
0x01E0 2000 DMA_SCHED_CTRL DMA Scheduler Control Register
0x01E0 2800 WORD[0] DMA Scheduler Table Word 0
0x01E0 2804 WORD[1] DMA Scheduler Table Word 1
. . . . . . . . .
0x01E0 28FC WORD[63] DMA Scheduler Table Word 63
QUEUE MANAGER REGISTERS
0x01E0 4000 QMGRREVID Queue Manager Revision Register
0x01E0 4008 DIVERSION Queue Diversion Register
0x01E0 4020 FDBSC0 Free Descriptor/Buffer Starvation Count Register 0
0x01E0 4024 FDBSC1 Free Descriptor/Buffer Starvation Count Register 1
0x01E0 4028 FDBSC2 Free Descriptor/Buffer Starvation Count Register 2
0x01E0 402C FDBSC3 Free Descriptor/Buffer Starvation Count Register 3
0x01E0 4080 LRAM0BASE Linking RAM Region 0 Base Address Register
0x01E0 4084 LRAM0SIZE Linking RAM Region 0 Size Register
0x01E0 4088 LRAM1BASE Linking RAM Region 1 Base Address Register
0x01E0 4090 PEND0 Queue Pending Register 0
0x01E0 4094 PEND1 Queue Pending Register 1
0x01E0 5000 QMEMRBASE[0] Memory Region 0 Base Address Register
0x01E0 5004 QMEMRCTRL[0] Memory Region 0 Control Register
0x01E0 5010 QMEMRBASE[1] Memory Region 1 Base Address Register
0x01E0 5014 QMEMRCTRL[1] Memory Region 1 Control Register
. . . . . . . . .
0x01E0 50F0 QMEMRBASE[15] Memory Region 15 Base Address Register
0x01E0 50F4 QMEMRCTRL[15] Memory Region 15 Control Register
0x01E0 600C CTRLD[0] Queue Manager Queue 0 Control Register D
0x01E0 601C CTRLD[1] Queue Manager Queue 1 Control Register D
. . . . . . . . .
0x01E0 63FC CTRLD[63] Queue Manager Queue 63 Status Register D
0x01E0 6800 QSTATA[0] Queue Manager Queue 0 Status Register A
0x01E0 6804 QSTATB[0] Queue Manager Queue 0 Status Register B
0x01E0 6808 QSTATC[0] Queue Manager Queue 0 Status Register C
0x01E0 6810 QSTATA[1] Queue Manager Queue 1 Status Register A
0x01E0 6814 QSTATB[1] Queue Manager Queue 1 Status Register B
0x01E0 6818 QSTATC[1] Queue Manager Queue 1 Status Register C
. . . . . . . . .
0x01E0 6BF0 QSTATA[63] Queue Manager Queue 63 Status Register A
0x01E0 6BF4 QSTATB[63] Queue Manager Queue 63 Status Register B
0x01E0 6BF8 QSTATC[63] Queue Manager Queue 63 Status Register C

USB2.0 (USB0) Electrical Data/Timing

The USB PHY PLL can support input clock of the following frequencies: 12.0 MHz, 13.0 MHz, 19.2 MHz, 20.0 MHz, 24.0 MHz, 26.0 MHz, 38.4 MHz, 40.0 MHz or 48.0 MHz. USB_REFCLKIN jitter tolerance is 50 ppm maximum.

Table 6-86 Switching Characteristics Over Recommended Operating Conditions for USB2.0 [USB0] (see Figure 6-48)

No. PARAMETER LOW SPEED
1.5 Mbps
FULL SPEED
12 Mbps
UNIT
MIN MAX MIN MAX
1 tr(D) Rise time, USB0_DP and USB0_DM signals(1) 75 300 4 20 ns
2 tf(D) Fall time, USB0_DP and USB0_DM signals(1) 75 300 4 20 ns
3 trfM Rise/Fall time, matching(2) 80 120 90 111 %
4 VCRS Output signal cross-over voltage(1) 1.3 2 1.3 2 V
5 tjr(source)NT Source (Host) Driver jitter, next transition 2 2 ns
tjr(FUNC)NT Function Driver jitter, next transition 25 2 ns
6 tjr(source)PT Source (Host) Driver jitter, paired transition(3) 1 1 ns
tjr(FUNC)PT Function Driver jitter, paired transition 10 1 ns
7 tw(EOPT) Pulse duration, EOP transmitter (4) 1250 1500 160 175 ns
8 tw(EOPR) Pulse duration, EOP receiver (4) 670 82 ns
9 t(DRATE) Data Rate 1.5 12 Mb/s
10 ZDRV Driver Output Resistance 40.5 49.5 Ω
11 ZINP Receiver Input Impedance 100k 100k Ω
Low Speed: CL = 200 pF, Full Speed: CL = 50 pF
tRFM = (tr/tf) x 100. [Excluding the first transaction from the Idle state.]
tjr = tpx(1) - tpx(0)
Must accept as valid EOP
AM1705 td_usbxrcv_563.gif Figure 6-48 USB0 Integrated Transceiver Interface Timing

USB0 Unused Signal Configuration

If USB0 is unused, then the USB0 signals should be configured as shown in Section 3.6.19.

Power and Sleep Controller (PSC)

The Power and Sleep Controllers (PSC) are responsible for managing transitions of system power on/off, clock on/off, resets (device level and module level). It is used primarily to provide granular power control for on chip modules (peripherals and CPU). A PSC module consists of a Global PSC (GPSC) and a set of Local PSCs (LPSCs). The GPSC contains memory mapped registers, PSC interrupts, a state machine for each peripheral/module it controls. An LPSC is associated with every module that is controlled by the PSC and provides clock and reset control.

The PSC includes the following features:

  • Provides a software interface to:
    • Control module clock enable/disable
    • Control module reset
    • Control CPU local reset
  • Supports ICEPick TAP Router power, clock and reset features. For details on ICEPick features see http://tiexpressdsp.com/wiki/index.php?title=ICEPick.

Table 6-87 Power and Sleep Controller (PSC) Registers

PSC0
BYTE ADDRESS
PSC1
BYTE ADDRESS
ACRONYM DESCRIPTION
0x01C1 0000 0x01E2 7000 REVID Peripheral Revision and Class Information Register
0x01C1 0018 0x01E2 7018 INTEVAL Interrupt Evaluation Register
0x01C1 0040 0x01E2 7040 MERRPR0 Module Error Pending Register 0 (module 0-15) (PSC0)
Module Error Pending Register 0 (module 0-31) (PSC1)
0x01C1 0050 0x01E2 7050 MERRCR0 Module Error Clear Register 0 (module 0-15) (PSC0)
Module Error Clear Register 0 (module 0-31) (PSC1)
0x01C1 0060 0x01E2 7060 PERRPR Power Error Pending Register
0x01C1 0068 0x01E2 7068 PERRCR Power Error Clear Register
0x01C1 0120 0x01E2 7120 PTCMD Power Domain Transition Command Register
0x01C1 0128 0x01E2 7128 PTSTAT Power Domain Transition Status Register
0x01C1 0200 0x01E2 7200 PDSTAT0 Power Domain 0 Status Register
0x01C1 0204 0x01E2 7204 PDSTAT1 Power Domain 1 Status Register
0x01C1 0300 0x01E2 7300 PDCTL0 Power Domain 0 Control Register
0x01C1 0304 0x01E2 7304 PDCTL1 Power Domain 1 Control Register
0x01C1 0400 0x01E2 7400 PDCFG0 Power Domain 0 Configuration Register
0x01C1 0404 0x01E2 7404 PDCFG1 Power Domain 1 Configuration Register
0x01C1 0800-
0x01C1 083C
0x01E2 7800-
0x01E2 787C
MDSTAT0-MDSTAT15 Module Status n Register (modules 0-15) (PSC0)
MDSTAT0-MDSTAT31 Module Status n Register (modules 0-31) (PSC1)
0x01C1 0A00-
0x01C1 0A3C
0x01E2 7A00-
0x01E2 7A7C
MDCTL0-MDCTL15 Module Control n Register (modules 0-15) (PSC0)
MDCTL0-MDCTL31 Module Control n Register (modules 0-31) (PSC1)

Power Domain and Module Topology

The device includes two PSC modules.

Each PSC module controls clock states for several of the on chip modules, controllers and interconnect components. Table 6-88 and Table 6-89 lists the set of peripherals/modules that are controlled by the PSC, the power domain they are associated with, the LPSC assignment and the default (power-on reset) module states. See the device-specific data manual for the peripherals available on a given device. The module states and terminology are defined in Section 6.25.1.2.

Table 6-88 PSC0 Default Module Configuration

LPSC Number Module Name Power Domain Default Module State Auto Sleep/Wake Only
0 EDMA3 Channel Controller AlwaysON (PD0) SwRstDisable
1 EDMA3 Transfer Controller 0 AlwaysON (PD0) SwRstDisable
2 EDMA3 Transfer Controller 1 AlwaysON (PD0) SwRstDisable
3 EMIFA (BR7) AlwaysON (PD0) SwRstDisable
4 SPI 0 AlwaysON (PD0) SwRstDisable
5 MMC/SD 0 AlwaysON (PD0) SwRstDisable
6 ARM Interrupt Controller AlwaysON (PD0) SwRstDisable
7 ARM RAM/ROM AlwaysON (PD0) Enable Yes
8 - - - -
9 UART 0 AlwaysON (PD0) SwRstDisable
10 SCR0 (Br 0, Br 1, Br 2, Br 8) AlwaysON (PD0) Enable Yes
11 SCR1 (Br 4) AlwaysON (PD0) Enable Yes
12 SCR2 (Br 3, Br 5, Br 6) AlwaysON (PD0) Enable Yes
13 PRUSS AlwaysON (PD0) SwRstDisable
14 ARM AlwaysON (PD0) SwRstDisable
15 - - -

Table 6-89 PSC1 Default Module Configuration

LPSC Number Module Name Power Domain Default Module State Auto Sleep/Wake Only
0 Not Used
1 USB0 (USB2.0) AlwaysON (PD0) SwRstDisable
2 Not Used
3 GPIO AlwaysON (PD0) SwRstDisable
4 Not Used
5 EMAC AlwaysON (PD0) SwRstDisable
6 EMIFB (Br 20) AlwaysON (PD0) SwRstDisable
7 McASP0 ( + McASP0 FIFO) AlwaysON (PD0) SwRstDisable
8 McASP1 ( + McASP1 FIFO) AlwaysON (PD0) SwRstDisable
9 Not Used
10 SPI 1 AlwaysON (PD0) SwRstDisable
11 I2C 1 AlwaysON (PD0) SwRstDisable
12 UART 1 AlwaysON (PD0) SwRstDisable
13 UART 2 AlwaysON (PD0) SwRstDisable
14-15 Not Used
16 Not Used
17 eHRPWM0/1/2 AlwaysON (PD0) SwRstDisable
18-19 Not Used
20 ECAP0/1/2 AlwaysON (PD0) SwRstDisable
21 EQEP0/1 AlwaysON (PD0) SwRstDisable
22-23 Not Used
24 SCR8 (Br 15) AlwaysON (PD0) Enable Yes
25 SCR7 (Br 12) AlwaysON (PD0) Enable Yes
26 SCR12 (Br 18) AlwaysON (PD0) Enable Yes
27-30 Not Used
31 On-chip RAM (Br 13) PD_SHRAM Enable Yes

Power Domain States

A power domain can only be in one of the two states: ON or OFF, defined as follows:

  • ON: power to the domain is on
  • OFF: power to the domain is off

In the device, for both PSC0 and PSC1, the Always ON domain, or PD0 power domain, is always in the ON state when the chip is powered-on. This domain is not programmable to OFF state.

  • On PSC1 PD1/PD_SHRAM Domain: Controls the sleep state for the 128K Shared RAM

Module States

The PSC defines several possible states for a module. This states are essentially a combination of the module reset asserted or de-asserted and module clock on/enabled or off/disabled. The module states are defined in Table 6-90.

Table 6-90 Module States

Module State Module Reset Module Clock Module State Definition
Enable De-asserted On A module in the enable state has its module reset de-asserted and it has its clock on. This is the normal operational state for a given module
Disable De-asserted Off A module in the disabled state has its module reset de-asserted and it has its module clock off. This state is typically used for disabling a module clock to save power. The device is designed in full static CMOS, so when you stop a module clock, it retains the module’s state. When the clock is restarted, the module resumes operating from the stopping point.
SyncReset Asserted On A module state in the SyncReset state has its module reset asserted and it has its clock on. Generally, software is not expected to initiate this state
SwRstDisable Asserted Off A module in the SwResetDisable state has its module reset asserted and it has its clock disabled. After initial power-on, several modules come up in the SwRstDisable state. Generally, software is not expected to initiate this state
Auto Sleep De-asserted Off A module in the Auto Sleep state also has its module reset de-asserted and its module clock disabled, similar to the Disable state. However this is a special state, once a module is configured in this state by software, it can “automatically” transition to “Enable” state whenever there is an internal read/write request made to it, and after servicing the request it will “automatically” transition into the sleep state (with module reset re de-asserted and module clock disabled), without any software intervention. The transition from sleep to enabled and back to sleep state has some cycle latency associated with it. It is not envisioned to use this mode when peripherals are fully operational and moving data.
Auto Wake De-asserted Off A module in the Auto Wake state also has its module reset de-asserted and its module clock disabled, similar to the Disable state. However this is a special state, once a module is configured in this state by software, it will “automatically” transition to “Enable” state whenever there is an internal read/write request made to it, and will remain in the “Enabled” state from then on (with module reset re de-asserted and module clock on), without any software intervention. The transition from sleep to enabled state has some cycle latency associated with it. It is not envisioned to use this mode when peripherals are fully operational and moving data.

Programmable Real-Time Unit Subsystem (PRUSS)

The Programmable Real-Time Unit Subsystem (PRUSS) consists of

  • Two Programmable Real-Time Units (PRU0 and PRU1) and their associated memories
  • An Interrupt Controller (INTC) for handling system interrupt events. The INTC also supports posting events back to the device level host CPU.
  • A Switched Central Resource (SCR) for connecting the various internal and external masters to the resources inside the PRUSS.

The two PRUs can operate completely independently or in coordination with each other. The PRUs can also work in coordination with the device level host CPU. This is determined by the nature of the program which is loaded into the PRUs instruction memory. Several different signaling mechanisms are available between the two PRUs and the device level host CPU.

The PRUs are optimized for performing embedded tasks that require manipulation of packed memory mapped data structures, handling of system events that have tight realtime constraints and interfacing with systems external to the device.

The PRUSS comprises various distinct addressable regions. Externally the subsystem presents a single 64Kbyte range of addresses. The internal interconnect bus (also called switched central resource, or SCR) of the PRUSS decodes accesses for each of the individual regions. The PRUSS memory map is documented in Table 6-91 and in Table 6-92. Note that these two memory maps are implemented inside the PRUSS and are local to the components of the PRUSS.

Table 6-91 Programmable Real-Time Unit Subsystem (PRUSS) Local Instruction Space Memory Map

BYTE ADDRESS PRU0 PRU1
0x0000 0000 - 0x0000 0FFF PRU0 Instruction RAM PRU1 Instruction RAM

Table 6-92 Programmable Real-Time Unit Subsystem (PRUSS) Local Data Space Memory Map

BYTE ADDRESS PRU0 PRU1
0x0000 0000 - 0x0000 01FF Data RAM 0 (1) Data RAM 1 (1)
0x0000 0200 - 0x0000 1FFF Reserved Reserved
0x0000 2000 - 0x0000 21FF Data RAM 1 (1) Data RAM 0 (1)
0x0000 2200 - 0x0000 3FFF Reserved Reserved
0x0000 4000 - 0x0000 6FFF INTC Registers INTC Registers
0x0000 7000 - 0x0000 73FF PRU0 Control Registers PRU0 Control Registers
0x0000 7400 - 0x0000 77FF Reserved Reserved
0x0000 7800 - 0x0000 7BFF PRU1 Control Registers PRU1 Control Registers
0x0000 7C00 - 0xFFFF FFFF Reserved Reserved
Note that PRU0 accesses Data RAM0 at address 0x0000 0000, also PRU1 accesses Data RAM1 at address 0x0000 0000. Data RAM0 is intended to be the primary data memory for PRU0 and Data RAM1 is intended to be the primary data memory for PRU1. However for passing information between PRUs, each PRU can access the data ram of the ‘other’ PRU through address 0x0000 2000.

The global view of the PRUSS internal memories and control ports is documented in Table 6-93. The offset addresses of each region are implemented inside the PRUSS but the global device memory mapping places the PRUSS slave port in the address range 0x01C3 0000-0x01C3 FFFF. The PRU0 and PRU1 can use either the local or global addresses to access their internal memories, but using the local addresses will provide access time several cycles faster than using the global addresses. This is because when accessing via the global address the access needs to be routed through the switch fabric outside PRUSS and back in through the PRUSS slave port.

Table 6-93 Programmable Real-Time Unit Subsystem (PRUSS) Global Memory Map

BYTE ADDRESS REGION
0x01C3 0000 - 0x01C3 01FF Data RAM 0
0x01C3 0200 - 0x01C3 1FFF Reserved
0x01C3 2000 - 0x01C3 21FF Data RAM 1
0x01C3 2200 - 0x01C3 3FFF Reserved
0x01C3 4000 - 0x01C3 6FFF INTC Registers
0x01C3 7000 - 0x01C3 73FF PRU0 Control Registers
0x01C3 7400 - 0x01C3 77FF PRU0 Debug Registers
0x01C3 7800 - 0x01C3 7BFF PRU1 Control Registers
0x01C3 7C00 - 0x01C3 7FFF PRU1 Debug Registers
0x01C3 8000 - 0x01C3 8FFF PRU0 Instruction RAM
0x01C3 9000 - 0x01C3 BFFF Reserved
0x01C3 C000 - 0x01C3 CFFF PRU1 Instruction RAM
0x01C3 D000 - 0x01C3 FFFF Reserved

Each of the PRUs can access the rest of the device memory (including memory mapped peripheral and configuration registers) using the global memory space addresses.

PRUSS Register Descriptions

Table 6-94 Programmable Real-Time Unit Subsystem (PRUSS) Control / Status Registers

PRU0 BYTE ADDRESS PRU1 BYTE ADDRESS ACRONYM REGISTER DESCRIPTION
0x01C3 7000 0x01C3 7800 CONTROL PRU Control Register
0x01C3 7004 0x01C3 7804 STATUS PRU Status Register
0x01C3 7008 0x01C3 7808 WAKEUP PRU Wakeup Enable Register
0x01C3 700C 0x01C3 780C CYCLCNT PRU Cycle Count
0x01C3 7010 0x01C3 7810 STALLCNT PRU Stall Count
0x01C3 7020 0x01C3 7820 CONTABBLKIDX0 PRU Constant Table Block Index Register 0
0x01C3 7028 0x01C3 7828 CONTABPROPTR0 PRU Constant Table Programmable Pointer Register 0
0x01C3 702C 0x01C3 782C CONTABPROPTR1 PRU Constant Table Programmable Pointer Register 1
0x01C37400 - 0x01C3747C 0x01C3 7C00 - 0x01C3 7C7C INTGPR0 – INTGPR31 PRU Internal General Purpose Registers (for Debug)
0x01C37480 - 0x01C374FC 0x01C3 7C80 - 0x01C3 7CFC INTCTER0 – INTCTER31 PRU Internal Constants Table Registers (for Debug)

Table 6-95 Programmable Real-Time Unit Subsystem Interrupt Controller (PRUSS INTC) Registers

BYTE ADDRESS ACRONYM REGISTER DESCRIPTION
0x01C3 4000 REVID Revision ID Register
0x01C3 4004 CONTROL Control Register
0x01C3 4010 GLBLEN Global Enable Register
0x01C3 401C GLBLNSTLVL Global Nesting Level Register
0x01C3 4020 STATIDXSET System Interrupt Status Indexed Set Register
0x01C3 4024 STATIDXCLR System Interrupt Status Indexed Clear Register
0x01C3 4028 ENIDXSET System Interrupt Enable Indexed Set Register
0x01C3 402C ENIDXCLR System Interrupt Enable Indexed Clear Register
0x01C3 4034 HSTINTENIDXSET Host Interrupt Enable Indexed Set Register
0x01C3 4038 HSTINTENIDXCLR Host Interrupt Enable Indexed Clear Register
0x01C3 4080 GLBLPRIIDX Global Prioritized Index Register
0x01C3 4200 STATSETINT0 System Interrupt Status Raw/Set Register 0
0x01C3 4204 STATSETINT1 System Interrupt Status Raw/Set Register 1
0x01C3 4280 STATCLRINT0 System Interrupt Status Enabled/Clear Register 0
0x01C3 4284 STATCLRINT1 System Interrupt Status Enabled/Clear Register 1
0x01C3 4300 ENABLESET0 System Interrupt Enable Set Register 0
0x01C3 4304 ENABLESET1 System Interrupt Enable Set Register 1
0x01C3 4380 ENABLECLR0 System Interrupt Enable Clear Register 0
0x01C3 4384 ENABLECLR1 System Interrupt Enable Clear Register 1
0x01C3 4400 - 0x01C3 4440 CHANMAP0 - CHANMAP15 Channel Map Registers 0-15
0x01C3 4800 - 0x01C3 4808 HOSTMAP0 - HOSTMAP2 Host Map Register 0-2
0x01C3 4900 - 0x01C3 4928 HOSTINTPRIIDX0 - HOSTINTPRIIDX9 Host Interrupt Prioritized Index Registers 0-9
0x01C3 4D00 POLARITY0 System Interrupt Polarity Register 0
0x01C3 4D04 POLARITY1 System Interrupt Polarity Register 1
0x01C3 4D80 TYPE0 System Interrupt Type Register 0
0x01C3 4D84 TYPE1 System Interrupt Type Register 1
0x01C3 5100 - 0x01C3 5128 HOSTINTNSTLVL0-HOSTINTNSTLVL9 Host Interrupt Nesting Level Registers 0-9
0x01C3 5500 HOSTINTEN Host Interrupt Enable Register

Emulation Logic

This section describes the steps to use a third party debugger. The debug capabilities and features for ARM are as shown below.

For TI’s latest debug and emulation information see :

http://tiexpressdsp.com/wiki/index.php?title=Category:Emulation

ARM:

  • Basic Debug
    • Execution Control
    • System Visibility
  • Advanced Debug
    • Global Start
    • Global Stop
  • Advanced System Control
    • Subsystem reset via debug
    • Peripheral notification of debug events
    • Cache-coherent debug accesses
  • Program Trace
    • Program flow corruption
    • Code coverage
    • Path coverage
    • Thread/interrupt synchronization problems
  • Data Trace
    • Memory corruption
  • Timing Trace
    • Profiling
  • Analysis Actions
    • Stop program execution
    • Control trace streams
    • Generate debug interrupt
    • Benchmarking with counters
    • External trigger generation
    • Debug state machine state transition
    • Combinational and Sequential event generation
  • Analysis Events
    • Program event detection
    • Data event detection
    • External trigger Detection
    • System event detection (i.e. cache miss)
    • Debug state machine state detection
  • Analysis Configuration
    • Application access
    • Debugger access

Table 6-96 ARM Debug Features

Category Hardware Feature Availability
Basic Debug Software breakpoint Unlimited
Hardware breakpoint Up to 14 HWBPs, including:
2 precise(1) HWBP inside ARM core which are shared with watch points.
8 imprecise(1) HWBPs from ETM’s address comparators, which are shared with trace function, and can be used as watch point too.
4 imprecise(1) HWBPs from ICECrusher.
Analysis Watch point Up to 6 watch points, including:
2 from ARM core which is shared with HWBPs and can be associated with a data.
8 from ETM’s address comparators, which are shared with trace function, and HWBPs.
Watch point with Data 2 from ARM core which is shared with HWBPs.
8 watch points from ETM can be associated with a data comparator, and ETM has total 4 data comparators.
Counters/timers 3x32-bit (1 cycle ; 2 event)
External Event Trigger In 1
External Event Trigger Out 1
Trace Control Address range for trace 4
Data qualification for trace 2
System events for trace control 20
Counters/Timers for trace control 2x16-bit
State Machines/Sequencers 1x3-State State Machine
Context/Thread ID Comparator 1
Independent trigger control units 12
On-chip Trace Capture Capture depth PC 4k bytes ETB
Capture depth PC + Timing 4k bytes ETB
Application accessible Y
Precise hardware breakpoints will halt the processor immediately prior to the execution of the selected instruction. Imprecise breakpoints will halt the processor some number of cycles after the selected instruction depending on device conditions.

JTAG Port Description

The device target debug interface uses the five standard IEEE 1149.1(JTAG) signals (TRST, TCK, TMS, TDI, and TDO), and a return clock (RTCK) due to the clocking requirements of the ARM926EJ-S .

TRST holds the debug and boundary scan logic in reset when pulled low (its default state). Since TRST has an internal pull-down resistor, this ensures that at power up the device functions in its normal (non-test) operation mode if TRST is not connected. Otherwise, TRST should be driven inactive by the emulator or boundary scan controller. Boundary scan test cannot be performed while the TRST pin is pulled low.

Table 6-97 JTAG Port Description

PIN TYPE NAME DESCRIPTION
TRST I Test Logic Reset When asserted (active low) causes all test and debug logic in the device to be reset along with the IEEE 1149.1 interface
TCK I Test Clock This is the test clock used to drive an IEEE 1149.1 TAP state machine and logic. Depending on the emulator attached to , this is a free running clock or a gated clock depending on RTCK monitoring.
RTCK O Returned Test Clock Synchronized TCK. Depending on the emulator attached to, the JTAG signals are clocked from RTCK or RTCK is monitored by the emulator to gate TCK.
TMS I Test Mode Select Directs the next state of the IEEE 1149.1 test access port state machine
TDI I Test Data Input Scan data input to the device
TDO O Test Data Output Scan data output of the device

Scan Chain Configuration Parameters

Table 6-98 shows the TAP configuration details required to configure the router/emulator for this device.

Table 6-98 JTAG Port Description

Router Port ID Default TAP TAP Name Tap IR Length
17 No Reserved 38
18 No ARM926 4
19 No ETB 4

The router is ICEPick revision C and has a 6-bit IR length.

Initial Scan Chain Configuration

The first level of debug interface that sees the scan controller is the TAP router module. The debugger can configure the TAP router for serially linking up to 16 TAP controllers or individually scanning one of the TAP controllers without disrupting the IR state of the other TAPs.

Adding TAPS to the Scan Chain

The TAP router must be programmed to add additional TAPs to the scan chain. The following JTAG scans must be completed to add the ARM926EJ-S to the scan chain.

A Power-On Reset (POR) or the JTAG Test-Logic Reset state configures the TAP router to contain only the router’s TAP.

AM1705 chain_scan_step1_prs483.gif Figure 6-49 Adding ARM926EJ-S to the scan chain

Pre-amble: The device whose data reaches the emulator first is listed first in the board configuration file. This device is a pre-amble for all the other devices. This device has the lowest device ID.

Post-amble: The device whose data reaches the emulator last is listed last in the board configuration file. This device is a post-amble for all the other devices. This device has the highest device ID.

  • Function : Update the JTAG preamble and post-amble counts.
    • Parameter : The IR pre-amble count is '0'.
    • Parameter : The IR post-amble count is '0'.
    • Parameter : The DR pre-amble count is '0'.
    • Parameter : The DR post-amble count is '0'.
    • Parameter : The IR main count is '6'.
    • Parameter : The DR main count is '1'.
  • Function : Do a send-only JTAG IR/DR scan.
    • Parameter : The route to JTAG shift state is 'shortest transition'.
    • Parameter : The JTAG shift state is 'shift-ir'.
    • Parameter : The JTAG destination state is 'pause-ir'.
    • Parameter : The bit length of the command is '6'.
    • Parameter : The send data value is '0x00000007'.
    • Parameter : The actual receive data is 'discarded'.
  • Function : Do a send-only JTAG IR/DR scan.
    • Parameter : The route to JTAG shift state is 'shortest transition'.
    • Parameter : The JTAG shift state is 'shift-dr'.
    • Parameter : The JTAG destination state is 'pause-dr'.
    • Parameter : The bit length of the command is '8'.
    • Parameter : The send data value is '0x00000089'.
    • Parameter : The actual receive data is 'discarded'.
  • Function : Do a send-only JTAG IR/DR scan.
    • Parameter : The route to JTAG shift state is 'shortest transition'.
    • Parameter : The JTAG shift state is 'shift-ir'.
    • Parameter : The JTAG destination state is 'pause-ir'.
    • Parameter : The bit length of the command is '6'.
    • Parameter : The send data value is '0x00000002'.
    • Parameter : The actual receive data is 'discarded'.
  • Function : Embed the port address in next command.
    • Parameter : The port address field is '0x0f000000'.
    • Parameter : The port address value is '3'.
  • Function : Do a send-only JTAG IR/DR scan.
    • Parameter : The route to JTAG shift state is 'shortest transition'.
    • Parameter : The JTAG shift state is 'shift-dr'.
    • Parameter : The JTAG destination state is 'pause-dr'.
    • Parameter : The bit length of the command is '32'.
    • Parameter : The send data value is '0xa2002108'.
    • Parameter : The actual receive data is 'discarded'.
  • Function : Do a send-only all-ones JTAG IR/DR scan.
    • Parameter : The JTAG shift state is 'shift-ir'.
    • Parameter : The JTAG destination state is 'run-test/idle'.
    • Parameter : The bit length of the command is '6'.
    • Parameter : The send data value is 'all-ones'.
    • Parameter : The actual receive data is 'discarded'.
  • Function : Wait for a minimum number of TCLK pulses.
    • Parameter : The count of TCLK pulses is '10'.
  • Function : Update the JTAG preamble and post-amble counts.
    • Parameter : The IR pre-amble count is '0'.
    • Parameter : The IR post-amble count is '6'.
    • Parameter : The DR pre-amble count is '0'.
    • Parameter : The DR post-amble count is '1'.
    • Parameter : The IR main count is '4'.
    • Parameter : The DR main count is '1'.

The initial scan chain contains only the TAP router module. The following steps must be completed in order to add ETB TAP to the scan chain.

AM1705 chain_scan_step2_prs483.gif Figure 6-50 Adding ETB to the scan chain
  • Function : Do a send-only JTAG IR/DR scan.
    • Parameter : The route to JTAG shift state is 'shortest transition'.
    • Parameter : The JTAG shift state is 'shift-ir'.
    • Parameter : The JTAG destination state is 'pause-ir'.
    • Parameter : The bit length of the command is '6'.
    • Parameter : The send data value is '0x00000007'.
    • Parameter : The actual receive data is 'discarded'.
  • Function : Do a send-only JTAG IR/DR scan.
    • Parameter : The route to JTAG shift state is 'shortest transition'.
    • Parameter : The JTAG shift state is 'shift-dr'.
    • Parameter : The JTAG destination state is 'pause-dr'.
    • Parameter : The bit length of the command is '8'.
    • Parameter : The send data value is '0x00000089'.
    • Parameter : The actual receive data is 'discarded'.
  • Function : Do a send-only JTAG IR/DR scan.
    • Parameter : The route to JTAG shift state is 'shortest transition'.
    • Parameter : The JTAG shift state is 'shift-ir'.
    • Parameter : The JTAG destination state is 'pause-ir'.
    • Parameter : The bit length of the command is '6'.
    • Parameter : The send data value is '0x00000002'.
    • Parameter : The actual receive data is 'discarded'.
  • Function : Embed the port address in next command.
    • Parameter : The port address field is '0x0f000000'.
    • Parameter : The port address value is '3'.
  • Function : Do a send-only JTAG IR/DR scan.
    • Parameter : The route to JTAG shift state is 'shortest transition'.
    • Parameter : The JTAG shift state is 'shift-dr'.
    • Parameter : The JTAG destination state is 'pause-dr'.
    • Parameter : The bit length of the command is '32'.
    • Parameter : The send data value is '0xa3302108'.
    • Parameter : The actual receive data is 'discarded'.
  • Function : Do a send-only all-ones JTAG IR/DR scan.
    • Parameter : The JTAG shift state is 'shift-ir'.
    • Parameter : The JTAG destination state is 'run-test/idle'.
    • Parameter : The bit length of the command is '6'.
    • Parameter : The send data value is 'all-ones'.
    • Parameter : The actual receive data is 'discarded'.
  • Function : Wait for a minimum number of TCLK pulses.
    • Parameter : The count of TCLK pulses is '10'.
  • Function : Update the JTAG preamble and post-amble counts.
    • Parameter : The IR pre-amble count is '0'.
    • Parameter : The IR post-amble count is '6 + 4'.
    • Parameter : The DR pre-amble count is '0'.
    • Parameter : The DR post-amble count is '1 + 1'.
    • Parameter : The IR main count is '4'.
    • Parameter : The DR main count is '1'.

JTAG 1149.1 Boundary Scan Considerations

To use boundary scan, the following sequence should be followed:

  • Execute a valid reset sequence and exit reset
  • Wait at least 6000 OSCIN clock cycles
  • Enter boundary scan mode using the JTAG pins

If TRST is not driven by the boundary scan tool or tester, TRST should be externally pulled high during boundary scan testing.

IEEE 1149.1 JTAG

The JTAG IEEE Standard 1149.1-1990 Standard-Test-Access Port and Boundary Scan Architecture. interface is used for BSDL testing and emulation of the device.

IEEE Standard 1149.1-1990 Standard-Test-Access Port and Boundary Scan Architecture.

The device requires that both TRST and RESET be asserted upon power up to be properly initialized. While RESET initializes the device, TRST initializes the device's emulation logic. Both resets are required for proper operation.

While both TRST and RESET need to be asserted upon power up, only RESET needs to be released for the device to boot properly. TRST may be asserted indefinitely for normal operation, keeping the JTAG port interface and device's emulation logic in the reset state.

. TRST only needs to be released when it is necessary to use a JTAG controller to debug the device or exercise the device's boundary scan functionality. Note: TRST is synchronous and must be clocked by TCK; otherwise, the boundary scan logic may not respond as expected after TRST is asserted.

. RESET must be released only in order for boundary-scan JTAG to read the variant field of IDCODE correctly. Other boundary-scan instructions work correctly independent of current state of RESET.

For maximum reliability, the device includes an internal pulldown (IPD) on the TRST pin to ensure that TRST will always be asserted upon power up and the device's internal emulation logic will always be properly initialized.

JTAG controllers from Texas Instruments actively drive TRST high. However, some third-party JTAG controllers may not drive TRST high but expect the use of a pullup resistor on TRST.

When using this type of JTAG controller, assert TRST to initialize the device after powerup and externally drive TRST high before attempting any emulation or boundary scan operations.

JTAG Peripheral Register Description(s) – JTAG ID Register (DEVIDR0)

Table 6-99 DEVIDR0 Register

BYTE ADDRESS ACRONYM REGISTER DESCRIPTION COMMENTS
0x01C1 4018 DEVIDR0 JTAG Identification Register Read-only. Provides 32-bit JTAG ID of the device.

The JTAG ID register is a read-only register that identifies to the customer the JTAG/Device ID. For the device, the JTAG ID register resides at address location 0x01C1 4018. The register hex value for each silicon revision is:

  • 0x8B7D F02F for silicon revision 1.1
  • 0x9B7D F02F for silicon revisions 3.0, 2.1, and 2.0
For the actual register bit names and their associated bit field descriptions, see Figure 6-51 and Table 6-100.

Figure 6-51 JTAG ID (DEVIDR0) Register Description - Register Value
31 28 27 12 11 1 0
VARIANT
(4-bit)
PART NUMBER (16-bit) MANUFACTURER (11-bit) LSB
R-xxxx R-1011 0111 1101 1111 R-0000 0010 111 R-1
LEGEND: R = Read, W = Write, n = value at reset

Table 6-100 JTAG ID Register Selection Bit Descriptions

BIT NAME DESCRIPTION
31:28 VARIANT Variant (4-Bit) value
27:12 PART NUMBER Part Number (16-Bit) value
11-1 MANUFACTURER Manufacturer (11-Bit) value
0 LSB LSB. This bit is read as a "1".

JTAG Test-Port Electrical Data/Timing

Table 6-101 Timing Requirements for JTAG Test Port (see Figure 6-52)

No. PARAMETER MIN MAX UNIT
1 tc(TCK) Cycle time, TCK 40 ns
2 tw(TCKH) Pulse duration, TCK high 16 ns
3 tw(TCKL) Pulse duration, TCK low 16 ns
4 tc(RTCK) Cycle time, RTCK 40 ns
5 tw(RTCKH) Pulse duration, RTCK high 16 ns
6 tw(RTCKL) Pulse duration, RTCK low 16 ns
7 tsu(TDIV-RTCKH) Setup time, TDI/TMS/TRST valid before RTCK high 4 ns
8 th(RTCKH-TDIV) Hold time, TDI/TMS/TRST valid after RTCK high 4 ns

Table 6-102 Switching Characteristics Over Recommended Operating Conditions for JTAG Test Port
(see Figure 6-52)

No. PARAMETER MIN MAX UNIT
9 td(RTCKL-TDOV) Delay time, RTCK low to TDO valid 15 ns
AM1705 td_jtag_prs563.gif Figure 6-52 JTAG Test-Port Timing