JAJSG84B January   2016  – June 2018 LP8758-E0

PRODUCTION DATA.  

  1. 特長
  2. アプリケーション
  3. 概要
    1.     Device Images
      1.      概略回路図
      2.      効率と出力電流との関係
  4. 改訂履歴
  5. Pin Configuration and Functions
    1.     Pin Functions
  6. Specifications
    1. 6.1 Absolute Maximum Ratings
    2. 6.2 ESD Ratings
    3. 6.3 Recommended Operating Conditions
    4. 6.4 Thermal Information
    5. 6.5 Electrical Characteristics
    6. 6.6 I2C Serial Bus Timing Requirements
    7. 6.7 Switching Characteristics
    8. 6.8 Typical Characteristics
  7. Detailed Description
    1. 7.1 Overview
      1. 7.1.1 Buck Information
        1. 7.1.1.1 Operating Modes
        2. 7.1.1.2 Programmability
        3. 7.1.1.3 Features
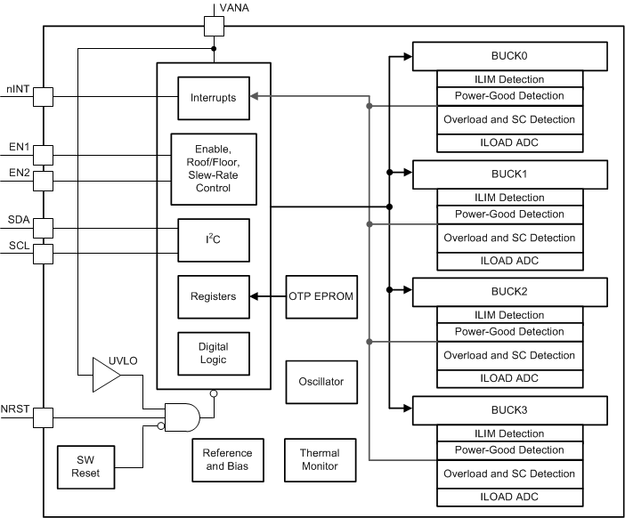
    2. 7.2 Functional Block Diagram
    3. 7.3 Feature Description
      1. 7.3.1 Overview
        1. 7.3.1.1 Transition between PWM and PFM Modes
        2. 7.3.1.2 Buck Converter Load Current Measurement
        3. 7.3.1.3 Spread-Spectrum Mode
      2. 7.3.2 Power-Up
      3. 7.3.3 Regulator Control
        1. 7.3.3.1 Enabling and Disabling
        2. 7.3.3.2 Changing Output Voltage
      4. 7.3.4 Device Reset Scenarios
      5. 7.3.5 Diagnosis and Protection Features
        1. 7.3.5.1 Warnings for Diagnosis (Interrupt)
          1. 7.3.5.1.1 Output Current Limit
          2. 7.3.5.1.2 Thermal Warning
        2. 7.3.5.2 Protection (Regulator Disable)
          1. 7.3.5.2.1 Short-Circuit and Overload Protection
          2. 7.3.5.2.2 Thermal Shutdown
        3. 7.3.5.3 Fault (Power Down)
          1. 7.3.5.3.1 Undervoltage Lockout
      6. 7.3.6 Digital Signal Filtering
    4. 7.4 Device Functional Modes
      1. 7.4.1 Modes of Operation
    5. 7.5 Programming
      1. 7.5.1 I2C-Compatible Interface
        1. 7.5.1.1 Data Validity
        2. 7.5.1.2 Start and Stop Conditions
        3. 7.5.1.3 Transferring Data
        4. 7.5.1.4 I2C-Compatible Chip Address
        5. 7.5.1.5 Auto Increment Feature
    6. 7.6 Register Maps
      1. 7.6.1 Register Descriptions
        1. 7.6.1.1  OTP_REV
        2. 7.6.1.2  BUCK0_CTRL1
        3. 7.6.1.3  BUCK0_CTRL2
        4. 7.6.1.4  BUCK1_CTRL1
        5. 7.6.1.5  BUCK1_CTRL2
        6. 7.6.1.6  BUCK2_CTRL1
        7. 7.6.1.7  BUCK2_CTRL2
        8. 7.6.1.8  BUCK3_CTRL1
        9. 7.6.1.9  BUCK3_CTRL2
        10. 7.6.1.10 BUCK0_VOUT
        11. 7.6.1.11 BUCK0_FLOOR_VOUT
        12. 7.6.1.12 BUCK1_VOUT
        13. 7.6.1.13 BUCK1_FLOOR_VOUT
        14. 7.6.1.14 BUCK2_VOUT
        15. 7.6.1.15 BUCK2_FLOOR_VOUT
        16. 7.6.1.16 BUCK3_VOUT
        17. 7.6.1.17 BUCK3_FLOOR_VOUT
        18. 7.6.1.18 BUCK0_DELAY
        19. 7.6.1.19 BUCK1_DELAY
        20. 7.6.1.20 BUCK2_DELAY
        21. 7.6.1.21 BUCK3_DELAY
        22. 7.6.1.22 RESET
        23. 7.6.1.23 CONFIG
        24. 7.6.1.24 INT_TOP
        25. 7.6.1.25 INT_BUCK_0_1
        26. 7.6.1.26 INT_BUCK_2_3
        27. 7.6.1.27 TOP_STAT
        28. 7.6.1.28 BUCK_0_1_STAT
        29. 7.6.1.29 BUCK_2_3_STAT
        30. 7.6.1.30 TOP_MASK
        31. 7.6.1.31 BUCK_0_1_MASK
        32. 7.6.1.32 BUCK_2_3_MASK
        33. 7.6.1.33 SEL_I_LOAD
        34. 7.6.1.34 I_LOAD_2
        35. 7.6.1.35 I_LOAD_1
  8. Application and Implementation
    1. 8.1 Application Information
    2. 8.2 Typical Application
      1. 8.2.1 Design Requirements
      2. 8.2.2 Detailed Design Procedure
        1. 8.2.2.1 Application Components
          1. 8.2.2.1.1 Inductor Selection
          2. 8.2.2.1.2 Input Capacitor Selection
          3. 8.2.2.1.3 Output Capacitor Selection
      3. 8.2.3 Application Curves
  9. Power Supply Recommendations
  10. 10Layout
    1. 10.1 Layout Guidelines
    2. 10.2 Layout Example
  11. 11デバイスおよびドキュメントのサポート
    1. 11.1 デバイス・サポート
      1. 11.1.1 デベロッパー・ネットワークの製品に関する免責事項
    2. 11.2 ドキュメントのサポート
      1. 11.2.1 関連資料
    3. 11.3 ドキュメントの更新通知を受け取る方法
    4. 11.4 コミュニティ・リソース
    5. 11.5 商標
    6. 11.6 静電気放電に関する注意事項
    7. 11.7 Glossary
  12. 12メカニカル、パッケージ、および注文情報

Functional Block Diagram

LP8758-E0 Block_Diagram.gif