SWRS248E April   2020  – April 2025 AWR6443 , AWR6843

PRODUCTION DATA  

  1.   1
  2. Features
  3. Applications
  4. Description
  5. Functional Block Diagram
  6. Device Comparison
    1. 5.1 Related Products
  7. Terminal Configuration and Functions
    1. 6.1 Pin Diagram
    2. 6.2 Signal Descriptions
      1. 6.2.1 Signal Descriptions - Digital
      2. 6.2.2 Signal Descriptions - Analog
    3. 6.3 Pin Attributes
  8. Specifications
    1. 7.1  Absolute Maximum Ratings
    2. 7.2  ESD Ratings
    3. 7.3  Power-On Hours (POH)
    4. 7.4  Recommended Operating Conditions
    5. 7.5  VPP Specifications for One-Time Programmable (OTP) eFuses
      1. 7.5.1 Recommended Operating Conditions for OTP eFuse Programming
      2. 7.5.2 Hardware Requirements
      3. 7.5.3 Impact to Your Hardware Warranty
    6. 7.6  Power Supply Specifications
    7. 7.7  Power Consumption Summary
    8. 7.8  Power Save Mode
    9. 7.9  RF Specification
    10. 7.10 CPU Specifications
    11. 7.11 Thermal Resistance Characteristics for FCBGA Package [ABL0161]
    12. 7.12 Timing and Switching Characteristics
      1. 7.12.1  Power Supply Sequencing and Reset Timing
      2. 7.12.2  Input Clocks and Oscillators
        1. 7.12.2.1 Clock Specifications
      3. 7.12.3  Multibuffered / Standard Serial Peripheral Interface (MibSPI)
        1. 7.12.3.1 Peripheral Description
        2. 7.12.3.2 MibSPI Transmit and Receive RAM Organization
          1. 7.12.3.2.1 SPI Timing Conditions
          2. 7.12.3.2.2 SPI Controller Mode Switching Parameters (CLOCK PHASE = 0, SPICLK = output, SPISIMO = output, and SPISOMI = input)
          3. 7.12.3.2.3 SPI Controller Mode Switching Parameters (CLOCK PHASE = 1, SPICLK = output, SPISIMO = output, and SPISOMI = input)
        3. 7.12.3.3 SPI Peripheral Mode I/O Timings
          1. 7.12.3.3.1 SPI Peripheral Mode Switching Parameters (SPICLK = input, SPISIMO = input, and SPISOMI = output) #GUID-F179918D-8747-4E9F-AE33-23F33763D52C/T4362547-70 #GUID-F179918D-8747-4E9F-AE33-23F33763D52C/T4362547-71 #GUID-F179918D-8747-4E9F-AE33-23F33763D52C/T4362547-73
        4. 7.12.3.4 Typical Interface Protocol Diagram (Peripheral Mode)
      4. 7.12.4  LVDS Interface Configuration
        1. 7.12.4.1 LVDS Interface Timings
      5. 7.12.5  General-Purpose Input/Output
        1. 7.12.5.1 Switching Characteristics for Output Timing versus Load Capacitance (CL)
      6. 7.12.6  Controller Area Network - Flexible Data-rate (CAN-FD)
        1. 7.12.6.1 Dynamic Characteristics for the CANx TX and RX Pins
      7. 7.12.7  Serial Communication Interface (SCI)
        1. 7.12.7.1 SCI Timing Requirements
      8. 7.12.8  Inter-Integrated Circuit Interface (I2C)
        1. 7.12.8.1 I2C Timing Requirements
      9. 7.12.9  Quad Serial Peripheral Interface (QSPI)
        1. 7.12.9.1 QSPI Timing Conditions
        2. 7.12.9.2 Timing Requirements for QSPI Input (Read) Timings
        3. 7.12.9.3 QSPI Switching Characteristics
      10. 7.12.10 ETM Trace Interface
        1. 7.12.10.1 ETMTRACE Timing Conditions
        2. 7.12.10.2 ETM TRACE Switching Characteristics
      11. 7.12.11 Data Modification Module (DMM)
        1. 7.12.11.1 DMM Timing Requirements
      12. 7.12.12 JTAG Interface
        1. 7.12.12.1 JTAG Timing Conditions
        2. 7.12.12.2 Timing Requirements for IEEE 1149.1 JTAG
        3. 7.12.12.3 Switching Characteristics Over Recommended Operating Conditions for IEEE 1149.1 JTAG
  9. Detailed Description
    1. 8.1 Overview
    2. 8.2 Functional Block Diagram
    3. 8.3 Subsystems
      1. 8.3.1 RF and Analog Subsystem
        1. 8.3.1.1 Clock Subsystem
        2. 8.3.1.2 Transmit Subsystem
        3. 8.3.1.3 Receive Subsystem
      2. 8.3.2 Processor Subsystem
      3. 8.3.3 Automotive Interface
      4. 8.3.4 Host Interface
      5. 8.3.5 Main Subsystem Cortex-R4F
      6. 8.3.6 DSP Subsystem
      7. 8.3.7 Hardware Accelerator
    4. 8.4 Other Subsystems
      1. 8.4.1 ADC Channels (Service) for User Application
        1. 8.4.1.1 GP-ADC Parameter
    5. 8.5 Boot Modes
      1. 8.5.1 Flashing Mode
      2. 8.5.2 Functional Mode
  10. Monitoring and Diagnostics
    1. 9.1 Monitoring and Diagnostic Mechanisms
      1. 9.1.1 Error Signaling Module
  11. 10Applications, Implementation, and Layout
    1. 10.1 Application Information
    2. 10.2 Reference Schematic
  12. 11Device and Documentation Support
    1. 11.1 Device Nomenclature
    2. 11.2 Tools and Software
    3. 11.3 Documentation Support
    4. 11.4 Support Resources
    5. 11.5 Trademarks
    6. 11.6 Electrostatic Discharge Caution
    7. 11.7 Glossary
  13.   Revision History
  14. 12Mechanical, Packaging, and Orderable Information
    1. 12.1 Packaging Information
    2. 12.2 Tray Information for ABL, 10.4 × 10.4 mm

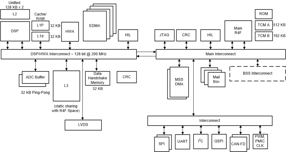
Processor Subsystem

AWR6443 AWR6843 Processor Subsystem Figure 8-5 Processor Subsystem

Figure 8-5shows the block diagram for customer programmable processor subsystems in the AWR6843 device. At a high level there are two customer programmable subsystems, as shown separated by a dotted line in the diagram. Left hand side shows the DSP Subsystem which contains TI's high-performance C674x DSP, hardware accelerator, a high-bandwidth interconnect for high performance (128-bit, 200MHz), and associated peripherals – four DMAs for data transfer,

LVDS interface for Measurement data output, L3 Radar data cube memory, ADC buffers, CRC engine, and data handshake memory (additional memory provided on interconnect).

The C674x DSP and L1/L2 RAM portion of the DSP subsystem is not supported on the AWR6443 device and therefore, the available memory is 1.4MB compared to 1.75MB on the IWR6843 device. For more information on the features supported and not supported on each device, see the Device Features Comparison table.

The right side of the diagram shows the main subsystem. Main subsystem as the name suggests is the centre of the device and controls all the device peripherals and house-keeping activities of the device. Main subsystem contains Cortex-R4F (Main R4F) processor and associated peripherals and house-keeping components such as DMAs, CRC and Peripherals (I2C, UART, SPIs, CAN-FD, PMIC clocking module, PWM, and others) connected to Main Interconnect through Peripheral Central Resource (PCR interconnect).

Details of the DSP CPU core can be found at http://www.ti.com/product/TMS320C6748.

HIL module is shown in both the subsystems and can be used to perform the radar operations feeding the captured data from outside into the device without involving the RF subsystem. HIL on main SS is for controlling the configuration and HIL on DSPSS for high speed ADC data input to the device. Both HIL modules uses the same IOs on the device, one additional IO (DMM_MUX_IN) allows selecting either of the two.