JAJSJO1C October   2021  – December 2023 TMS320F280033 , TMS320F280034 , TMS320F280034-Q1 , TMS320F280036-Q1 , TMS320F280036C-Q1 , TMS320F280037 , TMS320F280037-Q1 , TMS320F280037C , TMS320F280037C-Q1 , TMS320F280038-Q1 , TMS320F280038C-Q1 , TMS320F280039 , TMS320F280039-Q1 , TMS320F280039C , TMS320F280039C-Q1

PRODMIX  

  1.   1
  2. 特長
  3. アプリケーション
  4. 概要
    1. 3.1 機能ブロック図
  5. デバイスの比較
    1. 4.1 関連製品
  6. ピン構成および機能
    1. 5.1 ピン配置図
    2. 5.2 ピン属性
    3. 5.3 信号の説明
      1. 5.3.1 アナログ信号
      2. 5.3.2 デジタル信号
      3. 5.3.3 電源およびグランド
      4. 5.3.4 テスト、JTAG、リセット
    4. 5.4 ピン多重化
      1. 5.4.1 GPIO 多重化ピン
        1. 5.4.1.1 GPIO 多重化ピン
      2. 5.4.2 ADC ピンのデジタル入力 (AIO)
      3. 5.4.3 ADC ピン上のデジタル入出力 (AGPIO)
      4. 5.4.4 GPIO 入力クロスバー
      5. 5.4.5 GPIO 出力クロスバー、CLB クロスバー、CLB 出力クロスバー、ePWM クロスバー
    5. 5.5 内部プルアップおよびプルダウン付きのピン
    6. 5.6 未使用ピンの接続
  7. 仕様
    1. 6.1  絶対最大定格
    2. 6.2  ESD 定格 - 民生用
    3. 6.3  ESD 定格 - 車載用
    4. 6.4  推奨動作条件
    5. 6.5  消費電力の概略
      1. 6.5.1 システム消費電流
      2. 6.5.2 システム消費電流 - VREG ディセーブル - 外部電源
      3. 6.5.3 動作モード・テストの説明
      4. 6.5.4 消費電流のグラフ
      5. 6.5.5 消費電流の低減
        1. 6.5.5.1 ディセーブルしたペリフェラルごとの標準的な電流低減
    6. 6.6  電気的特性
    7. 6.7  PZ パッケージの熱抵抗特性
    8. 6.8  PN パッケージの熱抵抗特性
    9. 6.9  PM パッケージの熱抵抗特性
    10. 6.10 PT パッケージの熱抵抗特性
    11. 6.11 熱設計の検討事項
    12. 6.12 システム
      1. 6.12.1 パワー・マネージメント・モジュール (PMM)
        1. 6.12.1.1 概要
        2. 6.12.1.2 概要
          1. 6.12.1.2.1 電源レール監視
            1. 6.12.1.2.1.1 I/O POR (パワーオン・リセット) 監視
            2. 6.12.1.2.1.2 I/O BOR (ブラウンアウト・リセット) 監視
            3. 6.12.1.2.1.3 VDD POR (パワーオン・リセット) 監視
          2. 6.12.1.2.2 外部監視回路の使用
          3. 6.12.1.2.3 遅延ブロック
          4. 6.12.1.2.4 内部1.2V LDO 電圧レギュレータ (VREG)
          5. 6.12.1.2.5 VREGENZ
        3. 6.12.1.3 外付け部品
          1. 6.12.1.3.1 デカップリング・コンデンサ
            1. 6.12.1.3.1.1 VDDIO デカップリング
            2. 6.12.1.3.1.2 VDD デカップリング
        4. 6.12.1.4 電源シーケンス
          1. 6.12.1.4.1 電源ピンの一括接続
          2. 6.12.1.4.2 信号ピンの電源シーケンス
          3. 6.12.1.4.3 電源ピンの電源シーケンス
            1. 6.12.1.4.3.1 外部 VREG / VDD モード・シーケンス
            2. 6.12.1.4.3.2 内部 VREG/VDD モード・シーケンス
            3. 6.12.1.4.3.3 電源シーケンスの概要と違反の影響
            4. 6.12.1.4.3.4 電源スルーレート
        5. 6.12.1.5 パワー・マネージメント・モジュールの電気的データおよびタイミング
          1. 6.12.1.5.1 パワー・マネージメント・モジュールの動作条件
          2. 6.12.1.5.2 パワー・マネージメント・モジュールの特性
          3.        電源電圧
      2. 6.12.2 リセット・タイミング
        1. 6.12.2.1 リセット・ソース
        2. 6.12.2.2 リセットの電気的データおよびタイミング
          1. 6.12.2.2.1 リセット - XRSn - タイミング要件
          2. 6.12.2.2.2 リセット - XRSn - スイッチング特性
          3. 6.12.2.2.3 リセットのタイミング図
      3. 6.12.3 クロック仕様
        1. 6.12.3.1 クロック・ソース
        2. 6.12.3.2 クロック周波数、要件、および特性
          1. 6.12.3.2.1 入力クロック周波数およびタイミング要件、PLL ロック時間
            1. 6.12.3.2.1.1 入力クロック周波数
            2. 6.12.3.2.1.2 XTAL 発振器の特性
            3. 6.12.3.2.1.3 水晶振動子ではない外部のクロック・ソース使用時の X1 入力レベルの特性
            4. 6.12.3.2.1.4 X1 のタイミング要件
            5. 6.12.3.2.1.5 AUXCLKIN のタイミング要件
            6. 6.12.3.2.1.6 APLL 特性
            7. 6.12.3.2.1.7 XCLKOUT のスイッチング特性 - PLL バイパスまたはイネーブル
            8. 6.12.3.2.1.8 内部クロック周波数
        3. 6.12.3.3 入力クロックおよび PLL
        4. 6.12.3.4 XTAL 発振器
          1. 6.12.3.4.1 はじめに
          2. 6.12.3.4.2 概要
            1. 6.12.3.4.2.1 電気発振回路
              1. 6.12.3.4.2.1.1 動作モード
                1. 6.12.3.4.2.1.1.1 水晶動作モード
                2. 6.12.3.4.2.1.1.2 シングルエンド動作モード
              2. 6.12.3.4.2.1.2 XCLKOUT での XTAL 出力
            2. 6.12.3.4.2.2 水晶振動子
            3. 6.12.3.4.2.3 GPIO 動作モード
          3. 6.12.3.4.3 機能動作
            1. 6.12.3.4.3.1 ESR – 等価直列抵抗
            2. 6.12.3.4.3.2 Rneg – 負性抵抗
            3. 6.12.3.4.3.3 起動時間
              1. 6.12.3.4.3.3.1 X1 / X2 事前条件
            4. 6.12.3.4.3.4 DL – 励振レベル
          4. 6.12.3.4.4 水晶振動子の選択方法
          5. 6.12.3.4.5 テスト
          6. 6.12.3.4.6 一般的な問題とデバッグのヒント
          7. 6.12.3.4.7 水晶発振回路の仕様
            1. 6.12.3.4.7.1 水晶発振器のパラメータ
            2. 6.12.3.4.7.2 水晶振動子の等価直列抵抗 (ESR) 要件
            3. 6.12.3.4.7.3 水晶発振器の電気的特性
        5. 6.12.3.5 内部発振器
          1. 6.12.3.5.1 INTOSC の特性
      4. 6.12.4 フラッシュ・パラメータ
        1. 6.12.4.1 フラッシュ・パラメータ 
      5. 6.12.5 RAM および ROM のパラメータ
      6. 6.12.6 エミュレーション / JTAG
        1. 6.12.6.1 JTAG の電気的データおよびタイミング
          1. 6.12.6.1.1 JTAG のタイミング要件
          2. 6.12.6.1.2 JTAG のスイッチング特性
          3. 6.12.6.1.3 JTAG のタイミング図
        2. 6.12.6.2 cJTAG の電気的データおよびタイミング
          1. 6.12.6.2.1 cJTAG のタイミング要件
          2. 6.12.6.2.2 cJTAG のスイッチング特性
          3. 6.12.6.2.3 cJTAG のタイミング図
      7. 6.12.7 GPIO の電気的データおよびタイミング
        1. 6.12.7.1 GPIO - 出力タイミング
          1. 6.12.7.1.1 汎用出力のスイッチング特性
          2. 6.12.7.1.2 汎用出力のタイミング図
        2. 6.12.7.2 GPIO - 入力タイミング
          1. 6.12.7.2.1 汎用入力のタイミング要件
          2. 6.12.7.2.2 サンプリング・モード
        3. 6.12.7.3 入力信号のサンプリング・ウィンドウ幅
      8. 6.12.8 割り込み
        1. 6.12.8.1 外部割り込み (XINT) の電気的データおよびタイミング
          1. 6.12.8.1.1 外部割り込みのタイミング要件
          2. 6.12.8.1.2 外部割り込みのスイッチング特性
          3. 6.12.8.1.3 外部割り込みのタイミング
      9. 6.12.9 低消費電力モード
        1. 6.12.9.1 クロック・ゲーティング低消費電力モード
        2. 6.12.9.2 低消費電力モードのウェークアップ・タイミング
          1. 6.12.9.2.1 IDLE モードのタイミング要件
          2. 6.12.9.2.2 IDLE モードのスイッチング特性
          3. 6.12.9.2.3 IDLE 開始および終了タイミング図
          4. 6.12.9.2.4 STANDBY モードのタイミング要件
          5. 6.12.9.2.5 STANDBY モードのスイッチング特性
          6. 6.12.9.2.6 STANDBY の開始 / 終了タイミング図
          7. 6.12.9.2.7 HALT モードのタイミング要件
          8. 6.12.9.2.8 HALT モードのスイッチング特性
          9. 6.12.9.2.9 HALT 開始および終了タイミング図
    13. 6.13 アナログ・ペリフェラル
      1. 6.13.1 アナログ・ピンと内部接続
      2. 6.13.2 アナログ信号の説明
      3. 6.13.3 A/D コンバータ (ADC)
        1. 6.13.3.1 ADC の構成可能性
          1. 6.13.3.1.1 信号モード
        2. 6.13.3.2 ADC の電気的データおよびタイミング
          1. 6.13.3.2.1 ADC の動作条件
          2. 6.13.3.2.2 ADC 特性
          3. 6.13.3.2.3 ADC 入力モデル
          4. 6.13.3.2.4 ADC のタイミング図
      4. 6.13.4 温度センサ
        1. 6.13.4.1 温度センサの電気的データおよびタイミング
          1. 6.13.4.1.1 温度センサの特性
      5. 6.13.5 コンパレータ・サブシステム (CMPSS)
        1. 6.13.5.1 CMPSS 接続図
        2. 6.13.5.2 ブロック図
        3. 6.13.5.3 CMPSS の電気的データおよびタイミング
          1. 6.13.5.3.1 コンパレータの電気的特性
          2.        CMPSS コンパレータの入力換算オフセットとヒステリシス
          3. 6.13.5.3.2 CMPSS DAC の静的電気特性
          4. 6.13.5.3.3 CMPSS の説明用グラフ
          5. 6.13.5.3.4 CMPSS DAC の動的誤差
      6. 6.13.6 バッファ付き D/A コンバータ (DAC)
        1. 6.13.6.1 バッファ付き DAC の電気的データおよびタイミング
          1. 6.13.6.1.1 バッファ付き DAC の動作条件
          2. 6.13.6.1.2 バッファ付き DAC の電気的特性
    14. 6.14 制御ペリフェラル
      1. 6.14.1 拡張パルス幅変調器 (ePWM)
        1. 6.14.1.1 ePWM の電気的データおよびタイミング
          1. 6.14.1.1.1 ePWM のタイミング要件
          2. 6.14.1.1.2 ePWM のスイッチング特性
          3. 6.14.1.1.3 トリップ・ゾーン入力のタイミング
            1. 6.14.1.1.3.1 トリップ・ゾーン入力のタイミング要件
            2. 6.14.1.1.3.2 PWM ハイ・インピーダンス特性のタイミング図
      2. 6.14.2 高分解能パルス幅変調器 (HRPWM)
        1. 6.14.2.1 HRPWM の電気的データおよびタイミング
          1. 6.14.2.1.1 高分解能 PWM の特性
      3. 6.14.3 外部 ADC 変換開始の電気的データおよびタイミング
        1. 6.14.3.1 外部 ADC 変換開始のスイッチング特性
        2. 6.14.3.2 ADCSOCAO または ADCSOCBO のタイミング図
      4. 6.14.4 拡張キャプチャ (eCAP)
        1. 6.14.4.1 eCAP および HRCAP のブロック図
        2. 6.14.4.2 eCAP の同期
        3. 6.14.4.3 eCAP の電気的データおよびタイミング
          1. 6.14.4.3.1 eCAP のタイミング要件
          2. 6.14.4.3.2 eCAP のスイッチング特性
      5. 6.14.5 高分解能キャプチャ (HRCAP)
        1. 6.14.5.1 eCAP と HRCAP のブロック図
        2. 6.14.5.2 HRCAP の電気的データおよびタイミング
          1. 6.14.5.2.1 HRCAP のスイッチング特性
          2. 6.14.5.2.2 HRCAP の図とグラフ
      6. 6.14.6 拡張直交エンコーダ・パルス (eQEP)
        1. 6.14.6.1 eQEP の電気的データおよびタイミング
          1. 6.14.6.1.1 eQEP のタイミング要件
          2. 6.14.6.1.2 eQEP のスイッチング特性
      7. 6.14.7 シグマ-デルタ・フィルタ・モジュール (SDFM)
        1. 6.14.7.1 SDFM の電気的データおよびタイミング
          1. 6.14.7.1.1 非同期 GPIO - ASYNC - オプション使用時の SDFM のタイミング要件
    15. 6.15 通信ペリフェラル
      1. 6.15.1 CAN (Controller Area Network)
      2. 6.15.2 モジュラー・コントローラ・エリア・ネットワーク (MCAN)
      3. 6.15.3 I2C (Inter-Integrated Circuit)
        1. 6.15.3.1 I2C の電気的データおよびタイミング
          1. 6.15.3.1.1 I2C のタイミング要件
          2. 6.15.3.1.2 I2C のスイッチング特性
          3. 6.15.3.1.3 I2C のタイミング図
      4. 6.15.4 PMBus (Power-Management Bus) インターフェイス
        1. 6.15.4.1 PMBus の電気的データおよびタイミング
          1. 6.15.4.1.1 PMBus の電気的特性
          2. 6.15.4.1.2 PMBus ファスト・モードのスイッチング特性
          3. 6.15.4.1.3 PMBus スタンダード・モードのスイッチング特性
      5. 6.15.5 シリアル通信インターフェイス (SCI)
      6. 6.15.6 シリアル・ペリフェラル・インターフェイス (SPI)
        1. 6.15.6.1 SPI マスタ・モードのタイミング
          1. 6.15.6.1.1 SPI マスタ・モードのタイミング要件
          2. 6.15.6.1.2 SPI マスタ・モードのスイッチング特性 - クロック位相 0
          3. 6.15.6.1.3 SPI マスタ・モードのスイッチング特性 - クロック位相 1
          4. 6.15.6.1.4 SPI マスタ・モードのタイミング図
        2. 6.15.6.2 SPI スレーブ・モードのタイミング
          1. 6.15.6.2.1 SPI スレーブ・モードのタイミング要件
          2. 6.15.6.2.2 SPI スレーブ・モードのスイッチング特性
          3. 6.15.6.2.3 SPI スレーブ・モードのタイミング図
      7. 6.15.7 LIN (Local Interconnect Network)
      8. 6.15.8 高速シリアル・インターフェイス (FSI)
        1. 6.15.8.1 FSI トランスミッタ
          1. 6.15.8.1.1 FSITX の電気的データおよびタイミング
            1. 6.15.8.1.1.1 FSITX のスイッチング特性
            2. 6.15.8.1.1.2 FSITX タイミング
        2. 6.15.8.2 FSI レシーバ
          1. 6.15.8.2.1 FSIRX の電気的データおよびタイミング
            1. 6.15.8.2.1.1 FSIRX のタイミング要件
            2. 6.15.8.2.1.2 FSIRX のスイッチング特性
            3. 6.15.8.2.1.3 FSIRX タイミング
        3. 6.15.8.3 FSI SPI 互換モード
          1. 6.15.8.3.1 FSITX SPI 信号モードの電気的データおよびタイミング
            1. 6.15.8.3.1.1 FSITX SPI 信号モードのスイッチング特性
            2. 6.15.8.3.1.2 FSITX SPI 信号モードのタイミング
      9. 6.15.9 ホスト・インターフェイス・コントローラ (HIC)
        1. 6.15.9.1 HIC の電気的データおよびタイミング
          1. 6.15.9.1.1 HIC のタイミング要件
          2. 6.15.9.1.2 HIC のスイッチング特性
          3. 6.15.9.1.3 HIC のタイミング図
  8. 詳細説明
    1. 7.1  概要
    2. 7.2  機能ブロック図
    3. 7.3  メモリ
      1. 7.3.1 メモリ・マップ
        1. 7.3.1.1 専用 RAM (Mx RAM)
        2. 7.3.1.2 ローカル共有 RAM (LSx RAM)
        3. 7.3.1.3 グローバル共有 RAM (GSx RAM)
        4. 7.3.1.4 メッセージ RAM
      2. 7.3.2 制御補償器アクセラレータ (CLA) メモリ・マップ
      3. 7.3.3 フラッシュ・メモリ・マップ
        1. 7.3.3.1 フラッシュ・セクタのアドレス
      4. 7.3.4 ペリフェラル・レジスタのメモリ・マップ
    4. 7.4  識別
    5. 7.5  バス・アーキテクチャ – ペリフェラル・コネクティビティ
    6. 7.6  C28x プロセッサ
      1. 7.6.1 浮動小数点演算ユニット (FPU)
      2. 7.6.2 高速整数除算ユニット
      3. 7.6.3 三角関数演算ユニット (TMU)
      4. 7.6.4 VCRC ユニット
    7. 7.7  制御補償器アクセラレータ (CLA)
    8. 7.8  組み込みのリアルタイム解析および診断 (ERAD)
    9. 7.9  バックグラウンド CRC-32 (BGCRC)
    10. 7.10 ダイレクト・メモリ・アクセス (DMA)
    11. 7.11 デバイス・ブート・モード
      1. 7.11.1 デバイス・ブートの構成
        1. 7.11.1.1 ブート・モード・ピンの構成
        2. 7.11.1.2 ブート・モード・テーブルのオプションの構成
      2. 7.11.2 GPIO の割り当て
    12. 7.12 セキュリティ
      1. 7.12.1 チップの境界の保護
        1. 7.12.1.1 JTAGLOCK
        2. 7.12.1.2 ゼロピン・ブート
      2. 7.12.2 デュアル ゾーン セキュリティ
      3. 7.12.3 免責事項
    13. 7.13 ウォッチドッグ
    14. 7.14 C28x タイマ
    15. 7.15 デュアル・クロック・コンパレータ (DCC)
      1. 7.15.1 特長
      2. 7.15.2 DCCx クロック・ソース入力のマッピング
    16. 7.16 構成可能ロジック・ブロック (CLB)
    17. 7.17 機能安全
  9. アプリケーション、実装、およびレイアウト
    1. 8.1 アプリケーションと実装
    2. 8.2 デバイスの主な特長
    3. 8.3 アプリケーション情報
      1. 8.3.1 代表的なアプリケーション
        1. 8.3.1.1 車載用ポンプ
          1. 8.3.1.1.1 システム・ブロック図
          2. 8.3.1.1.2 車載用ポンプの技術関連資料
        2. 8.3.1.2 車載用 HVAC コンプレッサ
          1. 8.3.1.2.1 システム・ブロック図
          2. 8.3.1.2.2 HVAC のリソース
        3. 8.3.1.3 オンボード充電器 (OBC)
          1. 8.3.1.3.1 システム・ブロック図
          2. 8.3.1.3.2 OBC の技術関連資料
        4. 8.3.1.4 サーボ・ドライブ制御モジュール
          1. 8.3.1.4.1 システム・ブロック図
          2. 8.3.1.4.2 サーボ・ドライブ制御モジュールのリソース
        5. 8.3.1.5 ソーラー・マイクロ・インバータ
          1. 8.3.1.5.1 システム・ブロック図
          2. 8.3.1.5.2 ソーラー・マイクロ・インバータのリソース
        6. 8.3.1.6 商用テレコム整流器
          1. 8.3.1.6.1 システム・ブロック図
          2. 8.3.1.6.2 商用テレコム整流器のリソース
  10. デバイスおよびドキュメントのサポート
    1. 9.1 使い始めと次の手順
    2. 9.2 デバイス命名規則
    3. 9.3 マーキング
    4. 9.4 ツールとソフトウェア
    5. 9.5 ドキュメントのサポート
    6. 9.6 サポート・リソース
    7. 9.7 商標
    8. 9.8 静電気放電に関する注意事項
    9. 9.9 用語集
  11. 10改訂履歴
  12. 11メカニカル、パッケージ、および注文情報

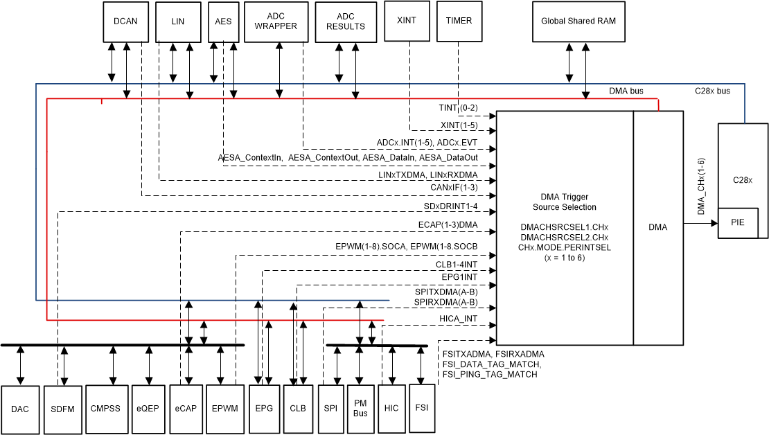
ダイレクト・メモリ・アクセス (DMA)

DMA モジュールは、CPU を介さずにペリフェラルやメモリ間でデータを転送するためのハードウェア方式を提供し、他のシステム機能の処理能力を解放します。さらに、DMA には、転送時にデータを直交的に再配置する機能、および複数のバッファを「ピンポン」方式で選択してデータを転送する機能があります。これらの機能は、最適な CPU 処理のためにデータをブロックに分けて構造化するのに役立ちます。DMA のデバイスレベル・ブロック図を 図 7-3 に示します。

DMA の特長:

  • 独立した PIE 割り込みを持つ 6 つのチャネル
  • ペリフェラル割り込みトリガ・ソース
    • ADC 割り込みおよび EVT 信号
    • 外部割り込み
    • ePWM SOC 信号
    • CPU タイマ
    • eCAP
    • SPI 送信および受信
    • CAN 送信および受信
    • LIN 送信および受信
  • データ転送元および転送先:
    • GSx RAM
    • ADC 結果レジスタ
    • 制御ペリフェラル・レジスタ (ePWM、eQEP、eCAP)
    • SPI、LIN、CAN、PMBus レジスタ
  • ワード・サイズ:16 ビットまたは 32 ビット (SPI は 16 ビットに限定)
  • スループット:調停なしで、1 ワードあたり 4 サイクル

GUID-20201210-CA0I-MLKX-7VQB-SHZDPJNW81JM-low.gif 図 7-3 DMA のブロック図