SWCU185G January 2018 – June 2024 CC1312PSIP , CC1312R , CC1352P , CC1352R , CC2642R , CC2642R-Q1 , CC2652P , CC2652PSIP , CC2652R , CC2652RB , CC2652RSIP , CC2662R-Q1
Peripheral scatter-gather mode is similar to memory scatter-gather mode, except that the transfers are controlled by a peripheral making a μDMA request. When the μDMA controller detects a request from the peripheral, the μDMA controller uses the primary control structure to copy one entry from the list to the alternate control structure, and then performs the transfer. At the end of this transfer, the next transfer is started only if the peripheral again asserts a μDMA request. The μDMA controller continues to perform transfers from the list only when the peripheral makes a request, until the last transfer completes. A completion interrupt is generated only after the last transfer.
By using this method, the μDMA controller can transfer data to or from a peripheral from a set of arbitrary locations whenever the peripheral is ready to transfer data.
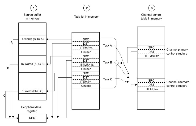
Figure 15-5 shows an example of operation in peripheral scatter-gather mode. This example shows a gather operation where data from three separate buffers in memory is copied to a single peripheral data register. Figure 15-5 shows how the application sets up a µDMA task list in memory, that is then used by the controller to perform three sets of copy operations from different locations in memory. The primary control structure for the channel used for the operation is configured to copy from the task list to the alternate control structure.
Figure 15-6 shows the sequence as the µDMA controller performs the three sets of copy operations. First, using the primary control structure, the µDMA controller loads the alternate control structure with Task A. The µDMA controller then performs the copy operation specified by Task A, copying the data from the source buffer A to the peripheral data register. Next, the µDMA controller again uses the primary control structure to load Task B into the alternate control structure, and then performs the B operation with the alternate control structure. The process is repeated for Task C.

Figure 15-6 Peripheral Scatter-Gather, μDMA Copy Sequence