SLOA277B january   2019  – july 2023 LM124 , LM124-N , LM124A , LM158 , LM158-N , LM158A , LM224 , LM224-N , LM224A , LM258 , LM258-N , LM258A , LM2902 , LM2902-N , LM2902-Q1 , LM2902K , LM2902KAV , LM2904 , LM2904-N , LM2904-Q1 , LM2904B , LM2904B-Q1 , LM2904BA , LM321 , LM324 , LM324-N , LM324A , LM358 , LM358-N , LM358A , LM358B , LM358BA , TS321 , TS321-Q1

 

  1.   1
  2.   Abstract
  3.   Trademarks
  4. 1Devices Covered in Application Note
    1. 1.1 Common Schematic
    2. 1.2 Base Part Numbers
    3. 1.3 Input Voltage Offset Grades
    4. 1.4 Maximum Supply Voltage
    5. 1.5 High Reliability Options
    6. 1.6 HBM ESD Grade
    7. 1.7 LM358B, LM358BA, LM2904B, LM2904BA, LM324B, LM2902B
  5. 2Input Stage Considerations
    1. 2.1 Input Stage Schematic
    2. 2.2 Input Common Mode Range
    3. 2.3 Input Impedance
    4. 2.4 Phase Reversal
  6. 3Output Stage Considerations
    1. 3.1 Output Stage Schematic, VOL and IOL
    2. 3.2 IOL and Common Mode Voltage
    3. 3.3 Output Stage Schematic, VOH and IOH
    4. 3.4 Short Circuit Sourcing Current
    5. 3.5 Output Voltage Limitations
  7. 4AC Performance
    1. 4.1 Slew Rate and Bandwidth
    2. 4.2 Slew Rate Variability
    3. 4.3 Output Crossover Time Delay
    4. 4.4 First Crossover Example
    5. 4.5 Second Crossover Example
  8. 5Low VCC Guidance
    1. 5.1 Low VCC Input Range Supporting –40°C
    2. 5.2 Low VCC Output Range Supporting –40°C
    3. 5.3 Low VCC Audio Amplifier Example
  9. 6Comparator Usage
    1. 6.1 Op Amp Limitations
    2. 6.2 Input and Output Voltage Ranges
    3. 6.3 Overload Recovery
    4. 6.4 Slew Rate
  10. 7Unused Amp Connections and Inputs Connected Directly to Ground
    1. 7.1 Do Not Connect Inputs Directly to Ground
    2. 7.2 Unused Amplifier Connections
  11. 8Conclusion
  12. 9Revision History

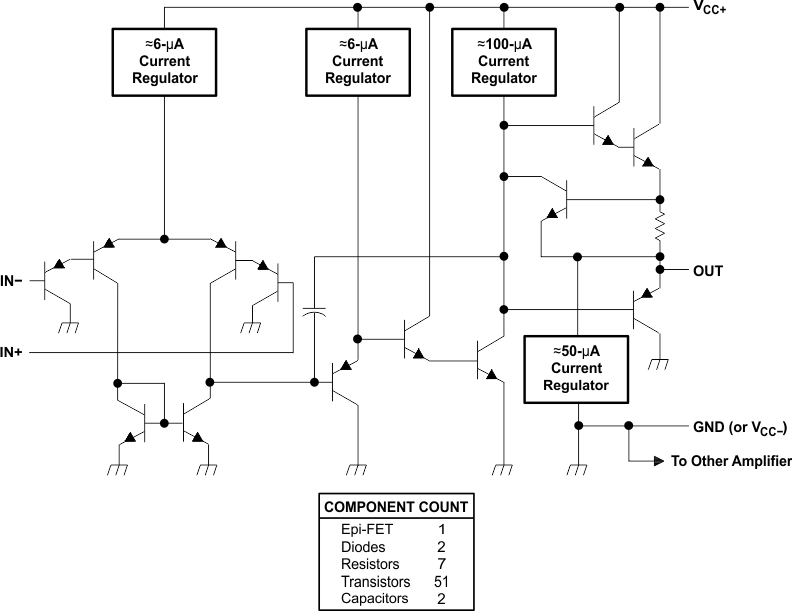
Common Schematic

This application note covers all op amps that are based on the simplified schematic in Figure 1-1, which contains a unique output stage that was revolutionary when released. Unlike other op amps of the time, it supports a near ground output voltage useful for single supply designs. The ~50-µA Current Regulator can pull the output close to ground because the other transistor emitters do not have a strong opposing current flow, unlike other op amps of this time period.

GUID-AE4615CE-76F8-49DD-973E-1DF850ED5135-low.gifFigure 1-1 Device Schematic from Data Sheet