TIDUF26 june   2023 BQ24072 , LMR36520 , TLV62568 , TPS2116

 

  1.   1
  2.   Description
  3.   Resources
  4.   Features
  5.   Applications
  6.   6
  7. 1System Description
    1. 1.1 Key System Specifications
  8. 2System Overview
    1. 2.1 Block Diagram
    2. 2.2 Design Considerations
      1. 2.2.1 24 VAC to DC Rectification
      2. 2.2.2 eFuse Protection
      3. 2.2.3 5-V Rails
        1. 2.2.3.1 LMR36520 Voltage Rail
        2. 2.2.3.2 USB Power Input
      4. 2.2.4 Power Source ORing
      5. 2.2.5 Battery Management
      6. 2.2.6 3.3-V Power Rail
      7. 2.2.7 Power Rail Current Sensing
      8. 2.2.8 Backlight LED Driver
      9. 2.2.9 BoosterPack Overview
    3. 2.3 Highlighted Products
      1. 2.3.1 LMR36520
      2. 2.3.2 TPS2116
      3. 2.3.3 TLV62568
      4. 2.3.4 INA2180
      5. 2.3.5 TPS92360
      6. 2.3.6 TPS2640
      7. 2.3.7 BQ24072
  9. 3Hardware, Software, Testing Requirements, and Test Results
    1. 3.1 Hardware Requirements
    2. 3.2 Test Setup
    3. 3.3 Test Results
      1. 3.3.1  24-VAC Start-Up and Shutdown
      2. 3.3.2  USB Start-Up and Shutdown
      3. 3.3.3  ORing
      4. 3.3.4  LMR36520
      5. 3.3.5  TLV62568 Transient Response
      6. 3.3.6  BM24072 Transient Response
      7. 3.3.7  TLV62568 (3V3 Power Rail)
      8. 3.3.8  LMR36520 (LMOut Power Rail)
      9. 3.3.9  BM24072 (BMOut Power Rail)
      10. 3.3.10 Reference
        1. 3.3.10.1 TLV62568
        2. 3.3.10.2 LMR36520
  10. 4Design and Documentation Support
    1. 4.1 Design Files
      1. 4.1.1 Schematics
      2. 4.1.2 BOM
    2. 4.2 Tools and Software
    3. 4.3 Documentation Support
    4. 4.4 Support Resources
    5. 4.5 Trademarks
  11. 5About the Author

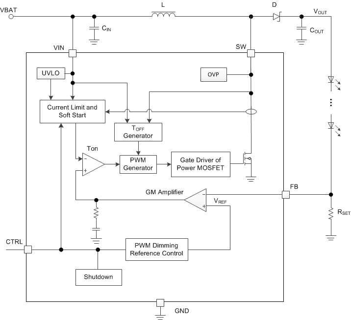
TPS92360

The TPS92360 is a high-efficiency, high-output voltage boost converter in small package size. The device integrates 40-V, 1.8-A switch FET and is designed for output voltage up to 39 V with a switch peak current limit of 1.2-A minimum. The large driving capability can drive single or parallel LED strings for small to large size panel backlighting. The TPS92360 operates in a current mode scheme with quasi-constant frequency. It is internally compensated for maximum flexibility and stability. The switching frequency is 1.2 MHz, and the minimum input voltage is 2.7 V. During the on-time, the current rises into the inductor. When the current reaches a threshold value set by the internal GM amplifier, the power switch MOSFET is turned off. The polarity of the inductor changes and forward biases the schottky diode which lets the current flow towards the output of the boost converter. The off-time is fixed for a certain VIN and VOUT, and therefore maintains the same frequency when varying these parameters. However, for different output loads, the frequency slightly changes due to the voltage drop across the RDS(on)of the power switch MOSFET, this has an effect on the voltage across the inductor and thus on tON (tOFF remains fixed). The fixed off-time maintains a quasi-fixed frequency that provides better stability for the system over a wider range of input and output voltages than conventional boost converters. The TPS92360 topology has also the benefits of providing very good load and line regulations, and excellent line and load transient responses. The feedback loop regulates the FB pin to a low reference voltage (204-mV typical), reducing the power dissipation in the current sense resistor.

GUID-15019926-A323-4AC1-A779-CF4E3A65DED8-low.gif Figure 2-18 SNVSBZ5 Functional Block Diagram