SCDA008C June   2021  – November 2021 CD4052B , TS3A225E , TS3A44159

 

  1.   Trademarks
  2. 1Introduction
  3. 2Semiconductor Switches
    1. 2.1 NMOS Switch
    2. 2.2 PMOS Switch
  4. 3Basic Signal-Switch Structures
    1. 3.1 NMOS Series Switch
    2. 3.2 NMOS/PMOS Parallel Switch
    3. 3.3 NMOS Series Switch with the Charge Pump
  5. 4Key Concerns in Digital-Switch Applications
    1. 4.1  Power and Control Voltage Requirements
    2. 4.2  Rail-to-Rail Operation
    3. 4.3  Undershoot
    4. 4.4  ron
    5. 4.5  Cio(off)
    6. 4.6  Cio(on)
    7. 4.7  Ci (Control Input Capacitance)
    8. 4.8  Leakage Current
    9. 4.9  Enable and Disable Delays and Propagation Delay
    10. 4.10 Partial Power Down
    11. 4.11 Voltage Translation
  6. 5Signal Switch Families
    1. 5.1 CBT-C Family
      1. 5.1.1 Characteristics of CBT-C Family
        1. 5.1.1.1 VOvs VI
        2. 5.1.1.2 ron vs VI
        3. 5.1.1.3 Undershoot Protection
      2. 5.1.2 Application of CBT-C Family
        1. 5.1.2.1 Bus Isolation
    2. 5.2 CBTLV Family
      1. 5.2.1 Characteristics of the CBTLV Family
    3. 5.3 CB3Q Family
      1. 5.3.1 Characteristics of the CB3Q Family
        1. 5.3.1.1 VOvs VI
        2. 5.3.1.2 ron vs VI
        3. 5.3.1.3 Operation at High Frequency
        4. 5.3.1.4 Output Skew
        5. 5.3.1.5 Frequency Response
        6. 5.3.1.6 Adjacent Channel Crosstalk
      2. 5.3.2 Application of the CB3Q Family
        1. 5.3.2.1 Multiplexer in USB Applications
    4. 5.4 CB3T Family
      1. 5.4.1 Characteristics of the CB3T Family
        1. 5.4.1.1 VO vs VI
        2. 5.4.1.2 ron vs VI
        3. 5.4.1.3 Operation at High Frequency
      2. 5.4.2 Application of the CB3T Family
        1. 5.4.2.1 Voltage Translation for an External Monitor Terminal in a Notebook PC
  7. 6Applications
    1. 6.1 Multiplexing USB Peripherals
    2. 6.2 Multiplexing Ethernet
    3. 6.3 Notebook Docking Station
  8. 7Conclusion
  9. 8References
  10. 9Revision History
  11.   A Test Measurement Circuits
    1.     A.1 Measurement Setup for ron
    2.     A.2 Measurement Setup for VO vs VI Characteristics
    3.     A.3 Voltage-Time Waveform Measurement (Switch On)
    4.     A.4 Voltage-Time Waveform Measurement (Switch Off)
    5.     A.5 Output-Skew Measurement
    6.     A.6 Simulation Setup for Undershoot Measurement
    7.     A.7 Laboratory Setup for Attenuation Measurement
    8.     A.8 Laboratory Setup for Off Isolation Measurement
    9.     A.9 Laboratory Setup for Crosstalk Measurement

Multiplexer in USB Applications

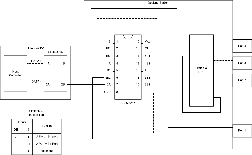
Figure 5-20 shows a USB 2.0 application in which a bus-switch device can be used. The first switch in a notebook PC is used to isolate between a notebook PC and the docking station. The switches on the docking station are used as a multiplexer to provide two different paths for the DATA+ and DATA– signals. If the operating system is Windows 95, the USB 2.0 hub is not supported. Switches 1 and 2 are on, and the USB line is connected directly to Port 1. Figure 5-21 shows the use of a CB3Q3257 in this type of application.

GUID-D69D45CB-28A1-4B2F-8123-B7FDA0AD3F7C-low.gifFigure 5-20 Multiplexing in a USB Application
GUID-DC27FDC6-278B-44D0-9E04-F2B5D95A5EB6-low.gifFigure 5-21 CB3Q3257 in a USB Application

DATA+ signal path is shown as a dotted line and the DATA– signal is shown as a solid line. The DATA+ signal goes to 1A. Depending on the select signal (S) levels, the output can be 1B1 or 1B2. When S is low, DATA+ from the host controller is connected to the port through the USB 2.0 hub (1A → 1B1 → USB 2.0 Hub → 3B1 → 3A → Port 1). When S is high, the DATA+ is connected to port 1 directly (1A → 1B2 → 3B2 → 3A). Similarly, DATA– uses the 2A, 2B1, 2B2 and 4A, 4B1, 4B2 switches for connecting to port 1.