SPRUI33H November 2015 – June 2024 TMS320F280040-Q1 , TMS320F280040C-Q1 , TMS320F280041 , TMS320F280041-Q1 , TMS320F280041C , TMS320F280041C-Q1 , TMS320F280045 , TMS320F280048-Q1 , TMS320F280048C-Q1 , TMS320F280049 , TMS320F280049-Q1 , TMS320F280049C , TMS320F280049C-Q1
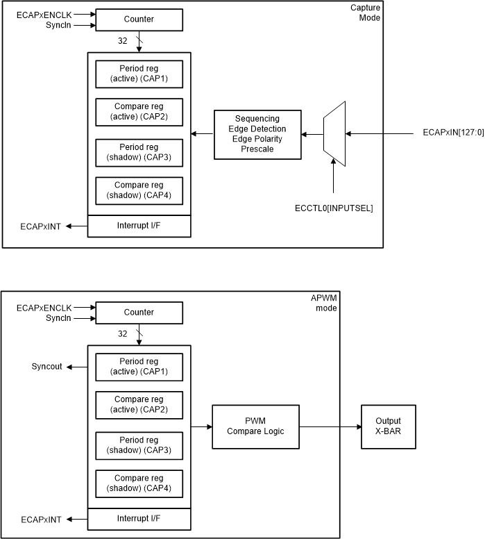
Use the eCAP module resources to implement a single-channel PWM generator (with 32-bit capabilities) when the eCAP module is not being used for input captures. The counter operates in count-up mode, providing a time-base for asymmetrical pulse width modulation (PWM) waveforms. The CAP1 and CAP2 registers become the active period and compare registers, respectively, while CAP3 and CAP4 registers become the period and compare shadow registers, respectively. Figure 19-1 is a high-level view of both the capture and auxiliary pulse-width modulator (APWM) modes of operation.
Figure 19-2 further descries the output of the eCAP in APWM mode based on the CMP and PRD values.
Figure 19-2 Counter Compare and PRD
Effects on the eCAP Output in APWM Mode