JAJSFZ5Q June 2007 – August 2022 TMS320F28232 , TMS320F28232-Q1 , TMS320F28234 , TMS320F28234-Q1 , TMS320F28235 , TMS320F28235-Q1 , TMS320F28332 , TMS320F28333 , TMS320F28334 , TMS320F28335 , TMS320F28335-Q1
PRODUCTION DATA
デバイスごとのパッケージ図は、PDF版データシートをご参照ください。
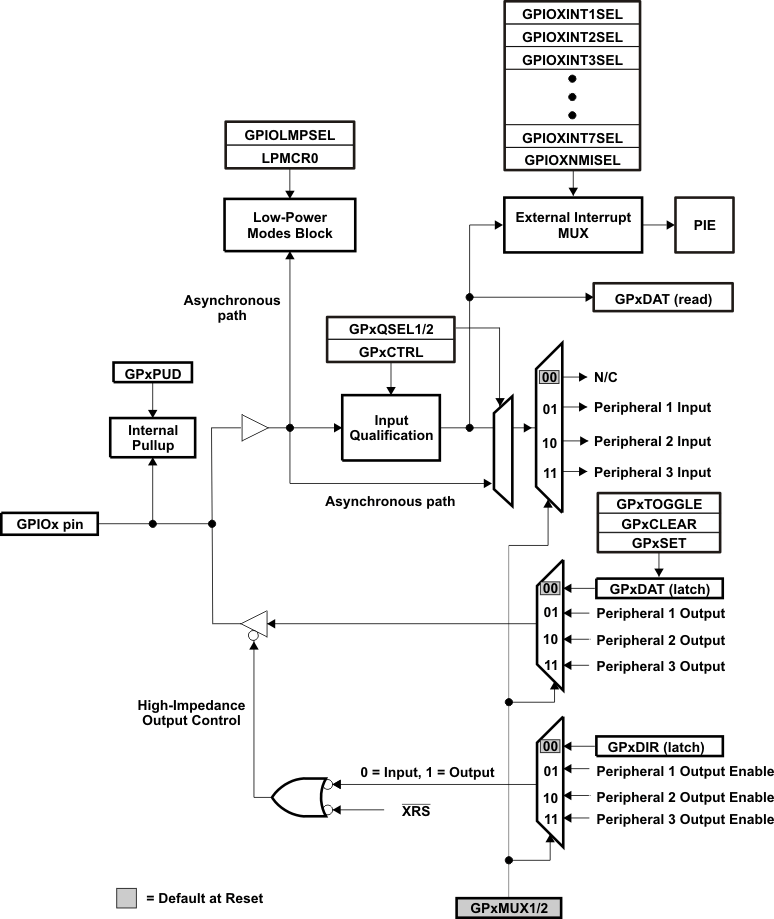
2833x/2823x デバイスでは、GPIO MUX (マルチプレクサ) は 1 つの GPIO ピンに対して最大 3 つの独立したペリフェラル信号を多重化でき、さらに個別のピンでのビット・バンギングによる I/O 機能も提供します。図 8-18 に、ピンごとの GPIO MUX ブロック図 を示します。I2C ピンのオープン・ドレイン機能により、これらのピンの GPIO MUX ブロック図が異なっています。 詳細 については、『TMS320x2833x、TMS320x2823x リアルタイム・マイクロコントローラ・テクニカル・リファレンス・マニュアル』 の「システム制御および割り込み」の章を参照してください。
GPxMUXn および GPxQSELn レジスタへの書き込みを行ってからその動作が有効になるまでには、2 SYSCLKOUT サイクルの遅延があります。

このデバイスは、88 本の GPIO ピンを備えています。GPIO 制御レジスタとデータ・レジスタは、ペリフェラル・フレーム 1 にマップされ、レジスタで (16 ビット動作とともに) 32 ビット動作が可能になります。表 8-17 に、GPIO レジスタのマッピングを示します。
| 名称 | アドレス | サイズ (x16) | 説明 |
|---|---|---|---|
| GPIO 制御レジスタ (EALLOW 保護) | |||
| GPACTRL | 0x6F80 | 2 | GPIO A 制御レジスタ (GPIO0~31) |
| GPAQSEL1 | 0x6F82 | 2 | GPIO A フィルタ選択 1 レジスタ (GPIO0~15) |
| GPAQSEL2 | 0x6F84 | 2 | GPIO A フィルタ選択 2 レジスタ (GPIO16~31) |
| GPAMUX1 | 0x6F86 | 2 | GPIO A MUX 1 レジスタ (GPIO0~15) |
| GPAMUX2 | 0x6F88 | 2 | GPIO A MUX 2 レジスタ (GPIO16~31) |
| GPADIR | 0x6F8A | 2 | GPIO A 方向レジスタ (GPIO0~31) |
| GPAPUD | 0x6F8C | 2 | GPIO A プルアップ・ディセーブル・レジスタ (GPIO0~31) |
| 予約済み | 0x6F8E~0x6F8F | 2 | |
| GPBCTRL | 0x6F90 | 2 | GPIO B 制御レジスタ (GPIO32~63) |
| GPBQSEL1 | 0x6F92 | 2 | GPIO B フィルタ選択 1 レジスタ (GPIO32~47) |
| GPBQSEL2 | 0x6F94 | 2 | GPIOB フィルタ選択 2 レジスタ (GPIO48~63) |
| GPBMUX1 | 0x6F96 | 2 | GPIO B MUX 1 レジスタ (GPIO32~47) |
| GPBMUX2 | 0x6F98 | 2 | GPIO B MUX 2 レジスタ (GPIO48~63) |
| GPBDIR | 0x6F9A | 2 | GPIO B 方向レジスタ (GPIO32~63) |
| GPBPUD | 0x6F9C | 2 | GPIO B プルアップ・ディセーブル・レジスタ (GPIO32~63) |
| 予約済み | 0x6F9E~0x6FA5 | 8 | |
| GPCMUX1 | 0x6FA6 | 2 | GPIO C MUX1 レジスタ (GPIO64~79) |
| GPCMUX2 | 0x6FA8 | 2 | GPIO C MUX2 レジスタ (GPIO80~87) |
| GPCDIR | 0x6FAA | 2 | GPIO C 方向レジスタ (GPIO64~87) |
| GPCPUD | 0x6FAC | 2 | GPIO C プルアップ・ディセーブル・レジスタ (GPIO64~87) |
| 予約済み | 0x6FAE~0x6FBF | 18 | |
| GPIO データ・レジスタ (EALLOW 保護なし) | |||
| GPADAT | 0x6FC0 | 2 | GPIO A データ・レジスタ (GPIO0~31) |
| GPASET | 0x6FC2 | 2 | GPIO A データ・セット・レジスタ (GPIO0~31) |
| GPACLEAR | 0x6FC4 | 2 | GPIO A データ・クリア・レジスタ (GPIO0~31) |
| GPATOGGLE | 0x6FC6 | 2 | GPIO A データ・トグル・レジスタ (GPIO0~31) |
| GPBDAT | 0x6FC8 | 2 | GPIO B データ・レジスタ (GPIO32~63) |
| GPBSET | 0x6FCA | 2 | GPIO B データ・セット・レジスタ (GPIO32 ~ 63) |
| GPBCLEAR | 0x6FCC | 2 | GPIO B データ・クリア・レジスタ (GPIO32~63) |
| GPBTOGGLE | 0x6FCE | 2 | GPIOB データ・トグル・レジスタ (GPIO32~63) |
| GPCDAT | 0x6FD0 | 2 | GPIO C データ・レジスタ (GPIO64~87) |
| GPCSET | 0x6FD2 | 2 | GPIO C データ・セット・レジスタ (GPIO64~87) |
| GPCCLEAR | 0x6FD4 | 2 | GPIO C データ・クリア・レジスタ (GPIO64~87) |
| GPCTOGGLE | 0x6FD6 | 2 | GPIO C データ・トグル・レジスタ (GPIO64~87) |
| 予約済み | 0x6FD8~0x6FDF | 8 | |
| GPIO 割り込みおよび低消費電力モード選択レジスタ (EALLOW 保護) | |||
| GPIOXINT1SEL | 0x6FE0 | 1 | XINT1 GPIO 入力選択レジスタ (GPIO0~31) |
| GPIOXINT2SEL | 0x6FE1 | 1 | XINT2 GPIO 入力選択レジスタ (GPIO0~31) |
| GPIOXNMISEL | 0x6FE2 | 1 | XNMI GPIO 入力選択レジスタ (GPIO0~31) |
| GPIOXINT3SEL | 0x6FE3 | 1 | XINT3 GPIO 入力選択レジスタ (GPIO32~63) |
| GPIOXINT4SEL | 0x6FE4 | 1 | XINT4 GPIO 入力選択レジスタ (GPIO32~63) |
| GPIOXINT5SEL | 0x6FE5 | 1 | XINT5 GPIO 入力選択レジスタ (GPIO32~63) |
| GPIOXINT6SEL | 0x6FE6 | 1 | XINT6 GPIO 入力選択レジスタ (GPIO32~63) |
| GPIOINT7SEL | 0x6FE7 | 1 | XINT7 GPIO 入力選択レジスタ (GPIO32~63) |
| GPIOLPMSEL | 0x6FE8 | 2 | LPM GPIO 選択レジスタ (GPIO0~31) |
| 予約済み | 0x6FEA~0x6FFF | 22 | |
| レジスタ・ビット | ペリフェラルの選択 | |||||
|---|---|---|---|---|---|---|
| GPADIR GPADAT GPASET GPACLR GPATOGGLE |
GPAMUX1 GPAQSEL1 |
GPIOx GPAMUX1 = 0、0 |
PER1 GPAMUX1 = 0、1 |
PER2 GPAMUX1 = 1、0 |
PER3 GPAMUX1 = 1、1 |
|
| QUALPRD0 | 0 | 1、0 | GPIO0 (I/O) | EPWM1A (O) | 予約済み | 予約済み |
| 1 | 3、2 | GPIO1 (I/O) | EPWM1B (O) | ECAP6 (I/O) | MFSRB (I/O) | |
| 2 | 5、4 | GPIO2 (I/O) | EPWM2A (O) | 予約済み | 予約済み | |
| 3 | 7、6 | GPIO3 (I/O) | EPWM2B (O) | ECAP5 (I/O) | MCLKRB (I/O) | |
| 4 | 9、8 | GPIO4 (I/O) | EPWM3A (O) | 予約済み | 予約済み | |
| 5 | 11、10 | GPIO5 (I/O) | EPWM3B (O) | MFSRA (I/O) | ECAP1 (I/O) | |
| 6 | 13、12 | GPIO6 (I/O) | EPWM4A (O) | EPWMSYNCI (I) | EPWMSYNCO (O) | |
| 7 | 15、14 | GPIO7 (I/O) | EPWM4B (O) | MCLKRA (I/O) | ECAP2 (I/O) | |
| QUALPRD1 | 8 | 17、16 | GPIO8 (I/O) | EPWM5A (O) | CANTXB (O) | ADCSOCAO (O) |
| 9 | 19、18 | GPIO9 (I/O) | EPWM5B (O) | SCITXDB (O) | ECAP3 (I/O) | |
| 10 | 21、20 | GPIO10 (I/O) | EPWM6A (O) | CANRXB (I) | ADCSOCBO (O) | |
| 11 | 23、22 | GPIO11 (I/O) | EPWM6B (O) | SCIRXDB (I) | ECAP4 (I/O) | |
| 12 | 25、24 | GPIO12 (I/O) | TZ1 (I) | CANTXB (O) | MDXB (O) | |
| 13 | 27、26 | GPIO13 (I/O) | TZ2 (I) | CANRXB (I) | MDRB (I) | |
| 14 | 29、28 | GPIO14 (I/O) | TZ3 (I)/ XHOLD (I) | SCITXDB (O) | MCLKXB (I/O) | |
| 15 | 31、30 | GPIO15 (I/O) | TZ4 (I)/ XHOLDA (O) | SCIRXDB (I) | MFSXB (I/O) | |
| GPAMUX2 GPAQSEL2 |
GPAMUX2 = 0、0 | GPAMUX2 = 0、1 | GPAMUX2 = 1、0 | GPAMUX2 = 1、1 | ||
| QUALPRD2 | 16 | 1、0 | GPIO16 (I/O) | SPISIMOA (I/O) | CANTXB (O) | TZ5 (I) |
| 17 | 3、2 | GPIO17 (I/O) | SPISOMIA (I/O) | CANRXB (I) | TZ6 (I) | |
| 18 | 5、4 | GPIO18 (I/O) | SPICLKA (I/O) | SCITXDB (O) | CANRXA (I) | |
| 19 | 7、6 | GPIO19 (I/O) | SPISTEA (I/O) | SCIRXDB (I) | CANTXA (O) | |
| 20 | 9、8 | GPIO20 (I/O) | EQEP1A (I) | MDXA (O) | CANTXB (O) | |
| 21 | 11、10 | GPIO21 (I/O) | EQEP1B (I) | MDRA (I) | CANRXB (I) | |
| 22 | 13、12 | GPIO22 (I/O) | EQEP1S (I/O) | MCLKXA (I/O) | SCITXDB (O) | |
| 23 | 15、14 | GPIO23 (I/O) | EQEP1I (I/O) | MFSXA (I/O) | SCIRXDB (I) | |
| QUALPRD3 | 24 | 17、16 | GPIO24 (I/O) | ECAP1 (I/O) | EQEP2A (I) | MDXB (O) |
| 25 | 19、18 | GPIO25 (I/O) | ECAP2 (I/O) | EQEP2B (I) | MDRB (I) | |
| 26 | 21、20 | GPIO26 (I/O) | ECAP3 (I/O) | EQEP2I (I/O) | MCLKXB (I/O) | |
| 27 | 23、22 | GPIO27 (I/O) | ECAP4 (I/O) | EQEP2S (I/O) | MFSXB (I/O) | |
| 28 | 25、24 | GPIO28 (I/O) | SCIRXDA (I) | XZCS6 (O) | ||
| 29 | 27、26 | GPIO29 (I/O) | SCITXDA (O) | XA19 (O) | ||
| 30 | 29、28 | GPIO30 (I/O) | CANRXA (I) | XA18 (O) | ||
| 31 | 31、30 | GPIO31 (I/O) | CANTXA (O) | XA17 (O) | ||
| レジスタ・ビット | ペリフェラルの選択 | |||||
|---|---|---|---|---|---|---|
| GPBDIR GPBDAT GPBSET GPBCLR GPBTOGGLE |
GPBMUX1 GPBQSEL1 |
GPIOx GPBMUX1 = 0、0 |
PER1 GPBMUX1 = 0、1 |
PER2 GPBMUX1 = 1、0 |
PER3 GPBMUX1 = 1、1 |
|
| QUALPRD0 | 0 | 1、0 | GPIO32 (I/O) | SDAA (I/OC)(1) | EPWMSYNCI (I) | ADCSOCAO (O) |
| 1 | 3、2 | GPIO33 (I/O) | SCLA (I/OC)(1) | EPWMSYNCO (O) | ADCSOCBO (O) | |
| 2 | 5、4 | GPIO34 (I/O) | ECAP1 (I/O) | XREADY (I) | ||
| 3 | 7、6 | GPIO35 (I/O) | SCITXDA (O) | XR/ W (O) | ||
| 4 | 9、8 | GPIO36 (I/O) | SCIRXDA (I) | XZCS0 (O) | ||
| 5 | 11、10 | GPIO37 (I/O) | ECAP2 (I/O) | XZCS7 (O) | ||
| 6 | 13、12 | GPIO38 (I/O) | 予約済み | XWE0 (O) | ||
| 7 | 15、14 | GPIO39 (I/O) | XA16 (O) | |||
| QUALPRD1 | 8 | 17、16 | GPIO40 (I/O) | XA0/ XWE1 (O) | ||
| 9 | 19、18 | GPIO41 (I/O) | XA1 (O) | |||
| 10 | 21、20 | GPIO42 (I/O) | XA2 (O) | |||
| 11 | 23、22 | GPIO43 (I/O) | XA3 (O) | |||
| 12 | 25、24 | GPIO44 (I/O) | XA4 (O) | |||
| 13 | 27、26 | GPIO45 (I/O) | XA5 (O) | |||
| 14 | 29、28 | GPIO46 (I/O) | XA6 (O) | |||
| 15 | 31、30 | GPIO47 (I/O) | XA7 (O) | |||
| GPBMUX2 GPBQSEL2 |
GPBMUX2 = 0、0 | GPBMUX2 = 0、1 | GPBMUX2 = 1、0 | GPBMUX2 = 1、1 | ||
| QUALPRD2 | 16 | 1、0 | GPIO48 (I/O) | ECAP5 (I/O) | XD31 (I/O) | |
| 17 | 3、2 | GPIO49 (I/O) | ECAP6 (I/O) | XD30 (I/O) | ||
| 18 | 5、4 | GPIO50 (I/O) | EQEP1A (I) | XD29 (I/O) | ||
| 19 | 7、6 | GPIO51 (I/O) | EQEP1B (I) | XD28 (I/O) | ||
| 20 | 9、8 | GPIO52 (I/O) | EQEP1S (I/O) | XD27 (I/O) | ||
| 21 | 11、10 | GPIO53 (I/O) | EQEP1I (I/O) | XD26 (I/O) | ||
| 22 | 13、12 | GPIO54 (I/O) | SPISIMOA (I/O) | XD25 (I/O) | ||
| 23 | 15、14 | GPIO55 (I/O) | SPISOMIA (I/O) | XD24 (I/O) | ||
| QUALPRD3 | 24 | 17、16 | GPIO56 (I/O) | SPICLKA (I/O) | XD23 (I/O) | |
| 25 | 19、18 | GPIO57 (I/O) | SPISTEA (I/O) | XD22 (I/O) | ||
| 26 | 21、20 | GPIO58 (I/O) | MCLKRA (I/O) | XD21 (I/O) | ||
| 27 | 23、22 | GPIO59 (I/O) | MFSRA (I/O) | XD20 (I/O) | ||
| 28 | 25、24 | GPIO60 (I/O) | MCLKRB (I/O) | XD19 (I/O) | ||
| 29 | 27、26 | GPIO61 (I/O) | MFSRB (I/O) | XD18 (I/O) | ||
| 30 | 29、28 | GPIO62 (I/O) | SCIRXDC (I) | XD17 (I/O) | ||
| 31 | 31、30 | GPIO63 (I/O) | SCITXDC (O) | XD16 (I/O) | ||
| レジスタ・ビット | ペリフェラルの選択 | |||
|---|---|---|---|---|
| GPCDIR GPCDAT GPCSET GPCCLR GPCTOGGLE |
GPCMUX1 | GPIOx または PER1 GPCMUX1 = 0、0 または 0、1 |
PER2 または PER3 GPCMUX1 = 1、0 または 1、1 |
|
| フィルタなし | 0 | 1、0 | GPIO64 (I/O) | XD15 (I/O) |
| 1 | 3、2 | GPIO65 (I/O) | XD14 (I/O) | |
| 2 | 5、4 | GPIO66 (I/O) | XD13 (I/O) | |
| 3 | 7、6 | GPIO67 (I/O) | XD12 (I/O) | |
| 4 | 9、8 | GPIO68 (I/O) | XD11 (I/O) | |
| 5 | 11、10 | GPIO69 (I/O) | XD10 (I/O) | |
| 6 | 13、12 | GPIO70 (I/O) | XD9 (I/O) | |
| 7 | 15、14 | GPIO71 (I/O) | XD8 (I/O) | |
| フィルタなし | 8 | 17、16 | GPIO72 (I/O) | XD7 (I/O) |
| 9 | 19、18 | GPIO73 (I/O) | XD6 (I/O) | |
| 10 | 21、20 | GPIO74 (I/O) | XD5 (I/O) | |
| 11 | 23、22 | GPIO75 (I/O) | XD4 (I/O) | |
| 12 | 25、24 | GPIO76 (I/O) | XD3 (I/O) | |
| 13 | 27、26 | GPIO77 (I/O) | XD2 (I/O) | |
| 14 | 29、28 | GPIO78 (I/O) | XD1 (I/O) | |
| 15 | 31、30 | GPIO79 (I/O) | XD0 (I/O) | |
| GPCMUX2 | GPCMUX2 = 0、0 または 0、1 | GPCMUX2 = 1、0 または 1、1 | ||
| フィルタなし | 16 | 1、0 | GPIO80 (I/O) | XA8 (O) |
| 17 | 3、2 | GPIO81 (I/O) | XA9 (O) | |
| 18 | 5、4 | GPIO82 (I/O) | XA10 (O) | |
| 19 | 7、6 | GPIO83 (I/O) | XA11 (O) | |
| 20 | 9、8 | GPIO84 (I/O) | XA12 (O) | |
| 21 | 11、10 | GPIO85 (I/O) | XA13 (O) | |
| 22 | 13、12 | GPIO86 (I/O) | XA14 (O) | |
| 23 | 15、14 | GPIO87 (I/O) | XA15 (O) | |
ユーザーは、GPxQSEL1/2 レジスタを使って、各 GPIO ピンの入力フィルタのタイプを次の 4 つの選択肢から選択できます。
図 8-19 サンプリング・ウィンドウを使用したフィルタリングデバイスではマルチレベルの多重化が必要であるため、ペリフェラル入力信号を複数の GPIO ピンにマッピングできるようになっている場合があります。また、入力信号が選択されていない場合、ペリフェラルに応じて、その入力信号はデフォルトで 0 または 1 の状態になります。