JAJSGS5Q April   2009  – January 2024 TMS320F28030 , TMS320F28030-Q1 , TMS320F28031 , TMS320F28031-Q1 , TMS320F28032 , TMS320F28032-Q1 , TMS320F28033 , TMS320F28033-Q1 , TMS320F28034 , TMS320F28034-Q1 , TMS320F28035 , TMS320F28035-Q1

PRODUCTION DATA  

  1.   1
  2. 特長
  3. アプリケーション
  4. 概要
    1. 3.1 機能ブロック図
  5. デバイスの比較
    1. 4.1 関連製品
  6. ピン構成と機能
    1. 5.1 ピン構造図
    2. 5.2 信号概要
  7. 仕様
    1. 6.1  絶対最大定格
    2. 6.2  ESD 定格 – 車載用
    3. 6.3  ESD 定格 – 民生用
    4. 6.4  推奨動作条件
    5. 6.5  消費電力の概略
      1. 6.5.1 TMS320F2803x の消費電流 (60MHz の SYSCLKOUT)
      2. 6.5.2 消費電流の低減
      3. 6.5.3 消費電流グラフ (VREG 有効)
    6. 6.6  電気的特性
    7. 6.7  熱抵抗特性
      1. 6.7.1 PN パッケージ
      2. 6.7.2 PAG パッケージ
      3. 6.7.3 RSH パッケージ
    8. 6.8  熱設計の検討事項
    9. 6.9  MCU との JTAG デバッグ プローブ接続 (信号バッファリングなし)
    10. 6.10 パラメータ情報
      1. 6.10.1 タイミング パラメータの記号
      2. 6.10.2 タイミング パラメータに関する一般的な注意事項
    11. 6.11 テスト負荷回路
    12. 6.12 電源シーケンス
      1. 6.12.1 リセット (XRS) のタイミング要件
      2. 6.12.2 リセット (XRS) のスイッチング特性
    13. 6.13 クロック仕様
      1. 6.13.1 デバイス クロック表
        1. 6.13.1.1 2803x のクロックの一覧表 (60MHz デバイス)
        2. 6.13.1.2 デバイス クロック要件 / 特性
        3. 6.13.1.3 内部のゼロ ピン発振器 (INTOSC1、INTOSC2) の特性
      2. 6.13.2 クロックの要件および特性
        1. 6.13.2.1 XCLKIN のタイミング要件 – PLL 有効
        2. 6.13.2.2 XCLKIN のタイミング要件 – PLL 無効
        3. 6.13.2.3 XCLKOUT のスイッチング特性 (PLL バイパスまたは有効)
    14. 6.14 フラッシュ のタイミング
      1. 6.14.1 T 温度仕様品のフラッシュ / OTP 耐久性
      2. 6.14.2 S 温度仕様品のフラッシュ / OTP 耐久性
      3. 6.14.3 Q 温度仕様品のフラッシュ / OTP 耐久性
      4. 6.14.4 60MHz SYSCLKOUT でのフラッシュ パラメータ
      5. 6.14.5 フラッシュ / OTP のアクセス タイミング
      6. 6.14.6 フラッシュ データ保持期間
  8. 詳細説明
    1. 7.1 概要
      1. 7.1.1  CPU
      2. 7.1.2  制御補償器アクセラレータ (CLA)
      3. 7.1.3  メモリ バス (ハーバード バス アーキテクチャ)
      4. 7.1.4  ペリフェラル バス
      5. 7.1.5  リアルタイムの JTAG および分析
      6. 7.1.6  フラッシュ
      7. 7.1.7  M0、M1 SARAM
      8. 7.1.8  L0 SARAM、L1、L2、L3 DPSARAM
      9. 7.1.9  ブート ROM
        1. 7.1.9.1 エミュレーション ブート
        2. 7.1.9.2 GetMode
        3. 7.1.9.3 ブートローダが使用するペリフェラル ピン
      10. 7.1.10 セキュリティ
      11. 7.1.11 ペリフェラル割り込み拡張 (PIE) ブロック
      12. 7.1.12 外部割り込み (XINT1~XINT3)
      13. 7.1.13 内部ゼロ ピン発振器、発振器、PLL
      14. 7.1.14 ウォッチドッグ
      15. 7.1.15 ペリフェラルのクロック駆動
      16. 7.1.16 低消費電力モード
      17. 7.1.17 ペリフェラル フレーム 0、1、2、3 (PFn)
      18. 7.1.18 汎用入出力 (GPIO) マルチプレクサ (MUX)
      19. 7.1.19 32 ビット CPU タイマ (0、1、2)
      20. 7.1.20 制御ペリフェラル
      21. 7.1.21 シリアル ポート ペリフェラル
    2. 7.2 メモリ マップ
    3. 7.3 レジスタ マップ
    4. 7.4 デバイス エミュレーション レジスタ
    5. 7.5 VREG/BOR/POR
      1. 7.5.1 オンチップ電圧レギュレータ (VREG)
        1. 7.5.1.1 オンチップ VREG の使い方
        2. 7.5.1.2 オンチップ VREG の無効化
      2. 7.5.2 オンチップ パワーオン リセット (POR) およびブラウンアウト リセット (BOR) 回路
    6. 7.6 システム コントロール
      1. 7.6.1 内部ゼロ ピン発振器
      2. 7.6.2 水晶発振器オプション
      3. 7.6.3 PLL ベース クロック モジュール
      4. 7.6.4 入力クロックの喪失 (NMI ウォッチドッグ機能)
      5. 7.6.5 CPU ウォッチドッグ モジュール
    7. 7.7 低消費電力モード ブロック
    8. 7.8 割り込み
      1. 7.8.1 外部割り込み
        1. 7.8.1.1 外部割り込みの電気的データ / タイミング
          1. 7.8.1.1.1 外部割り込みのタイミング要件
          2. 7.8.1.1.2 外部割り込みのスイッチング特性
    9. 7.9 ペリフェラル
      1. 7.9.1  制御補償器アクセラレータ (CLA) の概要
      2. 7.9.2  アナログ ブロック
        1. 7.9.2.1 A/D コンバータ (ADC)
          1. 7.9.2.1.1 特長
          2. 7.9.2.1.2 ADC 変換開始の電気的データ / タイミング
            1. 7.9.2.1.2.1 外部 ADC 変換開始のスイッチング特性
          3. 7.9.2.1.3 オンチップ A/D コンバータ (ADC) の電気的データ / タイミング
            1. 7.9.2.1.3.1 ADC の電気的特性
            2. 7.9.2.1.3.2 ADC の電力モード
            3. 7.9.2.1.3.3 内部温度センサ
              1. 7.9.2.1.3.3.1 温度センサ係数
            4. 7.9.2.1.3.4 ADC パワーアップ制御ビットのタイミング
              1. 7.9.2.1.3.4.1 ADC パワーアップ遅延
            5. 7.9.2.1.3.5 ADC のシーケンシャルおよび同時タイミング
        2. 7.9.2.2 ADC MUX
        3. 7.9.2.3 コンパレータ ブロック
          1. 7.9.2.3.1 オンチップ・コンパレータ / DAC の電気的データ / タイミング
            1. 7.9.2.3.1.1 コンパレータ / DAC の電気的特性
      3. 7.9.3  詳細説明
      4. 7.9.4  シリアル ペリフェラル インターフェイス (SPI) モジュール
        1. 7.9.4.1 SPI マスタ モードの電気的データ / タイミング
          1. 7.9.4.1.1 SPI マスタ モードの外部タイミング (クロック位相 = 0)
          2. 7.9.4.1.2 SPI マスタ モードの外部タイミング (クロック位相 = 1)
        2. 7.9.4.2 SPI スレーブ モードの電気的データ / タイミング
          1. 7.9.4.2.1 SPI スレーブ モードの外部タイミング (クロック位相 = 0)
          2. 7.9.4.2.2 SPI スレーブ モードの外部タイミング (クロック位相 = 1)
      5. 7.9.5  シリアル通信インターフェイス (SCI) モジュール
      6. 7.9.6  LIN (Local Interconnect Network)
      7. 7.9.7  拡張コントローラ エリア ネットワーク (eCAN) モジュール
      8. 7.9.8  I2C (Inter-Integrated Circuit)
        1. 7.9.8.1 I2C の電気的データ / タイミング
          1. 7.9.8.1.1 I2C のタイミング要件
          2. 7.9.8.1.2 I2C のスイッチング特性
      9. 7.9.9  エンハンスド PWM モジュール (ePWM1/2/3/4/5/6/7)
        1. 7.9.9.1 ePWM の電気的データ / タイミング
          1. 7.9.9.1.1 ePWM のタイミング要件
          2. 7.9.9.1.2 ePWM のスイッチング特性
        2. 7.9.9.2 トリップ ゾーン入力のタイミング
          1. 7.9.9.2.1 トリップ ゾーン入力のタイミング要件
      10. 7.9.10 高分解能 PWM (HRPWM)
        1. 7.9.10.1 HRPWM の電気的データ / タイミング
          1. 7.9.10.1.1 高分解能 PWM の特性
      11. 7.9.11 拡張キャプチャ モジュール (eCAP1)
        1. 7.9.11.1 eCAP の電気的データ / タイミング
          1. 7.9.11.1.1 拡張キャプチャ (eCAP) のタイミング要件
          2. 7.9.11.1.2 eCAP のスイッチング特性
      12. 7.9.12 高分解能キャプチャ (HRCAP) モジュール
        1. 7.9.12.1 HRCAP の電気的データ / タイミング
          1. 7.9.12.1.1 高分解能キャプチャ (HRCAP) のタイミング要件
      13. 7.9.13 拡張直交エンコーダ パルス (eQEP)
        1. 7.9.13.1 eQEP の電気的データ / タイミング
          1. 7.9.13.1.1 拡張直交エンコーダ パルス (eQEP) のタイミング要件
          2. 7.9.13.1.2 eQEP のスイッチング特性
      14. 7.9.14 JTAG ポート
      15. 7.9.15 汎用入出力 (GPIO) MUX
        1. 7.9.15.1 GPIO の電気的データ / タイミング
          1. 7.9.15.1.1 GPIO - 出力タイミング
            1. 7.9.15.1.1.1 汎用出力のスイッチング特性
          2. 7.9.15.1.2 GPIO - 入力タイミング
            1. 7.9.15.1.2.1 汎用入力のタイミング要件
          3. 7.9.15.1.3 入力信号のサンプリング ウィンドウ幅
          4. 7.9.15.1.4 低消費電力モードのウェイクアップ タイミング
            1. 7.9.15.1.4.1 アイドル モードのタイミング要件
            2. 7.9.15.1.4.2 IDLE モードのスイッチング特性
            3. 7.9.15.1.4.3 スタンバイ モードのタイミング要件
            4. 7.9.15.1.4.4 スタンバイ モードのスイッチング特性
            5. 7.9.15.1.4.5 ホールト モードのタイミング要件
            6. 7.9.15.1.4.6 ホールト モードのスイッチング特性
  9. アプリケーション、実装、およびレイアウト
    1. 8.1 テキサス・インスツルメンツのリファレンス・デザイン
  10. デバイスおよびドキュメントのサポート
    1. 9.1 デバイスと開発ツールの命名法
    2. 9.2 ツールとソフトウェア
    3. 9.3 ドキュメントのサポート
    4. 9.4 サポート・リソース
    5. 9.5 商標
    6. 9.6 静電気放電に関する注意事項
    7. 9.7 用語集
  11. 10改訂履歴
  12. 11メカニカル、パッケージ、および注文情報
    1. 11.1 パッケージ情報

パッケージ・オプション

メカニカル・データ(パッケージ|ピン)
サーマルパッド・メカニカル・データ
発注情報

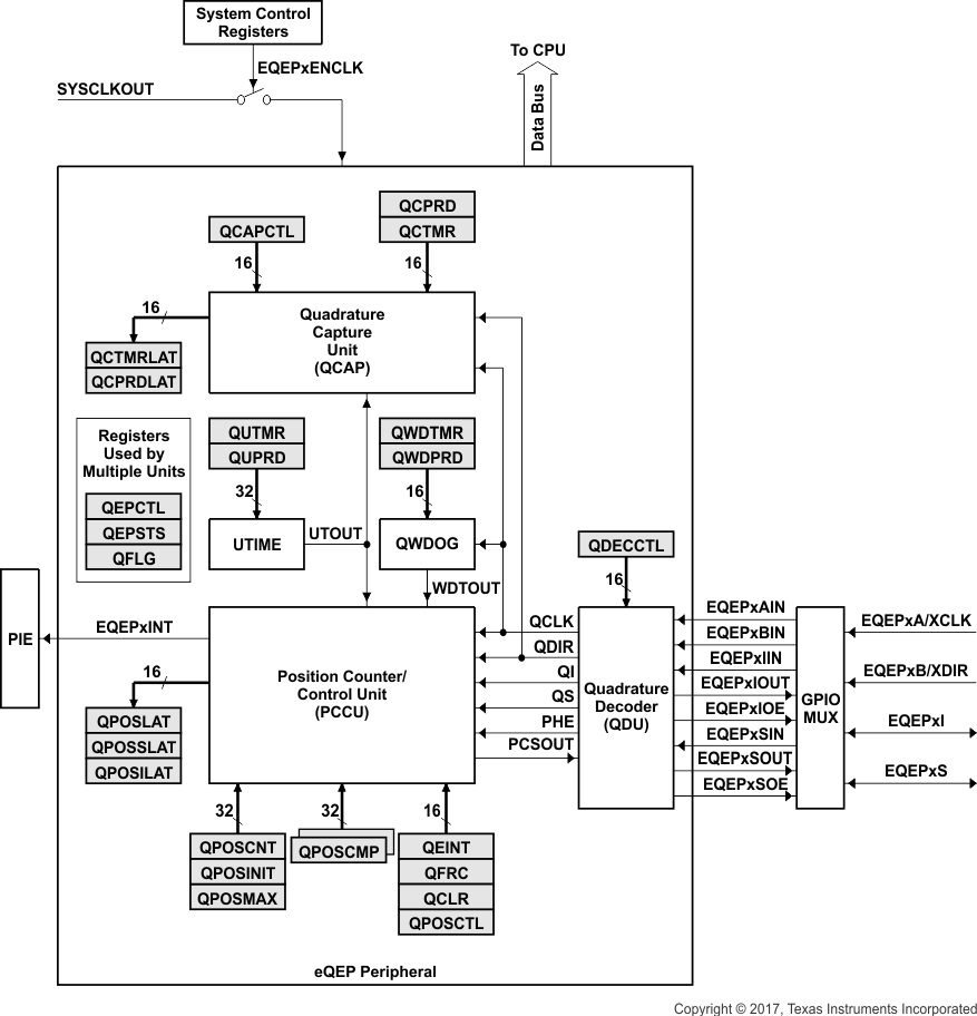
拡張直交エンコーダ パルス (eQEP)

本デバイスは、1 つの拡張直交エンコーダ パルス (eQEP) モジュールを内蔵しています。

表 7-38 eQEP 制御およびステータス レジスタ
名称eQEP1
アドレス
eQEP1
サイズ (x16)/
#SHADOW
レジスタの説明
QPOSCNT0x6B002/0eQEP 位置カウンタ
QPOSINIT0x6B022/0eQEP 初期化位置カウント
QPOSMAX0x6B042/0eQEP 最大位置カウント
QPOSCMP0x6B062/1eQEP 位置比較
QPOSILAT0x6B082/0eQEP インデックス位置ラッチ
QPOSSLAT0x6B0A2/0eQEP ストローブ位置ラッチ
QPOSLAT0x6B0C2/0eQEP 位置ラッチ
QUTMR0x6B0E2/0eQEP ユニット タイマ
QUPRD0x6B102/0eQEP ユニット周期レジスタ
QWDTMR0x6B121/0eQEP ウォッチドッグ タイマ
QWDPRD0x6B131/0eQEP ウォッチドッグ周期レジスタ
QDECCTL0x6B141/0eQEP デコーダ制御レジスタ
QEPCTL0x6B151/0eQEP 制御レジスタ
QCAPCTL0x6B161/0eQEP キャプチャ制御レジスタ
QPOSCTL0x6B171/0eQEP 位置比較制御レジスタ
QEINT0x6B181/0eQEP 割り込みイネーブル レジスタ
QFLG0x6B191/0eQEP 割り込みフラグ レジスタ
QCLR0x6B1A1/0eQEP 割り込みクリア レジスタ
QFRC0x6B1B1/0eQEP 割り込み強制レジスタ
QEPSTS0x6B1C1/0eQEP ステータス レジスタ
QCTMR0x6B1D1/0eQEP キャプチャ タイマ
QCPRD0x6B1E1/0eQEP キャプチャ周期レジスタ
QCTMRLAT0x6B1F1/0eQEP キャプチャ タイマ ラッチ
QCPRDLAT0x6B201/0eQEP キャプチャ周期ラッチ
予約済み0x6B21~0x6B3F31/0

eQEP の詳細については、TMS320F2803x リアルタイム マイクロコントローラ テクニカル リファレンス マニュアル』の「拡張 QEP (eQEP) モジュール」の章を参照してください。

図 7-43 に、eQEP の機能ブロック図を示します。

GUID-0423E367-18CC-4F74-8F82-DC9A7BF4D0D0-low.gif図 7-43 eQEP の機能ブロック図