SPRUIU1D July 2020 – December 2024 DRA821U , DRA821U-Q1
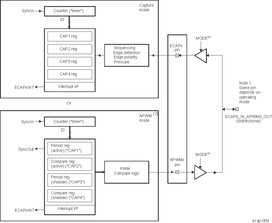
The ECAP module resources can be used to implement a single-channel PWM generator (with 32-bit capabilities) when it is not being used for input captures. The counter operates in count-up mode, providing a time-base for asymmetrical pulse width modulation (PWM) waveforms. The ECAP_CAP1 and ECAP_CAP2 registers become the active period and compare registers, respectively, while the ECAP_CAP3 and ECAP_CAP4 registers become the period and capture shadow registers, respectively. Figure 12-2569 is a high-level view of both the capture and auxiliary pulse-width modulator (APWM) modes of operation.
